Для студентов ТюмГАСУ по предмету Механика жидкости и газа (МЖГ или Гидравлика)Определить удельный вес жидкости, не смешивающейся с водой и находящейся в левом колене U - образной стеклянной трубки на высоте h=3,4 м над границей Определить удельный вес жидкости, не смешивающейся с водой и находящейся в левом колене U - образной стеклянной трубки на высоте h=3,4 м над границей
5,00532
2019-01-212024-10-16СтудИзба
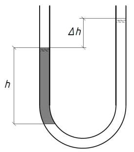
Определить удельный вес жидкости, не смешивающейся с водой и находящейся в левом колене U - образной стеклянной трубки на высоте h=3,4 м над границей раздела жидкости и воды. Вода налита в правую часть трубки. Разность уровней жидкости и воды в колен
Описание
Определить удельный вес жидкости, не смешивающейся с водой и находящейся в левом колене U - образной стеклянной трубки на высоте h=3,4 м над границей раздела жидкости и воды. Вода налита в правую часть трубки. Разность уровней жидкости и воды в коленах трубки Δh=46 см. Плотность воды принять r =1000 кг/м3.
Решение с пояснениями.

Характеристики решённой задачи
Учебное заведение
Номер задания
Вариант
Программы
Теги
Просмотров
713
Качество
Идеальное компьютерное
Размер
16,95 Kb
Список файлов
Вариант №5.docx
