диплом (1234087), страница 6
Текст из файла (страница 6)
Недостатком данного способа является отсутствие возможности извлечения и отведения биогаза для утилизации до окончания формирования массива отходов, а также ухудшение экологической обстановки при выбросе биогаза в атмосферу.
Технический результат предлагаемого изобретения заключается в снижении вредного воздействия на окружающую среду за счет снижения выбросов в атмосферу и отвода биогаза на утилизацию при эксплуатации полигона ТБО одновременно с размещением отходов и осуществлением мероприятий по регулированию и очистке фильтрата с использованием многослойного противофильтрационного экрана с фильтрующим верхним слоем.
Указанный технический результат достигается тем, что в способе сбора и отвода биогаза на полигоне твердых бытовых и промышленных отходов, включающий подготовку основания, монтаж системы вертикального газового дренажа из сети распределенных по площади полигона скважин, собранных из секций и имеющих перфорированные стенки, послойную укладку отходов, наращивание скважин на высоту каждого слоя отходов с применением скользящей опалубки, перекрытие заглушками верхних концов скважин вертикального газового дренажа в каждом цикле наращивания. при этом отвод биогаза из вертикального газового дренажа осуществляют но трубчатым дренам горизонтального дренажа, расположенного в основании полигона. При этом нижние секции труб скважин вертикального газового дренажа выполняют сплошными и присоединяют к дренажным колодцам горизонтальных трубчатых дрен, а верхний конец нижней секции скважины вертикального газового дренажа располагают выше уровня фильтрата над противофильтрационным экраном.
Соединения между секциями выполняют с возможностью взаимных угловых и линейных перемещений секций.
Колодцы, трубы и соединения элементов горизонтального и вертикальною дренажа выполняют из антикоррозионных материалов, например, из стеклопластика.
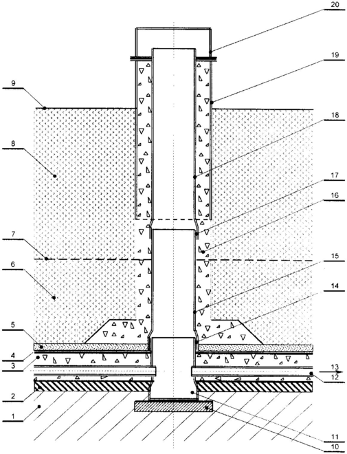
Сущность предлагаемого изобретения поясняется чертежом, где изображено сечение скважины вертикального газового дренажа с примыкающими горизонтальными трубчатыми дренами.
Полигон твердых бытовых и допускаемых для совместного с ними размещения промышленных отходов (полигон ТБО) оборудован многослойным противофильтрационным экраном. Полигон состоит из подготовленного грунтового основания 1; многослойного противофильтрационного экрана с нижним водоупорным слоем 2; дренажного прослоя 3 с трубчатыми дренами 12, верхнего фильтрующего слоя 4 и защитного слоя 5, системы распределенных по площади полигона фундаментов 10, на которых монтируют дренажные колодцы 11 с открытым верхним концом.
К колодцам 11 примыкают горизонтальные трубчатые дрены 12, по которым биогаз и фильтрат отводят к газосборному и дренажному коллекторам в направлении 13. К каждому дренажному колодцу 11 присоединены скважины вертикального газового дренажа, набираемые из секций (звеньев труб) 15, 18 с дренажной обсыпкой 16 вокруг них, создаваемой при помощи трубчатой скользящей опалубки 19, верхний конец которой перекрывают съемным колпаком-заглушкой 20.
Нижнюю секцию (нижнее звено трубы) 15 скважины вертикального газового дренажа выполняют сплошной без дренажных отверстий (без перфорации стенок) и герметично присоединяют к дренажному колодцу 11, а соединения между секциями скважины вертикального газового дренажа выполняют с возможностью взаимных угловых и линейных перемещений секций.
Слои уплотненных отходов находятся в водонасыщенной зоне 6 (ниже уровня фильтрата 7) и в ненасыщенной зоне 8 (выше уровня фильтрата).
При разложении органической составляющей отходов образуется биогаз. Сбор и отвод биогаза на полигоне ТБО производят следующим образом.
На территории полигона ТБО подготавливают основание 1, на котором монтируют распределенные по площади полигона фундаменты 10, на каждом из которых оборудуют дренажный колодец 11 с открытым верхним концом. На подготовленное основание 1 укладывают многослойный противофильтрационный экран с нижним водоупорным слоем 2, дренажным прослоем 3 с трубчатыми дренами 12, верхним фильтрующим слоем (мембраной заданной проницаемости) 4 и защитным слоем 5. В дренажном прослое 3 многослойного противофильтрационного экрана укладывают горизонтальные трубчатые дрены 12, примыкающие к дренажным колодцам 11 и предназначенные для отвода фильтрата. При этом нижние секции скважины вертикального газового дренажа совмещают с дренажными колодцами трубчатых дрен горизонтального дренажа в основании полигона. Ствол каждой скважины вертикального газового дренажа набирают звеньями 15, 18 и наращивают по мере формирования слоев отходов, при этом нижнее звено 15 выполняют сплошным, без дренажных отверстий (без перфорации стенок) и присоединяют к открытому верхнему концу дренажного колодца 11 с обеспечением герметичности соединения 14, а соединения 17 звеньев между собой выполняются с возможностью взаимных угловых и линейных перемещений секций (т.е. податливыми). Это позволит избежать деформаций (поломок) звеньев в процессе уплотнения отходов. Вокруг ствола скважины устраивают фильтрующую обсыпку 16 при помощи скользящей опалубки 19, представляющей собой отрезок трубы большого диаметра, верхний конец которой перекрывается съемным колпаком-заглушкой 20.
После укладки очередного слоя уплотненных отходов выполняют наращивание скважины вертикального газового дренажа: снимают колпак-заглушку 20, монтируют очередное звено трубы 18, приподнимают опалубку 19 на высоту наращивания, в кольцевое пространство между звеном 18 ствола скважины и опалубкой 19 засыпают материал фильтрующей обсыпки 16, устанавливают на верхнем конце скользящей опалубки и герметично уплотняют колпак-заглушку 20.
Под действием избыточного давления в теле полигона биогаз через фильтрующую обсыпку 16 и отверстия в стенках труб 15, 18 скважины вертикального газового дренажа проникает в ее внутреннюю полость, затем в дренажный колодец 11, откуда, но горизонтальной трубчатой дрене 12 в направлении 13 биогаз отводится к газосборному коллектору и далее для утилизации на газоэнергетическую установку или на факел. При необходимости для повышения эффективности удаления биогаза из массива отходов в полости скважины вертикального газового дренажа понижают давление относительно атмосферного известными способами, например при помощи газодувки.
Далее описанные циклы послойного наращивания повторяют до достижения проектной высоты полигона.
Применение предлагаемого способа сбора и отвода биогаза на полигоне ТБО позволяет обеспечить эффективное и безопасное хранение твердых бытовых и промышленных отходов, снижает загрязнение атмосферы за счет постоянного отвода и утилизации биогаза на протяжении всего срока эксплуатации полигона за счет использования для отвода биогаза надэкрановой дренажной системы, предназначенной для сбора и отвода фильтрата. Такое решение обеспечивает устойчивость газосборной системы независимо от осадок массива отходов, позволяет производить дегазацию массива отходов и отбор биогаза на утилизацию с момента начала образования биогаза параллельно с продолжением работ по складированию отходов.
Формула изобретения
1) Способ сбора и отвода биогаза на полигоне твердых бытовых и промышленных отходов с многослойным противофильтрационным экраном, включающий подготовку основания, монтаж системы вертикального газового дренажа из сети распределенных по площади полигона скважин, собранных из секций и имеющих перфорированные стенки, послойную укладку отходов, наращивание скважин на высоту каждого слоя отходов с применением скользящей опалубки, перекрытие заглушками верхних концов скважин вертикального газового дренажа в каждом цикле наращивания, отличающийся тем, что отвод биогаза из вертикального газового дренажа осуществляют по трубчатым дренам горизонтального дренажа, расположенного в основании полигона, при этом нижние секции труб скважин вертикального газового дренажа выполняют сплошными и присоединяют к дренажным колодцам горизонтальных трубчатых дрен, а верхний конец нижней секции скважины вертикального газового дренажа располагают выше уровня фильтрата над противофильтрационным экраном.
2) Способ по п.1, отличающийся тем, что соединения между секциями выполняют с возможностью взаимных угловых и линейных перемещений секций.
3) Способ по п.1, отличающийся тем, что колодцы, трубы и соединения элементов горизонтального и вертикального дренажа выполняют из антикоррозионных материалов, например из стеклопластика.
На данном рисунке (рисунок 4.6) подробно описана биогазовая установка.
Этапы работы биогазовой установки.
1) Доставка продуктов переработки и отходов в установку. Если отходы жидкие их целесообразно доставлять в реактор с помощью специализированных насосов. Более твердые отходы могут доставляться в реактор вручную, либо по средствам транспортной ленты. В некоторых случаях целесообразно подогреть отходы, дабы увеличить их скорость брожения и распада в биореакторе. Для подогрева отходов используется переходная емкость, в которой продукты переработки доводятся до нужной температуры.
2) Переработка в реакторе. После переходной емкости, подготовленные отходы попадают в реактор. Биореактор представляет собой герметичную конструкцию, изготовленную из особо прочной стали, либо из бетона, имеющего специальное, антикислотное покрытие. В обязательном порядке, реактор должен иметь идеальную тепловую и газовую изоляцию. Даже малейшее попадание воздуха или снижение температуры повлечет остановку процесса брожения и распада. Подогрев реактора осуществляется с помощью трубок с горячей водой. Нагрев воды происходит с помощью вырабатываемого биогаза. Реактор работает без доступа кислорода, в полностью замкнутой среде. Несколько раз в день, с помощью насоса в него можно добавлять новые порции перерабатываемого вещества. Оптимальный температурный режим реактора – около 40 градусов Цельсия. Если температура меньше, то процесс брожения существенно замедлится. Если увеличить температуру, то произойдет быстрое испарение воды, что не позволит отходам полностью распасться.
3) Выход готового продукта. По истечению определенного времени (от нескольких часов, до нескольких дней) появляются первые результаты брожения. Это биогаз и биологические удобрения. В итоге получившийся биогаз попадает в газгольдер (бак для хранения газа). Давление газа в газгольдеры регулируется с помощью клапанов. В случае чрезмерного давления будут задействованы аварийные горелки, которые попросту сожгут лишний газ, и тем самым стабилизируют давление. Получаемый биогаз нуждается в сжатии, после этого его можно использовать, как обычный природный газ. Отдельно следует сказать, что для поддержания работы биогазовой установки требуется около 15% получаемого газа. В свою очередь биологические удобрения попадают в специально подготовленный бак с сепаратором. Происходит разделение на твердые (биогумус) и жидкие удобрения. Биогумус составляет всего лишь около 5% от общего количества получаемых удобрений. Удобрения сразу могут быть использованы по назначению. Дополнительной переработки они не требуют. Работа биогазовой установки непрерывна, в реактор постоянно попадают новые порции перерабатываемого материала, а в газгольдер и сепараторный бак также постоянно попадает газ и биологические удобрения [19].
Рисунок 4.6 Биогазовая установка
1- основание; 2- многослойный противофильтрационный экран;
3- дренажная прослойка; 4- верхний фильтрующий слой;
5- защитный слой; 6- отходы; 7-; 8- отходы; 9-; 10- фундамент;
11- дренажный колодец; 12- горизонтальные трубчатые дрены;
13- направление, куда выходит биогаз; 14- герметичность соединения;
15- звенья; 16- дренажная обсыпка; 17- герметичность соединения;
18- звенья; 19- трубчатая скользящая опалубка;
20- съемный колпак-заглушка.
Биогаз и проблема изменения климата
В последнее время особую актуальность приобрели парниковые свойства метана, содержащегося в биогазе, в связи с проблемой изменения земного климата. Велика вероятность того, что в период с 2008 по 2012 годы вступит в силу так называемый Киотский протокол, в рамках которого развитые страны возьмут на себя обязательства по ограничению выбросов парниковых газов (ПГ), вторым по значению из которых (после углекислого газа) является метан (СН4).
Основной природный источник метана в атмосфере – микробиологический распад органических веществ в анаэробных условиях. Антропогенные источники, в сумме превышающие естественные примерно в два раза, включают технологию выращивания риса, животноводство, анаэробное разложение органики на свалках и в канализационных системах, утечки метана из угольных шахт, нефтяных и газовых месторождений, а также газотранспортных систем [18].
Оценки, сделанные в конце 1980х и 90х годах, показали, что общая эмиссия метана со свалок и полигонов на Земле составляет 3570 млн т/год, или 618% от его общего планетарного выброса в атмосферу. В середине 90х годов глобальная эмиссия метана со свалок была оценена экспертной группой Межправительственной комиссии по изменению климата в 40 млн т/год. При этом отмечалось, что данная величина превышает массу метана, выделяемого угольными шахтами. Комиссия включила свалочный метан в реестр основных ПГ планеты. В опубликованном в 2001 году третьем отчете Комиссии (рабочая группа 1) приводятся данные разных авторов, полученные в 19971999 годах. По этим данным эмиссия метана находится в диапазоне от 35 до 73 млн т/год.
















