диплом (1234087), страница 10
Текст из файла (страница 10)
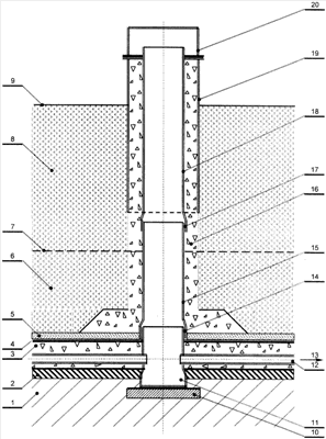
Сущность предлагаемого изобретения поясняется чертежом, где изображено сечение скважины вертикального газового дренажа с примыкающими горизонтальными трубчатыми дренами.
Полигон твердых бытовых и допускаемых для совместного с ними размещения промышленных отходов (полигон ТБО) оборудован многослойным противофильтрационным экраном. Полигон состоит из подготовленного грунтового основания 1; многослойного противофильтрационного экрана с нижним водоупорным слоем 2; дренажного прослоя 3 с трубчатыми дренами 12, верхнего фильтрующего слоя 4 и защитного слоя 5, системы распределенных по площади полигона фундаментов 10, на которых монтируют дренажные колодцы 11 с открытым верхним концом.
К колодцам 11 примыкают горизонтальные трубчатые дрены 12, по которым биогаз и фильтрат отводят к газосборному и дренажному коллекторам в направлении 13. К каждому дренажному колодцу 11 присоединены скважины вертикального газового дренажа, набираемые из секций (звеньев труб) 15, 18 с дренажной обсыпкой 16 вокруг них, создаваемой при помощи трубчатой скользящей опалубки 19, верхний конец которой перекрывают съемным колпаком-заглушкой 20.
Нижнюю секцию (нижнее звено трубы) 15 скважины вертикального газового дренажа выполняют сплошной без дренажных отверстий (без перфорации стенок) и герметично присоединяют к дренажному колодцу 11, а соединения между секциями скважины вертикального газового дренажа выполняют с возможностью взаимных угловых и линейных перемещений секций.
Слои уплотненных отходов находятся в водонасыщенной зоне 6 (ниже уровня фильтрата 7) и в ненасыщенной зоне 8 (выше уровня фильтрата).
При разложении органической составляющей отходов образуется биогаз. Сбор и отвод биогаза на полигоне ТБО производят следующим образом.
На территории полигона ТБО подготавливают основание 1, на котором монтируют распределенные по площади полигона фундаменты 10, на каждом из которых оборудуют дренажный колодец 11 с открытым верхним концом. На подготовленное основание 1 укладывают многослойный противофильтрационный экран с нижним водоупорным слоем 2, дренажным прослоем 3 с трубчатыми дренами 12, верхним фильтрующим слоем (мембраной заданной проницаемости) 4 и защитным слоем 5. В дренажном прослое 3 многослойного противофильтрационного экрана укладывают горизонтальные трубчатые дрены 12, примыкающие к дренажным колодцам 11 и предназначенные для отвода фильтрата. При этом нижние секции скважины вертикального газового дренажа совмещают с дренажными колодцами трубчатых дрен горизонтального дренажа в основании полигона. Ствол каждой скважины вертикального газового дренажа набирают звеньями 15, 18 и наращивают по мере формирования слоев отходов, при этом нижнее звено 15 выполняют сплошным, без дренажных отверстий (без перфорации стенок) и присоединяют к открытому верхнему концу дренажного колодца 11 с обеспечением герметичности соединения 14, а соединения 17 звеньев между собой выполняются с возможностью взаимных угловых и линейных перемещений секций (т.е. податливыми). Это позволит избежать деформаций (поломок) звеньев в процессе уплотнения отходов. Вокруг ствола скважины устраивают фильтрующую обсыпку 16 при помощи скользящей опалубки 19, представляющей собой отрезок трубы большого диаметра, верхний конец которой перекрывается съемным колпаком-заглушкой 20.
После укладки очередного слоя уплотненных отходов выполняют наращивание скважины вертикального газового дренажа: снимают колпак-заглушку 20, монтируют очередное звено трубы 18, приподнимают опалубку 19 на высоту наращивания, в кольцевое пространство между звеном 18 ствола скважины и опалубкой 19 засыпают материал фильтрующей обсыпки 16, устанавливают на верхнем конце скользящей опалубки и герметично уплотняют колпак-заглушку 20.
Под действием избыточного давления в теле полигона биогаз через фильтрующую обсыпку 16 и отверстия в стенках труб 15, 18 скважины вертикального газового дренажа проникает в ее внутреннюю полость, затем в дренажный колодец 11, откуда но горизонтальной трубчатой дрене 12 в направлении 13 биогаз отводится к газосборному коллектору и далее для утилизации на газоэнергетическую установку или на факел. При необходимости для повышения эффективности удаления биогаза из массива отходов в полости скважины вертикального газового дренажа понижают давление относительно атмосферного известными способами, например при помощи газодувки.
Далее описанные циклы послойного наращивания повторяют до достижения проектной высоты полигона.
Применение предлагаемого способа сбора и отвода биогаза на полигоне ТБО позволяет обеспечить эффективное и безопасное хранение твердых бытовых и промышленных отходов, снижает загрязнение атмосферы за счет постоянного отвода и утилизации биогаза на протяжении всего срока эксплуатации полигона за счет использования для отвода биогаза надэкрановой дренажной системы, предназначенной для сбора и отвода фильтрата. Такое решение обеспечивает устойчивость газосборной системы независимо от осадок массива отходов, позволяет производить дегазацию массива отходов и отбор биогаза на утилизацию с момента начала образования биогаза параллельно с продолжением работ по складированию отходов.
Формула изобретения
1. Способ сбора и отвода биогаза на полигоне твердых бытовых и промышленных отходов с многослойным противофильтрационным экраном, включающий подготовку основания, монтаж системы вертикального газового дренажа из сети распределенных по площади полигона скважин, собранных из секций и имеющих перфорированные стенки, послойную укладку отходов, наращивание скважин на высоту каждого слоя отходов с применением скользящей опалубки, перекрытие заглушками верхних концов скважин вертикального газового дренажа в каждом цикле наращивания, отличающийся тем, что отвод биогаза из вертикального газового дренажа осуществляют по трубчатым дренам горизонтального дренажа, расположенного в основании полигона, при этом нижние секции труб скважин вертикального газового дренажа выполняют сплошными и присоединяют к дренажным колодцам горизонтальных трубчатых дрен, а верхний конец нижней секции скважины вертикального газового дренажа располагают выше уровня фильтрата над противофильтрационным экраном.
2. Способ по п.1, отличающийся тем, что соединения между секциями выполняют с возможностью взаимных угловых и линейных перемещений секций.
3. Способ по п.1, отличающийся тем, что колодцы, трубы и соединения элементов горизонтального и вертикального дренажа выполняют из антикоррозионных материалов, например из стеклопластика.
РИСУНКИ
35
















