лекции (1233912), страница 6
Текст из файла (страница 6)
Рисунок 9 – Терморезистор.
Преимущества. Термопары отличают простота конструкции, высокая надежность, в ряде случаев низкая стоимость, локальность измерения и возможность размещения непосредственно в потоках рабочих жидкостей, находящихся под давлением.
Проводниковые терморезисторы также сравнительно просты по конструкции и дешевы, для усиления сигналов от проводниковых терморезисторов могут быть использованы унифицированные с тензорезисторами промежуточные преобразователи, что важно при создании интегральных средств диагностирования.
Термопары и проводниковые терморезисторы имеют достаточно линейные функции преобразования и хорошую воспроизводимость градуировочных характеристик, что позволяет использовать их для измерения разностей температур на объектах диагностирования.
Полупроводниковые термисторы позволяют создавать датчики температуры малых размеров со значительно более высокой чувствительностью, чем датчики на основе проводниковых терморезисторов. Средний диапазон рабочих температур термисторов в большинстве случаев удовлетворяет требованиям к средствам диагностирования всех сборочных единиц строительных машин.
Измерительные схемы с термисторами могут быть очень просто согласованы с магнитоэлектрическими стрелочными приборами без промежуточного усиления.
Недостатки. Основной недостаток термопар состоит в необходимости (за исключением дифференциальных схем включения) термостатирования холодного спая или введения специальных схем термокомпенсации (при измерении абсолютных значений температур). Эта необходимость проявляется особенно в диапазоне температур, при которых работают большинство объектов диагностирования в строительных машинах. Термостатирование или компенсация в свою очередь заметно усложняет схемы приборов. Электродвижущая сила (ЭДС), развиваемая термопарами, мала, поскольку большинство объектов диагностирования работает при температурах, не превышающих 100° С. При измерениях малых перепадов температур ЭДС еще ниже, поэтому необходимо применять специальные чувствительные усилители постоянного тока или чувствительные электронные приборы.
Металлические термометры сопротивления тоже нуждаются в усилении сигнала, хотя и не требуют термостатирования. Если сравнивать конструктивную сложность термопреобразователей на базе термопар и проводниковых термометров сопротивления, то преимущества имеют первые.
Недостатки полупроводниковых термисторов, существенно ограничивающие их применение, состоят в нелинейности функции преобразования и значительном разбросе от образца к образцу как номинального значения сопротивления, так и чувствительности. Например, промышленные типы термисторов выпускают с допуском ±20% по номинальному сопротивлению и ±17% по чувствительности. Эти особенности усложняют получение линейных шкал, требуя введения в приборы специальных схем коррекции для унификации шкал. Также усложняется взаимозаменяемость термометров при производстве и ремонтах приборов. Эти же особенности практически исключают возможность применения термисторов в дифференциальных схемах измерения температур, особенно малых.
Применение. В средствах диагностирования используют все три вида термопреобразователей. Термопары наиболее пригодны для локального измерения температур, особенно в стационарных средствах диагностирования, а также для измерения разностей температур на отдельных участках объектов диагностирования.
Проводниковые термометры сопротивления имеют примерно те же области применения, что и термопары. Их выбирают в тех случаях, когда в средствах диагностирования применяют промежуточные преобразователи (усилители) для тензорезисторов, и когда надо производить измерения с достаточно большой точностью, причем отсутствует возможность термостатирования. Проводниковые термометры сопротивления получили исключительное применение в термоанемометрических расходомерах жидкостей и газов.
Термисторы используют в термощупах для поочередного измерения температур во многих точках объекта диагностирования, например в пазах электрических машин. Кроме того, термисторы удобны для контроля теплового режима объекта диагностирования в тех случаях, когда измеряемая температура не является диагностическим параметром и задана постоянной величиной.
Практически все типы термопреобразователей могут быть использованы в качестве постоянно встроенных средств диагностирования. Для этой цели применяют медь-константановые термопары или медные проводниковые терморезисторы, выводы которых соединены со специальными штепсельными разъемами, установленными на сборочных единицах строительных машин, подлежащих периодическому диагностированию в процессе эксплуатации.
3. КОНСТРУКЦИИ ДАТЧИКОВ.
3.1 Датчики перемещений.
Применяют для измерения зазоров, люфтов и низкочастотных виброперемещений при диагностировании используют датчики, основанные на тензорезисторных, индуктивных и емкостных первичных преобразователях. При испытаниях СДМ для измерения угловых перемещений, и допустимых ускорений. По величине ускорений можно судить о резервах производительности машин.
К датчикам перемещений с большим ходом предъявляются такие жесткие требования, как линейность во всем диапазоне измерений, пренебрежимо малое влияние на испытываемый объект со стороны датчика, простота и долговечность конструкции.
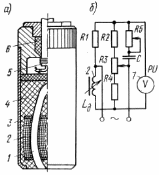
Конструкция тензорезисторного датчика перемещения показана на рис. 10, а. Корпус датчика крепят к одной из взаимоперемещающихся деталей, а штифт упирают в другую — с некоторым нажимом так, чтобы вызвать начальный прогиб консольной балки с наклеенными на нее тензорезисторами. После этого мостовую схему (рис. 10, б), в которую включены тензорезисторы Т1 и Т2, балансируют. Прогиб балки вызывает деформации тензорезисторов, пропорциональные величине этого прогиба и соответственно отклонение стрелки показывающего прибора, пропорциональное измеряемому перемещению. Такой датчик применяет для измерения перемещений до 1...10 мм. Вместо упругого чувствительного элемента в виде консольной балки с целью изменения диапазона измерений и чувствительности можно применять упругие чувствительные элементы в виде П-образных скоб, колец, арок и т. п.
Рисунок 10 - Тензорезисторный датчик перемещений
а — конструкция, б — схема включения; 1 — упорный штифт; 2 — упругий чувствительный элемент; 3 — тензорезисторы; 4 — корпус; 5 — вывод измерительного кабеля; 6 — мостовая схема с тензорезисторами; 7 — тензометрический усилитель; 8 — показывающий прибор
На рис. 11, а показана конструкция малогабаритного индуктивного датчика (модель 223). В основу конструкции датчика положен дифференциальный индуктивный преобразователь с продольным перемещением якоря. Измерительный стержень датчика имеет сферический наконечник, при помощи которого обеспечивается механический контакт с объектом измерения. Измерительный стержень может свободно перемещаться вдоль оси корпуса по шариковым направляющим. Измерительное усилие создает пружина. Измерительный стержень соединен с керном, на который надет ферритовый якорь. Вместе со стержнем якорь может перемещаться внутри двух дифференциально включенных катушек, заключенных в магнитный экран. Этот датчик, относится к датчикам осевого действия, т. е. воспринимающих перемещение, направленное вдоль оси.
Рисунок 11 - Индуктивные дифференциальные датчики перемещения
а - осевого действия (модель 223), б - бокового действия (модель 227), в - схема включения;
1 — корпус; 2 — вывод измерительного кабеля; 3 — измерительный стержень с керном; 4 — трубчатый ферромагнитный якорь; 5 — катушки; 6 — магнитный экран; 7 — пружина; 8 — шариковые направляющие; 9 — пылезащитный колпачок; 10 — упорный штифт; 11 — рычаг; 12 — показывающий прибор
Применяют также датчики бокового действия. Конструкция такого датчика (модель 227) показана на рис. 11, б. Измеряемые перемещения воспринимает сферический наконечник измерительного рычага. Ось рычага установлена на точных шариковых подшипниках. Плечо измерительного рычага, расположенное в корпусе датчика, передает перемещения измерительному стержню с ферритовым якорем. Измерительное усилие обеспечивают плоские консольные пружины. Корпус датчика оснащен направляющими типа ласточкина хвоста для крепления на объекте измерения. Для дифференциальных индуктивных преобразователей используют мостовые измерительные схемы, работающие на переменном токе. Одна из распространенных схем показана на рис. 11, в. Два плеча моста образованы здесь катушками датчика Lд' и Lд", а два другие — резисторами R1, R2 и RS. Для балансировки моста служит переменный резистор R2. На выходе мостовой схемы включен показывающий прибор переменного тока, показания которого пропорциональны измеряемым перемещениям.
Для диагностирования строительных машин можно использовать также индуктивные бесконтактные датчики, обеспечивающие измерения малых перемещений (в том числе виброперемещений) без непосредственной механической связи с объектом измерения. Один из вариантов конструкции бесконтактного индуктивного датчика показан на рис. 12, а. Этот датчик не дифференциальный. Сердечник датчика набран из пластин пермаллоя толщиной 0,1мм и состоит из двух половин. На каждой половине сердечника установлено по катушке.
Рисунок 12 - Бесконтактный индуктивный датчик перемещения
а — конструкция; б — измерительная схема; 1 — сердечник; 2 — катушка; 3 — корпус; 4 — изоляция; 5 — измерительный кабель; 6 — уплотнение; 7 — вольтметр
Градуировочная характеристика датчика нелинейна. При изменении измерительного зазора от 0,7 до 1,2мм погрешность от нелинейности составляет 14%. При уменьшении диапазона измерений или применении специальных линеаризующих измерительных схем нелинейность может быть уменьшена. При помощи бесконтактного датчика возможны измерения при начальном зазоре ~ 1,5мм.
Для измерения с недифференциальными индуктивными датчиками чаще всего применяют мостовые схемы с резистивно-емкостными элементами (рис. 12, б). Балансировку моста осуществляют одновременно переменными резисторами R3 и R5. На выходе мостовой схемы включен показывающий прибор переменного тока.
3.2 Датчики линейной, угловой скорости и частоты вращения.
Для измерения этих параметров при диагностировании в основном применяют индукционные и фотоэлектрические датчики и тахогенераторы. На рис. 13, а показана конструкция индукционного датчика линейной скорости. В корпусе закреплен постоянный магнит. Вокруг магнита расположен каркас с катушкой. Каркас соединен с корпусом через упругие подвесы. При измерении линейной виброскорости датчик устанавливают так, чтобы сферический наконечник касался вибрирующего объекта. Выходной сигнал датчика пропорционален линейной виброскорости.
Рисунок 13 - Индукционный датчик линейной скорости:
а — конструкция; б — схема включения; 1 — намагниченный якорь; 2 — корпус; 3 —упругие подвесы; 4 — каркас; 5 — катушка; 6 — упорный штифт; 7 — усилитель 8 — показывающий прибор.
На рис. 14, а показана конструкция импульсного индукционного датчика, который используют для измерения частот вращений при установке клинообразного конца якоря датчика вблизи зубьев шестерен, зубчатых колес или шлицевых валов. Подобные датчики могут быть изготовлены на основе электромагнитных систем серийных реле. Генерируемый на выходе таких датчиков сигнал обычно достаточен для использования в качестве вторичных приборов серийных частотомеров без специальных согласующих усилителей. Индукционные датчики чувствительны к магнитным помехам, а крутизна и амплитуда выходного импульса зависят от частоты вращения. Этих недостатков лишены фотоэлектрические датчики.
Простейший датчик с обтюратором, установленным на вращающемся объекте измерения, показан на рис. 14, б. Здесь круглые отверстия или щели обтюратора перекрывают поток света, падающий от лампочки на фотодиод, что вызывает появление на выходе фотодиода импульсов, частота следования которых пропорциональна частоте вращения обтюратора.
Рисунок 14 - Датчики частоты вращения
а — индукционный; б — фотоэлектрический; в — на основе геркона; г — схема включения индукционного датчика; д — схема включения фотоэлектрического датчика; е — схема включения датчика на основе геркона; 1 — шестерня или шлицевой вал; 2— якорь;
3 — изоляционная втулка; 4 — гайки; 5 — магнит; 6 — катушка; 7 — корпус;8 — фотодиод; 9 — обтюратор; 10— лампочка; 11 — геркон; 12 — немагнитный диск; 13 — частотомер.
Для диагностирования строительных машин в условиях эксплуатации эффективны фотоэлектрические датчики частоты вращения, работающие по методу отражения. В таком датчике на фотодиод или фотоприемник другого типа падает отраженный свет от вращающейся сборочной единицы объекта, например вала. На вал краской или липкой лентой наносят метки, которые меняют интенсивность отраженного света.
Еще более эффективны фотоэлектрические датчики инфракрасного излучения, которые содержат источник инфракрасного излучения и фотоприемник, чувствительный к инфракрасному излучению. На работу такого датчика не влияет световой фон. При помощи фотоэлектрических датчиков, основанных на методе отражения, можно измерять скорости поступательного движения штоков гидравлических цилиндров, если на них нанести метки.















