лекции (1233912), страница 5
Текст из файла (страница 5)
Рисунок 4 – Схема устройства емкостного преобразователя.
Рисунок 5 – Схемы емкостных преобразователей:
а - Преобразователь представляет собой конденсатор, одна пластина которого перемещается относительно другой так, что изменяется расстояние между ( между пластинами. Функция преобразования нелинейна, причем чувствительность возрастает с изменением расстояния между между пластинами. Такие преобразователи используются для измерения малых перемещений (менее 1 мм).
б - дифференциальный емкостный преобразователь, в котором при перемещении центральной пластины емкость одного конденсатора увеличивается, а другая уменьшается. Дифференциальная конструкция позволяет уменьшить погрешность нелинейности или увеличить рабочий диапазон перемещений.
в - Преобразователь также имеет дифференциальную конструкцию, но в нем происходит изменение активной площади пластин. Он используется для измерения сравнительно больших линейных (более 1 мм) и угловых перемещений. В таком преобразователе можно получить необходимую функцию преобразования путем профилирования пластин.
Преимущества емкостных преобразователей в том, что многие из них могут работать без механического соединения с объектом диагностирования. Ёмкостные преобразователи отличаются очень малым обратным воздействием на объект диагностирования (за счет электростатических сил притяжения). Емкостные преобразователи могут работать в широком диапазоне температур и помехоустойчивы в отношении сильных магнитных полей. Емкостные преобразователи механических величин обычно просты по конструкции.
Недостатки. К числу недостатков емкостных преобразователей относится чрезвычайно большое значение выходного сопротивления при сравнительно небольших абсолютных значениях емкости, что предъявляет жесткие требования к изоляции электродов преобразователя, их экранировке, к изоляции и экранировке соединительных проводов. На погрешность емкостных преобразователей оказывают влияние изменения влажности и температуры окружающей среды, а также попадание между пластинами воды или масла. Одним из осложнений в применении емкостных преобразователей являются ограничения в длине и емкости соединительных проводов, но в связи с разработкой полевых транзисторов и микромодульных операционных усилителей стало возможным делать промежуточные преобразователи с весьма большим входным сопротивлением, очень малого объема. Это в свою очередь открыло возможность создания датчиков с емкостными преобразователями, совмещенных в одном корпусе с промежуточным преобразователем. При использовании таких промежуточных преобразователей отпадают необходимость применения специальных измерительных кабелей и ограничения в длине кабеля. Такие датчики могут быть установлены в нескольких десятках метров от измерительного прибора. Хотя температурный диапазон измерения ограничен возможностями элементов промежуточного преобразователя, но достаточен для большинства задач диагностирования строительных машин в условиях эксплуатации.
Применение. Емкостные преобразователи с воздушным диэлектриком применяют для измерения малых линейных и угловых перемещений, виброперемещений, виброускорений, давлений крутящих моментов (по углу закручивания), в качестве чувствительных элементов измерительных микрофонов при измерениях уровней шума генерируемых объектами диагностирования, в качестве источников стробирующих импульсов от вращающихся и перемещающихся сборочных единиц машин и для измерения частот вращения.
Преобразователи с различной диэлектрической проницаемостью применяют для определения изменения уровня топлива в топливных системах ДВС, для измерения расходов рабочих жидкостей гидросистем объемным методом, а также для измерении крутящих моментов при выполнении подвижной пластины преобразователя из диэлектрика.
2.3 Электромагнитные преобразователи
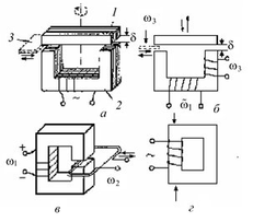
Электромагнитные преобразователи основаны на изменении характеристики магнитной цепи преобразователя (магнитного сопротивления, магнитной проницаемости, магнитного потока) под действием измеряемой механической величины. К числу электромагнитных преобразователей относят: индуктивные, трансформаторные, индукционные и магнитоупругие.
Рисунок 5 – Схемы преобразователей: а-индуктивный, б-трансфор,
в-индукционный, г-магнитоупругий
Преимущества. Практически все электромагнитные преобразователи отличаются высокой чувствительностью и возможностью рассеяния на преобразователе мощности, превышающей во много раз мощность, потребляемую магнитоэлектрическим прибором средней чувствительности, включенным на выходе преобразователя. Эта особенность позволяет непосредственно соединять датчики на основе электромагнитных преобразователей с относительно низкочувствительными измерительными приборами.
Индукционные преобразователи относятся к генераторным и работают без источников питания, а выходной сигнал их обычно достаточен для работы без согласующих усилителей с серийными аналоговыми и цифровыми частотомерами.
Магнитоупругие преобразователи отличают простота конструкции, большая механическая прочность и жесткость, возможность работы в тяжелых эксплуатационных условиях. Некоторые типы магнитоупругих и индуктивных преобразователей могут работать при питании напряжением сетевой частоты 50 Гц, что не требует применения в измерительных схемах специальных генераторов.
Недостатки. К числу недостатков электромагнитных преобразователей относится малая помехоустойчивость в отношении магнитных помех, что часто исключает их применение при установке в непосредственной близости к электрическим машинам.
Индуктивные и индукционные преобразователи отличаются существенной для некоторых объектов диагностирования величиной обратной реакции на объект измерения.
Применение. Электромагнитные преобразователи нашли широкое применение при диагностировании строительных машин. Индуктивные и трансформаторные преобразователи с поперечным перемещением сердечника используют для измерений малых перемещений от нескольких микрометров, например при оценке величин люфтов в сопряжениях машин. Преобразователи с поперечным перемещением сердечника находят также широкое применение для измерения в комплексе с упругими чувствительными элементами давлений жидкости и сжатого воздуха.
Преобразователи с продольным перемещением якоря применяют для измерения перемещений относительно больших величин, например игл форсунок в дизельных двигателях. Индуктивные преобразователи специальных конструкций применяют для измерения потери сечения стальных канатов от износа.
Индукционные преобразователи наиболее широко применяют для определения частот вращения посредством измерения числа импульсов от шлицов или специально установленных на вращающихся валах штифтов. Кроме измерения частоты вращения такие устройства используют для получения стробирующих импульсов при необходимости выделения отдельных фаз, измеряемых при диагностировании процессов.
Индукционные преобразователи положены в основу некоторых конструкций датчиков виброскоростей.
На основе индукционных преобразователей построены индукционные тахогенераторы, которые широко используют при диагностировании для аналогового измерения частоты вращения различных приводных устройств. Индукционные импульсные преобразователи применяют в качестве электрических чувствительных элементов турбинно-тахометрических расходомеров рабочих жидкостей. Индукционные преобразователи положены в основу датчиков для определения числа оборванных проволок в стальных канатах. Магнитоупругие преобразователи используют для измерения сил, крутящих моментов и для измерения параметров вибраций.
2.4 Пьезоэлектрические преобразователи
Пьезоэлектрические преобразователи относятся к подгруппе генераторных и основаны на пьезоэлектрическом эффекте – способности некоторых материалов образовывать при механическом нагружении электрические заряды.
Преимущества. Пьезоэлектрические преобразователи характеризуются широким частотным диапазоном, большой вибрационной прочностью, малой чувствительностью к магнитным полям, простотой конструкции, пьезоэлектрические датчики отличаются малыми размерами и массой.
Недостатки. К числу недостатков пьезопреобразователей (так же, как и емкостных) относится большое внутреннее сопротивление, что предъявляет весьма жесткие требования к измерительным схемам и к измерительным кабелям (при отсутствии встроенных согласующих усилителей). Повсеместное применение пьезопреобразователей ограничивается также невозможностью измерения статических составляющих динамических процессов, что очень часто необходимо при диагностировании, так как статическая составляющая процесса часто характеризует общий режим работы объекта диагностирования. Этот же недостаток исключает применение для датчиков на основе пьезопреобразователей статических способов градуировки, что в свою очередь требует применения специальных, более сложных устройств для градуировки датчиков в динамическом режиме.
Рисунок 6 - Пьезоэлектрические преобразователи:
а)совмещенный преобразователь, б)раздельно-совмещенный преобразователь;
1 - контролируемый объект, 2 - контактный наконечник, 3 - приемный пьезоэлемент, 4 - волновод, 5 - пакет излучающих пьезоэлементов, 6 - тыльная масса, 7 - корпус преобразователя, 8 - излучающий вибратор, 9 - приемный вибратор.
Раздельно-совмещенные преобразователи (рис. 1.б) имеют два вибратора (излучающий и приемный). Контролируемый объект выступает в роли элемента связи между вибраторами.
Применение. В средствах диагностирования строительных машин пьезопреобразователи прежде всего используют в датчиках параметров вибраций, а также в датчиках давлений и сил, когда недостаточна информация только о переменных составляющих этих параметров. Пьезопреобразователи могут быть использованы в ультразвуковых расходомерах рабочих жидкостей.
Пьезопреобразователи используют также в измерительных микрофонах для измерения уровней шума от объектов диагностирования. Пьезопреобразователи могут быть использованы в качестве встроенных датчиков давления (пульсирующей составляющей) и вибраций.
2.5 Фотоэлектрические преобразователи
Фотоэлектрические преобразователи выполняют преобразование фотонов света в электрический сигнал и подразделяются на преобразователи с внешним и внутренним фотоэффектом. К преобразователям с внешним фотоэффектом относятся электровакуумные фотоэлементы и фотоумножители. К преобразователям с внутренним фотоэффектом, который свойствен полупроводникам, относятся фоторезисторы, преобразователи с обеденным слоем и фотоэлектромагнитные преобразователи.
Преимущества. На основе фотоэлектрических преобразователей выполняют датчики для измерения параметров движения с практически полным отсутствием тормозного действия. Фотоэлектрические преобразователи могут быть использованы в бесконтактных датчиках угловых и линейных перемещений, основанных на методе отражения, при установке которых достаточно только нанесение меток краской или липкой лентой на перемещающихся объектах диагностирования. Фотоэлектрические преобразователи имеют существенные преимущества в устройствах синхронизации, поскольку крутизна и амплитуда генерируемых импульсов мало зависит от частоты вращения объекта диагностирования. На фотоэлектрические преобразователи очень малое влияние оказывают электрические и магнитные поля, что делает их незаменимыми для установки вблизи электрических машин.
Недостатки. К числу недостатков фотоэлектрических преобразователей, применяемых для измерения параметров движения, относят необходимость в дополнительном источнике питания осветителя, необходимость защиты оптической системы от загрязнения, а иногда и от постороннего света. Фотоэлектрические преобразователи не могут быть использованы в тех случаях, когда по конструктивным соображениям сложно обеспечить прозрачность корпуса первичного преобразователя, например в турбинно-тахометрических расходомерах жидкости, рассчитанных на высокие давления.
Применение. Фотоэлектрические преобразователи в основном используют для измерения частот вращения и для анализа загрязнений масел рабочих жидкостей, а также анализа состава отработавших (выхлопных) газов двигателей внутреннего сгорания.
2.6 Преобразователи температуры.
Для измерения температур при диагностировании используют термопары, терморезисторы или полупроводниковые термисторы.
Рисунок 7 – Термопары.
Рисунок 8 – Термистор.















