лекции (1233912), страница 14
Текст из файла (страница 14)
При специализации постов технического обслуживания по видам обслуживаемых систем диагностическое оборудование распределяют по соответствующим постам.
Рассмотрим некоторое применяемое оборудование:
Рисунок 2 – Прибор КИ-1093
Переносной вольтамперметр КИ-1093 предназначен для контроля состояния электрооборудования. С помощью прибора можно проверить техническое состояние аккумуляторной батареи, генератора, реле-регулятора, стартера и других потребителей электроэнергии.
С его помощью проверяют следующие параметры: частоту вращения якоря генератора постоянного тока, при которой достигается номинальное напряжение в режиме холостого хода и под нагрузкой; напряжение поддерживаемое регулятором; напряжение включения реле обратного тока; величину тока поддерживаемого ограничителем тока; степень искрения щеток; напряжение и ток при работе генератора в режиме электродвигателя; напряжение генераторов переменного тока; ток потребляемый стартером; э. д. с. и напряжение аккумуляторной батареи и отдельных ее элементов; ток потребляемый отдельными приборами и агрегатами.
Рисунок 3 - Расходомер К.И-8910А ГОСНИТИ: 1—приемный ниппель, 2—поплавковая камера, 3— шкала, 4— измерительная трубка, 5 - , 6 – трубка, 7- кран, 8- , 9- , 10- диафрагма, 11- трубка.
Прибор крепят к вертикальной стене, а топливный бак так, чтобы он был выше прибора на 0,5 м. Топливный бак должен быть снабжен краном для перекрытия топлива и соединяться при помощи шланга, который крепится к ниппелю / поплавковой камеры 2 прибора. При открытии крана топливо поступает из бака в поплавковую камеру 2 и заполняет ее. Уровень топлива поддерживается автоматически поплавком с игольчатым клапаном.
Через трубку 11 топливо поступает в измерительную, трубку 4. Уровень топлива определяют по шкале 3, градуированной на часовой расход топлива. Трубку 6, снабженную краном 7, присоединяют к подкачивающему насосу вместо топливопровода, идущего от топливного бака.
При открытом кране бака и закрытом кране 7 или остановленном двигателе уровень в поплавковой камере 2 и измерительной трубке 4 одинаковый и находится на нулевой отметке шкалы 3. При работающем двигателе и открытом кране 7 уровень топлива в измерительной трубке 4 становится ниже, чем в поплавковой камере 2, вследствие падения , давления топлива после диафрагмы 10. Чем больше расход топлива, тем ниже уровень в измерительной трубке 4.
Рисунок 4 - Схема топливомера КИ-4818 к дизелю:
1 — штатив; 2 — корпус измерителя; 3 — секундомер; 4 — кнопка включения секундомера; 5 — указатель дистационного тахометра; 6 — стаканчик; 7 — контрольные форсунки; 8 — топливопроводы высокого давления; 9 — переключатель подачи топлива; 10 — топливный насос; 11 — фланец; 12 — датчик тахометра; 13 — валик со сливными стаканчиками;
14 — кабель; 15 — мерные стаканчики; 16 — шарнир штатива; 17 — регулировочная тяга; 15 — сливная трубка; 19 — бак для слива топлива.
Топливомер КИ-4818 предназначен для определения производительности насосных секций топливного насоса (без снятия его с трактора), равномерности подачи топлива между секциями насоса и частоты вращения коленчатого вала двигателя.
Топливомер состоит из корпуса измерителя, в котором смонтированы пеногасители, мензурки для измерения объема топлива, секундомер и указатель электродистанционного тахометра. Тахогенератор присоединяют к валу отбора мощности трактора.
В пеногасители устанавливают стендовые (эталонные) форсунки с топливопроводами высокого давления, которые при помощи переключателей соединяют со штуцерами проверяемого топливного насоса.
Накидную гайку переключателя с правой и левой резьбой навертывают на штуцер проверяемого насоса. При этом штуцер подтягивают к штуцеру насоса. Внутренний канал штуцера соединен с трубкой, а канал штуцера с трубкой.
К штуцеру присоединяют топливопровод высокого давления от форсунки двигателя, а к штуцеру — топливопровод форсунки топливомера. Производительность секции топливного насоса замеряют при номинальной частоте вращения коленчатого вала двигателя.
Если нет стенда для прокручивания коленчатого вала, необходимую частоту вращения вала получают, отключив подачу топлива в отдельные цилиндры двигателя. Частота вращения коленчатого вала четырехцилиндрового двигателя при отключении двух цилиндров будет больше номинальной. Для ее снижения до номинальной в один из работающих цилиндров подают топливо не полностью (часть его отводят в топливомер).
Полностью или частично отключают подачу топлива в цилиндры двигателя переключателем. Для отключения подачи топлива завертывают до отказа винт. При этом клапан открывается, а клапан закрывается, и топливо из рубки направляется в топливомер. Когда винт отвернут до отказа, то клапан закрывается, а клапан открывается, и топливо подается в форсунку двигателя.
При промежуточном положении винта только часть топлива поступает в топливомер, а остальное количество топлива — в цилиндр двигателя. Перед измерением производительности секций насоса двигатель прогревают на холостых оборотах с включенной подачей топлива во все цилиндры (винты отвернуты). Затем винты двух секций (первой и четвертой или второй и третьей) завертывают, направляя топливо в топливомер. Винтом одной из остальных секций частично отключают подачу топлива до получения номинальной частоты вращения коленчатого вала.
Снижение частоты вращения вала до номинального значения можно также получить, дросселируя воздух на впуске. Для этого на трубу воздухоочистителя надевают специальное устройство.
Получив номинальную частоту вращения вала, поворачивают, направляя топливо из форсунок в мерные мензурки и одновременно включив секундомер. По истечении одной минуты лотки переводят в положение «слив топлива».
Таким способом измеряют производительность двух секций, топливо от которых полностью поступает в топливомер. Затем эти секции переводят на подачу топлива в цилиндры (в один цилиндр также частично подается топливо) и замеряют производительность остальных двух секций.
Следует иметь в виду, что тахометр топливомера измеряет частоту вращения вала отбора мощности. Если есть стенды КИ-8927 или КИ-4935, прокручивают коленчатый вал двигателя на стенде или установке без запуска двигателя. Топливомер имеет четыре мензурки и столько же пеногасителей с форсунками.
У шестицилиндровых двигателей замеряют подачу топлива одновременно по трем секциям насоса (по трем штуцерам насоса), у восьми- и двенадцатицилиндровых двигателей — по четырем секциям.
При отключении цилиндров необходимо учитывать порядок их работ обеспечивая равномерное чередование рабочих ходов. Применение топливомера связано со следую и дам и недостатками: недостаточно стабильная частота вращения коленчатого вала, а следовательно, и кулачкового вала насоса во время замеров недостаточно стабильный температурный режим испытания топливного насоса; кран-переключатель топливомера создает дополнительное гидравлическое сопротивление на пути движения топлива; нельзя замерить число циклов.
Рисунок 5 – Устройство КИ-13902
Определитель КИ-13902 ГОСНИТИ для измерения угла опережения подачи топлива и фаз газораспределения состоит из моментоскопа КИ-4941, указателя, магнита, чертилки и шаблонов угломеров.
При помощи магнита на двигателе рядом со шкивом или маховиком устанавливают указатель. Обычно это в.м.т. поршня на такте сжатия или положение коленчатого вала, при котором должно быть начало подачи топлива или начало открытия клапана. Для этого двигатель имеет установочную шпильку и сверление в маховике, метки на маховике, на шкиве коленчатого вала.
В исходном положении на ободе шкива или маховика чертилкой наносят риску против указателя, прикрепленного магнитом. Устанавливают на штуцер первой секции топливного насоса моментоскоп, поворачивают коленчатый вал но момента геометрического начала подачи топлива (по моментоскопу) и наносят вторую риску.
Прикладывают шаблон к ободу и по шкале на шаблоне определяют угол между рисками. Цена деления шаблона один градус. Моментоскоп присоединяют к насосам двигателей ЯМЗ, у которых трубки расположены в горизонтальном направлении, при помощи переходника, имеющегося в наборе.
С перепускного клапана испытуемого насоса снимают топливопровод и заглушают выход топлива через клапан, установив на него втулку или ввернув вместо клапана пробку (заглушку) в отверстие головки насоса.
От штуцера насосной секции отсоединяют топливопровод высокого давления и вместо него устанавливают отрезок трубки с изогнутым концом, насос состоит из плунжера с нагнетательным клапаном, приводимым в движение вручную от рычага.
Процесс измерения подобен применяемому на безмоторных стендах, где вместо ручного насоса для тех же целей используют насос с электроприводом. При нагнетании топлива ручным насосом в головке топливного насосе создается давление, превышающее давление открытия нагнетательного клапана (перепускной клапан заглушён), и топливо из штуцера вытекает через изогнутую трубку наружу Медленно вращая коленчатый вал двигателя при: одновременной подкачке топлива ручным насосом, замечают, когда топливо прекращает вытекать из трубки (торец плунжера перекрывает впускное отверстие втулки плунжера). В этот момент коленчатый вал не доходит до в.м.т. поршня первого цилиндра на величину угла опережения подачи топлива.
В комплект входит датчик начала впрыска топлива и импульсная стробоскопическая лампа. Датчик присоединяют к линии топливо подачи между форсункой и топливопроводом высокого давления (не снимая форсунки с двигателя). Электрический провод от датчика соединяют с прибором через штепсельный разъем. Прибор включают проводом в сеть электрического тока напряжением 220 В.
Против маховика или шкива, имеющих одну и ту же частоту вращения с коленчатым валом двигателя, в удобном для подхода месте крепят указатель. Вращают коленчатый вал двигателя и находят в.м.т. поршня первого цилиндра.
В этом положении наносят метку на маховике или шкиве против указателя. Запускают двигатель и включают тумблер и переключатель. Стрелка тахометра показывает частоту вращения (об/мин) коленчатого вала.
Включают рычажок на корпусе блока импульсной (стробоскопической) дампы. Она начинает вспыхивать в момент впрыска топлива форсункой. Подносят импульсную лампу к указателю в.м.т. и вращают рукоятку прибора до тех пор, пока метка на маховике (шкиве) в момент вспышки лампы не будет находиться против указателя в.м.т.
Собственно процесс измерения угла происходит при вращении рукоятки. Когда рукоятка прибора находится в исходном положении, то стрелка прибора стоит против нулевого деления шкалы, а лампа стробоскопа вспыхивает в момент начала впрыска топлива форсункой, регистрируемого датчиком у форсунки. В этот момент метка на маховике (шкиве) не доходит до указателя в. м. т. на величину угла опережения впрыска топлива. Вращением рукоятки прибора момент вспышки лампы постепенно сдвигается в сторону в. м. т. При этом угол поворота коленчатого вала, на который сдвинут момент вспышки лампы, стрелка прибора показывает на шкале.
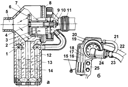
Рисунок 6 - Схема индикатора расхода газов КИ-4887
а - схема; б - общий вид; 1 и 2 - втулки соответственно неподвижная и подвижная; 3 и 6 - отверстия соответственно дросселирующее и калиброванное; 4 - заслонка; 5 и 22 - трубопроводы соответственно впускной и выпускной; 7 - корпус; 8 - шкала подвижной втулки; 9 - пружина; 10 - выпускной патрубок; 11 и 24 - дроссель; 12, 13 и 14 - жидкостные манометры; 15 - пробка; 16, 17 и 18 - каналы; 19 - корпус; 20 - лимб дросселя; 21 и 23 - шланги соответственно выравнивания давления и отсасывающий; 25 – кронштейн
Пределы измерения расхода газа прибором КИ-4887-И при открытом дросселирующем отверстии 2...120 л/мин с погрешностью до 3%. Если расход газа превышает 120 л/мин, что бывает у изношенных дизелей, то дросселирующее отверстие может быть увеличено на 40...45 л/мин. Это достигается полным открытием отверстия 6 при повороте заслонки 4 с помощью отвертки. Действительная пропускная способность отверстия 6 для каждого прибора указывается на наружной поверхности подвижной втулки. На концах впускного и отсасывающего шлангов имеются резиновые конусные насадки.
Использования прибора, рассмотрим на примере диагностирования цилиндропоршневой группы. И для этого надо выполнить следующее.
1. Отсоединить систему вентиляции картера дизеля и закрыть колпачками или пробками отверстия клапанной крышки и масломерного щупа так, чтобы картерные газы могли выходить только через маслоналивную горловину.
2. Подсоединить отсасывающий шланг прибора КИ-4887-И к вакуум-насосу установки КИ-13907 или выпускному тракту дизеля.















