09 ПЗ 140604.65.ПЗ-658 Кленов Кирилл Игоревич (1231558), страница 2
Текст из файла (страница 2)
– сооружения для очистки воды;
– водоводы и водопроводные сети, служащие для транспортирования подачи воды к местам ее потребления;
– башни и резервуары, играющие роль регулирующих и запасных емкостей в системе водоснабжения.
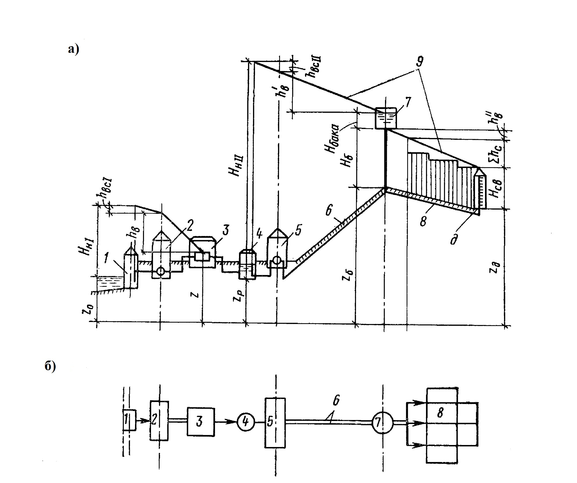
На рисунке 1.1 показана схема водоснабжения города с поверхностным источником. Вода забирается из источника при помощи водоприемного сооружения 1 и подается насосами, установленными на станции первого подъема 2 , на очистные сооружения 3. После очистки вода поступает в сборный резервуар 4, из которого забирается другой группой насосов, установленных на станции второго подъема 5, и по водоводам 6 подается в сеть труб 8, разводящих воду к местам потребления. Водонапорная башня 7 может быть расположена в начале сети, в конце ее (контррезервуар) или в какой-либо промежуточной точке сети. Порядок расположения прочих сооружений также может быть различен.
Рисунок 1.1 – Схема водоснабжения города а) продольный профиль; б) план; 1-водоприемное сооружение; 2-насосная станция 1 подъема; 3-очистные сооружения; 4-резервуары чистой воды; 5-насосная станция 2 подъема; 6-водоводы; 7-водонапорная башня; 8-магистральная водопроводная сеть; 9-пьезометрические линии в период максимального водопотребления.
При использовании поверхностных вод применяют водоприемные сооружения различных типов и конструкций, представляющие собой иногда весьма сложные гидротехнические сооружения. При использовании подземных вод водоприемные сооружения выполняют в виде колодцев, водосборных галерей, а для захвата родников в виде различных каптажных сооружений.
Характер источника влияет на всю схему водоснабжения в целом. Сопоставление качества воды данного источника и требований, предъявляемых к ней потребителями, определяет необходимость очистки воды, а также степень и характер ее очистки или обработки. Так. при использовании для водопроводов населенных мест артезианских или весьма чистых родниковых вод иногда оказывается возможным обойтись без очистки воды. Воды поверхностных водоемов также могут быть использованы без очистки на ряде промышленных предприятий (в частности, для охлаждения агрегатов).
В гористых местностях источники водоснабжения могут находиться на отметках, значительно превышающих отметки территории снабжаемого объекта. В этом случае воду можно подавать к местам потребления самотеком, и устройства насосных станций не требуется.
В настоящее время все большее развитие получают групповые и районные водопроводы, при которых одна система водоснабжения обслуживает несколько объектов, иногда различного назначения (населенные места, промышленные предприятия, сельское хозяйство и др.). Обслуживание ряда объектов одной системой водоснабжения дает значительные преимущества, так как стоимость объединенного водопровода обычно ниже, чем суммарная стоимость индивидуальных систем для каждого отдельного объекта. При этом снижаются и расходы на эксплуатацию системы. Подобное кооперирование позволяет планово, разумно и экономично решать важнейшие проблемы водоснабжения.
Устройство районных систем водоснабжения особенно целесообразно для маловодных районов, когда воду приходится подавать от далеко расположенных (от мест потребления) природных источников. В этих случаях кооперирование отдельных объектов водоснабжения и обслуживание их единой системой подачи воды имеют большие экономические преимущества. [3]
Классификация систем водоснабжения
По назначению различают системы водоснабжения: населенных мест; системы производственного водоснабжения; системы сельскохозяйственного водоснабжения. При обслуживании одной системой водоснабжения ряда объектов устраивают, как было сказано, групповые или районные системы водоснабжения. В пределах одного объекта в соответствии с объединением различных функций устраивают водопроводы хозяйственно-питьевые, хозяйственно-противопожарные и хозяйственно-производственные.
По характеру используемых природных источников различают водопроводы, получающие воду из поверхностных источников; водопроводы, основанные на подземных водах.
По способу подачи воды различают водопроводы самотечные; водопроводы с механической подачей воды, а также зонные водопроводы, где вода подается в отдельные районы отдельными насосными станциями.
Кроме того, в соответствии со сказанным выше системы производственного водоснабжения можно различать по способу (кратности) использования воды: системы прямоточного водоснабжения (с однократным использованием воды); системы оборотного водоснабжения; системы с повторным использованием воды.[2]
1.2 Способы регулирования системы водоснабжения
Насосные станции обычно работают в режимах, которые отличаются от режимов, первоначально заложенных в проект. Насосные агрегаты установлены с учётом максимального расхода, который возникает как при пиковых значениях потребления воды в утренние и вечерние часы, так и в экстремальной ситуации (например, пожар).
Если регулирование производительности насосных агрегатов не производится, при минимальном расходе в напорном трубопроводе возникает избыточное давление.
Это вызывает:
– непроизводительные потери электроэнергии на создание избыточного давления;
– потери воды за счет избыточного расхода, утечек на негерметичных стыках;
– большие затраты на ремонт и замену электродвигателей, насосов и контактной аппаратуры в связи с необходимостью прямых пусков;
– затраты на устранение аварий трубопроводов в связи с избыточными напорами и гидроударами;
– низкое качество водоснабжения, которое выражается в неравномерном давлении и высокой вероятности отсутствия воды;
– избыточный расход воды населением за счет создания запаса на случай отключения подачи воды.
Эффективность насосного агрегата в рабочем диапазоне в основном определяется способом регулирования и характеристиками системы.
В связи с тем, что рабочая точка системы определяется характеристиками как насоса, так и сети, то регулировать подачу можно за счет изменения характеристики сети (количественный метод) или за счет изменения характеристики насоса (качественный метод).
Одним из наиболее распространенных методов изменения характеристики сети является способ дросселирования задвижкой установленной на напорной линии насоса. Установки дополнительного оборудования в этом случае не требуется, что является основным достоинством данного способа. Способ заключается в том, чтобы ограничить поперечное сечение выпускного тракта насоса с помощью дроссельной задвижки. К сожалению, этот способ регулирования оказывает существенное влияние на КПД насоса, уменьшается с увеличением разности между напором, развиваемым насосом, и напором, требуемым в сети. При дросселировании скорость вращения рабочего колеса насоса остается практически неизменной, при этом асинхронный электродвигатель работает непосредственно от сети, и его скорость на 5 – 7 % отличается от синхронной частоты. Потребление электроэнергии двигателем пропорционально производительности насоса. Дроссельная задвижка также может устанавливаться на входе насоса, ограничивая, таким образом, приток жидкости, при этом насос не может обеспечить требуемый расход, так как часть энергии тратится на преодоление сопротивления задвижки. Работа насоса на задвижку имеет ряд недостатков, прежде всего, увеличивается износ самого насосного агрегата и запорно-регулирующей арматуры, установленной на нем, проявляется эффект резонанса, перегрев насоса из-за недостаточного теплообмена. Этот способ регулирования направлен на решение технологических задач, и не учитывает энергетических аспектов транспорта воды.
Для устранения неустойчивой работы насосов применяют регулирование подачи насоса перепуском жидкости из напорной линии во всасывающую. Наиболее часто такое регулирование применяется у осевых насосов,у которых кривая мощности снижается с увеличением подачи. Перепуск жидкости во всасывающий трубопровод улучшает кавитационные качества насоса, но наличие циркуляции снижает КПД системы, большие непроизводительные затраты электроэнергии, требует устройства циркуляционного трубопровода и установки дополнительной арматуры, что усложняет коммуникации трубопроводов в помещении насосной станции. Поэтому данный способ не получил особого распространения.
Еще одним способом регулирование насосной станции и экономии электроэнергии является, периодическая работа насосного агрегата при управлении в старт-стопном режиме на демпфирующее устройство, обеспечивающее поддержание требуемого технологического параметра, которое компенсирует броски и провалы потока жидкости при пуске и остановке насоса. Классическим примером подобного регулирования является работа водонапорной башни. В связи с тем, что время работы электродвигателя существенно больше времени его пуска, можно считать, что КПД насоса близко к максимальному значению. Таким образом, потребление электроэнергии электродвигателем при работе в этом режиме минимально. Однако работа насосов в таком режиме и системы водоснабжения с водонапорными башнями имеют существенные недостатки:
– высокая трудоемкость монтажа;
– невозможность не только регулирования давления воды в зависимости от водоразбора, но даже и создания достаточно стабильного давления воды у потребителей;
– работа насоса в импульсном режиме с частыми включениями и отключениями приводит к ускоренному износу и электродвигателя, и самого насоса;
– протекания из-за коррозии корпуса и переливы из-за неработающей или плохо настроенной автоматики;
– замерзания башни в зимний период и выход насоса из строя.
На практике очень часто встречается совместная работа нескольких насосных агрегатов на один напорный трубопровод. При увеличении разбора жидкости для поддержания заданного давления подключается необходимое число насосных агрегатов. Этот метод регулирования позволяет снизить непроизводительное потребление электроэнергии, однако требует сложного регулирования нескольких параллельно работающих насосных агрегатов с помощью дроссельной задвижки. Кроме того, частые прямые пуски насосных агрегатов от сети увеличивают вероятность возникновения гидравлических ударов в системе, при этом пусковые токи двигателей насосов также негативно сказываются на ресурсе оборудования.[4]
Наиболее экономичным является регулирование режима работы насоса изменением частоты вращения рабочего колеса.[5] В свою очередь, существует множество способов регулирования частоты вращения рабочего колеса насоса:
– введение сопротивления в цепь фазного ротора асинхронного электродвигателя переменного тока, что дает существенный экономический эффект по сравнению с дроссельным регулированием. Однако при больших мощностях экономическая эффективность применяемого способа резко снижается;
– применение двигателей постоянного тока.
Все перечисленные способы регулирования частоты вращения рабочего колеса имеют существенные недостатки. Наиболее простым по конструкции системы и экономичности затрат электроэнергии является способ регулирования частоты вращения асинхронного электродвигателя с помощью преобразователя частоты.
2 ВЛИЯНИЕ ГАРМОНИЧЕСКИХ СОСТАВЛЯЮЩИХ ПРЕОБРАЗОВАТЕЛЯ ЧАСТОТЫ НА ПИТАЮЩУЮ СЕТЬ И ЭЛЕКТРОДВИГАТЕЛЬ. МЕТОДЫ БОРЬБЫ С ГАРМОНИЧЕСКИМИ СОСТАВЛЯЮЩИМИ
2.1. Гармонические искажения
Кроме явных преимуществ преобразователя частоты и растущей популярности его применения, необходимо также знать и те проблемы, которые могут возникнуть при использовании преобразователей частоты.
Гармонические искажения электросети, являются основным отрицательным эффектом работы преобразователей частоты в сети.
Несинусоидальность токов означает наличие в их составе гармонических составляющих более высоких частот, которые обычно превышают частоту сети в целое число раз. Так же, как реактивные токи и токи обратной и нулевой последовательностей, токи высших гармоник при синусоидальном напряжении сети не передают в нагрузку полезной активной мощности, создают дополнительные активные потери и вызывают необходимость увеличения мощности силового оборудования. Помимо этого, высшие гармоники тока, создавая падения напряжения соответствующих повышенных частот на элементах системы электроснабжения, вызывают искажения формы сетевого напряжения.[9]
Среди показателей качества электроэнергии (КЭ) стандартом определены два параметра, характеризующие степень искажения формы синусоиды напряжения в электросети:
коэффициент искажения синусоидальности кривой напряжения
















