Разработка технологии восстановления готовый (1231283), страница 4
Текст из файла (страница 4)
Антикавитационное покрытие гильзы позволяет снизить скорость эрозии блока цилиндров в 1,5–2 раза.
Покрытие внутренней поверхности втулки цилиндра может осуществляться различными способами газотермического напыления сверхзвуковым газопламенным,электродуговым и плазменным. Выбор наиболее рационального способа осуществляется исходя из двух принципиальных аспектов – это тепловая и кинетическая энергия напыляемых частиц. Наиболее высокие значения этих параметров достигаются при сверхзвуковом газопламенном и плазменном напылении. Однако, для сверхзвукового газопламенного напыления необходима повышенная дистанция, её сокращение приведет к недопустимому перегреву основы. Наиболее приемлемым методом нанесения защитных покрытий на внутреннюю и внешнюю поверхности втулки цилиндра является плазменное напыление, при котором нагрев, плавление, диспергирование и перенос напыляемого материала осуществляется плазменной струей продуктов сгорания углеводородного газа с воздухом, полученной в электрическом дуговом разряде .
Стенка втулки цилиндра, поршневое кольцо и смазка двигателя внутреннего сгорания взаимодействуют как трибологическая система с установившимся равновесием по скорости износа её компонент и угару смазочного масла. Такой характер работы обусловливает следующие требования к материалу покрытия втулки:
- низкий коэффициент трения и низкий износ материала поршневого кольца в граничных условиях смазки;
- более низкий износ материала покрытия в сравнении с материалом кольца;
- высокое сопротивление термоударам;
- совместимость свойств покрытия с требованиями к финишной обработке зеркала цилиндровой втулки [10].
Благодаря тому, что для плазменного напыления используются порошки, выбор материала покрытия осуществляется в основном исходя из следующего:
- отсутствие дефицитных и дорогих компонентов;
- обеспечение требуемых износостойкости и коэффициента трения;
- наличие заданной пористости и маслоемкости поверхности в процессе эксплуатации.
В числе удовлетворяющих требованиям локомотивных дизелей может использоваться достаточно изученное композиционное покрытие из порошкового никель-алюминиевого материала ПН85Ю15 с керамической составляющей из двуокиси циркония ZrO2. Покрытие имеет хорошую адгезионную прочность с чугунной цилиндровой втулкой, низкую пористость, двуокись циркония обладает низкой теплопроводностью и наиболее близким к ПН85Ю15 коэффициентом термического расширения. Напыление покрытия проводится механической смесью порошков ПН85Ю15 и ZrO2 .
Принцип плазменного напыления (рисунок. 2.1). Между катодом и медным водоохлаждаемым соплом, служащим анодом, возникает дуга, нагревающая поступающий в сопло горелки рабочий газ, который истекает из сопла в виде плазменной струи. В качестве рабочего газа используют аргон или азот, к которым иногда добавляют водород. Порошковый наплавочный материал подается в сопло струёй транспортирующего инертного газа, нагревается плазмой и с ускорением переносится на поверхность основного материала для образования покрытия. Средняя температура плазмы на выходе из сопла плазмотрона находится в пределах от нескольких тысяч градусов до десятков тысяч градусов Кельвина.
П – покрытие; С – струя напыляемого материала и продуктов сгорания газов
Рисунок 2.1 – Принцип пламенного напыления
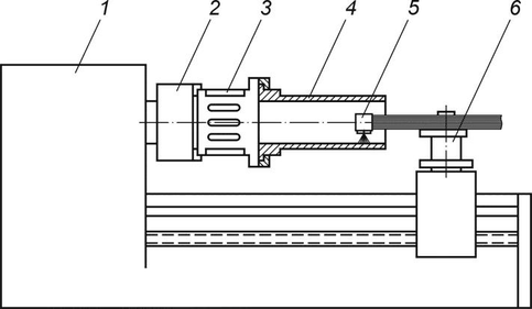
Схема процесса плазменного напыления внутренней поверхности гильз цилиндров дизелей приведена на рисунке 2.1. Гильзу цилиндра 4 с помощью специальной оправки 3 крепят в планшайбе 2 токарного станка 1. Перемещение плазмотрона 5 осуществляется с помощью суппорта станка 6. Использованный плазмообразующий газ и пылевидные частицы порошка удаляются через имеющиеся в оправке окна. При напылении цилиндрических деталей в качестве механизма вращения и продольного перемещения плазмотрона обычно применяют бывшие в употреблении токарные станки.
1 – токарный станок; 2 – планшайба; 3 – оправка; 4 – втулка цилиндра;
5 – плазматрон; 6 – суппорт станка
Рисунок 2.2 – Схема процесса плазменного напыления
Плазменное покрытие при соответствующем подборе материала и оборудования для его нанесения может повысить износостойкость детали, предотвратить эрозию, снизить скорость изнашивания поверхности при работе с кольцами из различных материалов, уменьшить вероятность образования трещин. Тем самым определяет сокращение затрат на изготовление запасных частей, повышение надежности и долговечности выпускаемой и используемой продукции [17].
Износостойкость напыляемого слоя должна быть не ниже износостойкости основного металла детали и соответствовать требованиям технических условий и чертежа. Коэффициент полезного действия (КПД) плазменной горелки составляет от 50 % до 70 %. Высокая температура плазмы позволяет проводить напыление тугоплавких материалов. Возможность регулирования температуры и скорости плазменной струи путем выбора формы и диаметра сопла и режима напыления расширяет диапазон напыляемых материалов (металлы, керамика и органические материалы). Покрытия, полученные методом плазменного напыления, обладают высокой плотностью и хорошим сцеплением с основой. Процесс плазменного напыления хорошо поддается автоматизации.
Краткие характеристики покрытия:
- пористость покрытия 4–8 %;
- прочность сцепления покрытия с основой 5,0–8,0 кг/ мм².
Толщина напыленного слоя:
- при напылении металлов и сплавов 0,05–5,0 мм;
- при напылении керамики 0,05–0,5 мм.
В большинстве случаев напыленные покрытия подвергают окончательной механической обработке (точение, шлифование). При этом преследуется две цели: придание изделию окончательных размеров и доведение поверхности покрытия до требуемой шероховатости. При этом промежуток времени между подготовкой и нанесением покрытия на деталь полагается быть минимальным и не превышать 1,5–2 часа[12].
2.1 Подготовка гильзы перед плазменным напылением
Как правило, перед осуществлением процесса необходима предварительная обработка поверхности основы, цель которой – получение прочного сцепления покрытия с материалом детали. На практике данную обработку осуществляют механическим способом (шлифование, хонингование, струйно-абразивная очистка). При этом поверхность очищается от грязи, масел и достигается необходимая шероховатость поверхности. При предварительной подготовке деталей типа тел вращения для нанесения покрытий самым распространенным способом является нарезание так называемой рваной резьбы, что обеспечивает повышенную прочность сцепления. Для повышения прочности сцепления покрытий необходимо максимально сократить время между подготовкой поверхности и напылением и тем самым сохранить энергетическую активность поверхности.
2.1.3 Шлифование
Растачивание часто заменяют шлифованием. Внутреннюю рабочую поверхность гильзы шлифуют до выведения следов износа. Овальность рабочей поверхности гильзы в нижнем и верхнем поясах, а также конусность поверхности на длине гильзы допускается не более 0,06 мм. Разрешается наличие нетронутой шлифовальным камнем выработки от верхнего поршневого кольца. Опыт показывает, что при шлифовании гильз ремонтного фонда в большинстве случаев не удается выполнить эти технические требования. Поэтому такие гильзы обычно бракуют. Для шлифования отверстия гильзу устанавливают в приспособлении (рисунок 2.3), закрепленном на планшайбе шпинделя внутришлифовального станка. Приспособление состоит из чугунного стакана 5, прижимного кольца 8 и выталкивателя 3. В стакан запрессованы базовые стальные закаленные кольца 1 и 6. Для того чтобы обеспечить соосность отверстия гильзы со шпинделем станка, отверстия колец и торец кольца 1 шлифуют после закрепления приспособления на планшайбе. Поэтому на крупных ремонтных предприятиях один из станков налаживают для обработки гильз с поясками ремонтного размера, а остальные станки – для обработки гильз нормального размера.
1 – кольцо; 2 – труба; 3 – выталкиватель; 4 – пневматический цилиндр; 5 – станок; 6 –кольцо; 7 – тяга; 8 – прижимное кольцо; 9 – винт
Рисунок 2.3 – Приспособление для установки гильзы при шлифовании рабочей поверхности
Выталкиватель представляет собой стальную тарелку, шарнирно соединенную с тягой 4 пневматического цилиндра, закрепленного на заднем конце шпинделя. С тарелкой также шарнирно соединены три тяги 7, в каждую из которых ввернут винт 9 с конической головкой. В нажимном кольце имеется три паза, образующие с этими винтами штыковой замок.
Чтобы установить гильзу в приспособлении, тягу пневматического цилиндра подают вправо, нажимное кольцо поворачивают против часовой стрелки и снимают с приспособления. Затем вкладывают в стакан гильзу, надевают нажимное кольцо, поворачивают его до упора по часовой стрелке, а тягу пневматического цилиндра подают влево. Благодаря шарнирным соединениям тяг с выталкивателем, усилие пневматического цилиндра распределяется равномерно между тремя тягами 7. Это сохраняет гильзу от коробления при шлифовании. Для снятия гильзы со станка тягу пневматического цилиндра подают вправо. При этом нажимное кольцо освобождается, а выталкиватель выдвигает гильзу из базирующих ее колец.
Внутри тяги пневматического цилиндра проходит труба 2, по которой подается охлаждающая эмульсия.
Для шлифования гильзы применяют круг ПП-125–50–50 на керамической связке СМ1, зернистостью 12–16.
После шлифования рабочей поверхности гильзы наружную поверхность подвергают пескоструйной очистке и цинкованию.
Такая последовательность выполнения операций принята потому, что на некоторых гильзах в процессе шлифования не удается устранить следы износа. Эти гильзы бракуют. Следовательно, цинкование наружной поверхности гильз до шлифования рабочей поверхности нецелесообразно.
Толщина слоя цинкового покрытия должна быть равна 0,03–0,05 мм. Осадок металла должен быть мелкокристаллический светло-серебристого цвета. Цинком покрывают только поверхность между посадочными поясками [12].
2.1.4 Струйная абразивная обработка
Для струйной абразивной обработки используется оборудование открытого и камерного типа, с различной степенью автоматизации рабочего процесса. При открытой обработке требуется спецодежда и устройства защиты глаз и дыхательных путей оператора, за исключением автоматической обработки роботами-манипуляторами и устройствами для безпылевой обработки, где требования индивидуальной защиты сводятся к минимуму.
Рисунок 2.4 – Схема струйной абразивной обработки
Абразивная суспензия подается в рабочий струйный аппарат насосом. Одновременно в него подается сжатый воздух. Образующаяся абразивная струя воздействует на поверхности обрабатываемых деталей. Перемещение детали относительно абразивной струи может выполняться вручную или с использованием специальных приспособлений, обеспечивающих равномерность обработки. Для выполнения ручной обработки, или смены детали в приспособлении используются специальные рукава и перчатки. После завершения абразивной обработки может быть выполнена промывка деталей, осуществляемая промывочным струйным аппаратом.
Для струйной абразивной обработки используются следующие виды абразивов и частиц:
- корунд (электрокорунд) используется при подготовке поверхностей к нанесению покрытий, очистки поверхностей от окалины после термической обработки, для финишной обработки с целью снижения шероховатости, очистка заготовок после литья от частиц формовочной смеси, удаление заусенцев, скругление острых кромок, удаление старых металлопокрытий. Обработку производят абразивными частицами размером 12–325 мкм при давлении воздуха 0,1–0,6 МПа. Широко используются при обработке сталей средней и высокой твердости;
-карбид кремния используется для тех же целей что и электрокорунд. Методы обработки незакрепленным абразивом Частицы SiC имеют более выраженные и острые грани. Его целесообразно использовать при обработке деталей из вязких сплавов и титановых сплавов;
- стальные угловатые частицы твердостью 40–60 HRC размером 10–325 мкм. Используются для очистки от нагара, снятия заусенцев, старой краски, подготовки поверхностей к нанесению покрытий;
- стальная дробь твердостью 20–60 HRC размерами 8–200 мкм. Применяется для упрочнения поверхностного слоя, удаления окалины, формирования остаточных напряжений сжатия, снижение пористости.













