Разработка технологии восстановления готовый (1231283), страница 2
Текст из файла (страница 2)
Овальность определяется измерением рабочей поверхности гильзы. Измерения ведутся с помощью нутромера индикаторного типа. У гильзы измеряется диаметр в двух плоскостях: в плоскости параллельной оси коленчатого вала и плоскости перпендикулярной ей. Разница этих диаметров и составляет овальность гильзы. Измерения производятся в шести разных поясах по длине гильзы. За действительную овальность берется максимальная.
При овальности более 0,25 восстановить гальваническим покрытием или напылением.
Дефект – задиры на рабочей поверхности. На дизелях наблюдаются также задиры рабочей поверхности гильз. Задиры возникают в районе уступов окон у новых гильз после пробега тепловозом 140—160 тыс. км. Причинами образования задиров могут служить: возрастание нормальной силы от поршня на гильзу; деформация гильз, вызванная смещением их нижних частей вдоль оси коленчатого вала, напрессовка рубашки на гильзу с чрезмерным натягом или постановкой на гильзу не соответствующих по сечению и твёрдости уплотнительных резиновых колец, а также разрыв масляной пленки острыми гранями уступов. И наконец, нарушением условий приработки деталей, когда поршень, приработанный к «своей» гильзе одной стороной, был установлен в нее же, но с разворотом на 180° или смонтирован в «чужую» гильзу.
Гильзы с задирами и грубыми рисками на рабочей поверхности по длине хода поршня заменяют. Незначительные натиры и риски удаляют вручную.
Дефект- потеря герметичности водяных стыков. Подтекание воды в регулируемых уплотнениях втулок цилиндров (уплотнения переходников для подвода воды от выпускных коробок к рубашкам цилиндров и отвода воды от рубашек к водяному коллектору, уплотнения адаптеров в рубашках цилиндров) возникает преимущественно при охлаждении дизеля, но может быть и при его работе. Течь при охлаждении устраняют креплением гаек или подтягиванием уплотнения, а иногда заменой резиновых уплотнительных колец.
Герметичность системы охлаждения проверяют после ремонта дизеля, устранения течи или замены уплотнительных колец опрессовкой горячей водой (температура воды 40—60 °С, давление 3 кгс/см2 в течение 15 мин). Вода подается в систему охлаждения дизеля от заправочных емкостей ремонтного цеха депо.
На дизелях небольшая течь воды от адаптерных отверстий рубашек часто возникает из-за образования трещин от кромок. В пути следования такую течь устранить трудно, поэтому в депо заменяют целиком неисправную втулку цилиндра. В некоторых депо заваривают такие трещины электродуговым способом. Однако заварка трещин в рубашке из стали 38ХА или 40Х без предварительного подогрева и высокого отпуска после заварки, которые нельзя произвести без снятия втулки цилиндра, не дает желаемых результатов. В большинстве случаев трещины вновь возникают (по сварочному шву или его границе) после непродолжительного времени работы дизеля.
Течь воды по уплотнениям рубашек на втулках цилиндров дизелей может быть устранена только перепрессовкой рубашек с заменой уплотнительных колец, для чего необходимо снять с дизеля неисправную цилиндровую втулку.
Дефект - наработок на рабочей поверхности. Наработок (уступ) более 0,15 мм, образующийся в зонах максимального износа втулки, устранить механической обработкой до плавного перехода или хонингованием. Острые кромки выпускных и впускных окон скруглить радиусом 2—3 мм с последующей полировкой войлочным кругом с притирочной пастой. Этим предупреждается возможная поломка верхнего компрессионного кольца в случае смены поршней данного цилиндра.
Дефект-износ поверхности гильзы в месте посадки рубашки. При сборке гильзы с рубашкой распаровка их допускается только в случае браковки рубашки или гильзы. Натяг между спариваемыми деталями должен соответствовать требованиям чертежа, а биение внешней поверхности рубашки относительно рабочей поверхности собранной втулки не должно превышать 0,1 мм. Необходимо восстановить до чертежных размеров натяг между гильзой и рубашкой путем наращивания посадочных поверхностей у ребер гильзы или электроискровым способом, а у поясов уплотнения водяных стыков газотермическим напылением гильзы и рубщики — клеем ГЭН-150(В);
Дефект - износ посадочных поясков гильзы. Износ посадочных поясков частично связан с кавитационным изнашиванием. Признаком дефекта гильз являются глубокие раковины на поверхности поясков, что является следствием явления кавитации или коррозии. В процессе работы возникает вибрация гильзы, что также вызывает износ посадочных поясков гильзы. В реальных условиях эксплуатации двигателей возможно появление овальности посадочных поясков гильзы, вызванное кавитационным разрушением или отложением накипи в зазорах посадочных поясков гильзы в блоке. Устранить подобный дефект можно наплавкой.
Дефект - излом бурта. Основными причинами излома бурта гильзы являются: наличие посторонних частиц при запрессовке; неровности и перекосы в области седла буртика в блоке цилиндров; неподходящая по высоте и размерам прокладка головки блока цилиндров; нарушения технологии обработки при ремонте и восстановлении.
Устранить такой дефект можно с помощью пластической деформации, наплавки [1].
| Деталь Гильза цилиндра М756 | |||||||
| Материал | Твердость | ||||||
| Сталь 38ХМЮА | HV≥700 | ||||||
| Позиция на эскизе | Возможные дефекты | Способ выявления дефекта и инструмент | Размеры, мм | Заключение | |||
| Номинал | Допуск | Предел | |||||
| 1 | 2 | 3 | 4 5 6 | 7 | |||
| 1 | Трещины, глубокие риски | Дефектоскоп | Не допускается | Браковать | |||
| 2 | Износ гильзы по рабочей поверхности | Нутромер | 180+0,4 | 180+0,35 | более 180,4 | Восстановить хромированием, осталиванием или напылением | |
| 3 | Овальность рабочей поверхности | Индикаторный нутромер | 0,0–0,35 | 0,4 | Более 0,40 | Восстановить гальваническим покрытием или напылением | |
| 4 | Задиры на рабочей поверхности гильзы | Визуально | Не допускается | Зачистить в направлении перпендикулярном к оси втулки | |||
| 5 | Потери герметичности водяных стыков | Опрессовкой. Стенд для опрессовки | Не допускается | Восстановить путем замены резиновых уплотняющих колец | |||
| 6 | Нарушение резьбы адаптерного отверстия | Калибр | Не допускается | Восстановить под ремонтные размеры | |||
Продолжение таблицы 1.3
| 1 | 2 | 3 | 4 | 5 | 6 | 7 |
| 7 | Наработок на рабочей поверхности | Визуально | 0–0,15 | 0,15 | Более 0,15 | Устранить механической обработкой или хонингованием |
| 8 | Износ поверхности гильзы в месте посадки рубашки | Микрометр | Натяг 0,138–0,224 | Натяг 0,224 | Натяг более 0,224 | Восстановить напылением, клеем ГЭН 150(В) |
1.2 Выпрессовка, запрессовка гильзы цилиндра
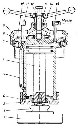
Гильзы выпрессовывают гидравлическим приспособление (рисунок. 1.4) после прогрева моноблока до температуры 100 °С. Два полукольца 8 приспособления охватывают снаружи нижнюю часть гильзы и упираются в нижний бурт ее. Рабочее давление масла 175 кг/см2- 350 кг/см2.
Выпрессовку можно производить вручную. Винт приспособления (рисунок 1.5) отворачивается усилием двух человек, приложенным на плече 1,5—1,8 м. При выпрессовке следует подогревать моноблок, не давая ему охлаждаться.
Вместо выпрессованных гильз для циркуляции воды с целью поддержания необходимой температуры в гнезда моноблока устанавливают специальные цилиндры.
На рабочей поверхности гильзы не должно быть трещин, выкрашивания азотированного слоя, продольных рисок глубиной более 0,05 мм, износа более 0,5 мм на сторону.
1— подставка; 2— опора; 3—гайки; 4 — нижняя опора поршня; 5—трубка для стравливания воздуха; 5 —поршень; 7 — цилиндр; 8 — захват; 9 — зажимающий стакан; 10 — кольцо; 11 — штуцер стравливания воздуха; 12 — шпилька; 14 — шайба; 15—штуцер подвода масла
Рисунок 1.4 – Приспособление для гидравлической выпрессовки гильзы
Допускаются мелкие раковины величиной не более 0,2 мм и глубиной не более 0,3 мм, расположенные некучно и общим числом не более трех; налет коррозии в виде отдельных пятен площадью не более 1 см2 и количеством тоже не более трех.
На наружной поверхности гильзы могут быть допущены местные точечные кавитационные разрушения площадью 2,5 см2 и глубиной до 1,5 мм общим числом не более 5 на поверхности.
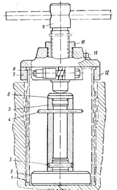
1 – гильза; 2 – подставка; 3 – штифт; 4 – ручка; 5 – труба подставка;
6 – опора; 7 – корпус с накладкой; 8 – стяжной болт; 9 – винт; 10 – втулка; 11 – болт; 12 – полукольцо
Рисунок 1.5 – Приспособление для выпрессовки гильзы
1 – ручка; 2 – гильза моноблока; 3 – цилиндр
Рисунок 1.6 – Цилиндр ЛМ. 9689-1949 перекрытия водяных каналов моноблока при нагреве паром
На опорной поверхности бурта и на верхнем центрирующем пояске гильзы допускаются кавитационные разрушения глубиной не более 0,2 мм.













