ВКР-Пустовойт (1229861), страница 2
Текст из файла (страница 2)
При сравнении результатов, полученных при различных способах измерения расхода топлива, выясняется, что даже если расхождения в процентном соотношении и небольшие, то в количественном разница достаточно велика. Это объясняется тем, что на современных локомотивах эксплуатируются ДВС больших мощностей и, соответственно, с большими расходами горючего.
Для более точного определения расхода топлива ДВС проводят стендовые испытания. Такие испытания позволяют получить данные, максимально приближенные к идеальным, так как практически отсутствуют внешние факторы, влияющие на результаты измерений. При наличии точных данных о расходе топлива ДВС можно более точно прогнозировать расход топлива локомотивом в частности и во всем локомотивном хозяйстве на всей сети дорог.
На основании выше сказанного можно сделать вывод, что разработка и внедрение перспективных способов измерения расхода топлива вносит неоценимый вклад в развитие исследовательской деятельности, нацеленной на повышение эффективности методов измерения расхода топлива ДВС.
-
СПОСОБЫ ИЗМЕРЕНИЯ РАСХОДА ТОПЛИВА ПРИ ЭКСПЛУАТАЦИИ И ИСПЫТАНИЯХ ДИЗЕЛЕЙ ЛОКОМОТИВОВ
Существует множество способов измерения расхода топлива на локомотивах, как в эксплуатации, так и при проведении различных испытаний после проведения ремонтов или модернизаций. Измерения могут проводиться как мгновенно, так и за определенное время, например за время смены или поездки. Каждый из способов имеет свои достоинства и недостатки. Рассмотрим подробнее наиболее распространенные способы измерения расхода топлива.
В настоящее время при эксплуатации локомотивов для контроля, учета и нормирования расхода топлива применяют следующую методику:
-
Количество топлива в баке локомотива фиксируется визуально машинистом через мерное стекло, имеющее заводскую шкалу с определенной ценой деления либо с помощью топливомерной рейки, путём опускания её в бак через специальную горловину и фиксацией уровня топлива по шкале, нанесенной на рейку либо с использованием других средств визуального контроля количества топлива в баке локомотива [3];
-
Расход топлива локомотивом вычисляется путем сравнения количества топлива до начала смены или поездки и после окончания смены или поездки. Массовый расход рассчитывается машинистом исходя из заданной на всё время смены, поездки либо определенного промежутка времени плотности топлива;
-
Нормирование расхода топлива производится с учетом профиля пути, способа организации работы локомотива, организации перевозочного процесса. Теплотехник эксплуатационного локомотивного депо, с учетом рода работы и локомотива, а также фактического расхода, полученного в прошлых периодах при аналогично проделанной работе, может откорректировать нормы расхода топлива [13].
При данном способе контроля и учета расхода топлива не всегда возможно определить его количество в баке с достаточной точностью. Градуировка мерных линеек или реек обычно имеет точность 50 литров. Также возникают и другие затруднения с установлением точного количества топлива в баке связанные с конструктивными особенностями различных локомотивов. К таким конструктивным особенностям можно отнести расположение мерных стекол на топливных баках не по диагонали, а на одной линии, возникновении менисков на поверхности топлива в мерном стекле, загрязнения стекла, либо другие проблемы, возникающие в процессе эксплуатации локомотива.
С развитием информационных технологий большое распространение получают электронные системы контроля и учёта дизельного топлива, устанавливаемые на локомотивы. Работа таких систем, в основном, связана с сопоставлением режимов работы дизель-генераторной установки (ДГУ) с текущим объемным расходом топлива.
Основными задачами этих систем является определение расхода топлива, хранение и запись информации о работе ДГУ на собственную память и на съемный носитель. Информации о текущем расходе, количестве топлива в баке в литрах и килограммах, а также режимах работы ДГУ выводится на дисплей, установленный в кабине локомотива, а также по шифрованному радиоканалу или с помощью технологий GSM/GPRS/GPS/ГЛОНАСС передается на сервер предприятия. Таким образом, теплотехник эксплуатационного локомотивного депо имеет возможность в реальном времени получать информацию о состоянии локомотива и режимах расхода топлива.
В настоящее время на локомотивах применяются системы АПК «Борт», РПДА-Т, РПРТ, АСК-ВИС и системы учета топлива СУТ «КВАРТА-Р1». Состав и устройство этих систем принципиально не отличается друг от друга. Для измерения уровня топлива в бак тепловоза по разным его сторонам устанавливаются по два или более топливомерных устройства, которые регистрируют уровень топлива в баке, и датчик температуры топлива. Система, используя заложенные в ней алгоритмы, вычисляет массу, находящегося в баке топлива, считав данные по уровню и температуре.
Необходимость производства и внедрение таких систем вызвано распространившимся в последнее время негативным явлением, связанного с несанкционированным перерасходом дизельного топлива, по причине его хищением работниками.
При всех своих достоинствах существующие автоматизированные системы контроля расхода топлива не могут использоваться для получения достоверных данных по расходу топлива, так как их работа основана на измерении объема и вычисления из него массы топлива в баке. Как известно, массовое количество вещества в одной единице объема зависит от плотности этого вещества. Это утверждение справедливо и для жидкого топлива. Алгоритмы всех автоматизированных систем связаны с известными табличными значениями плотности дизельного топлива, потребляемого тепловозами, и её изменением в зависимости от температуры. Естественно, что данный способ измерения не может подходить для точного определения расхода, так как состав топлива может отличаться от табличных значений. Также следует учитывать тот факт, что для проведения расчетов автоматизированные системы используют данные полученные с множества датчиков и сенсоров, каждый из которых имеет свои погрешности и неточности. Очевидно, что для получения достоверных данных, необходим всесторонний анализ работы ДВС, какой возможно провести только при проведении стендовых испытаний.
Существует несколько способов измерения расхода топлива при проведении стендовых испытаний двигателей внутреннего сгорания локомотивов. Рассмотрим подробнее основные из них.
-
Объемный способ измерения
Данный способ получил широкое распространение на транспорте ввиду своей простоты. К объёмным способам и приборам относят:
-
Мерные емкости и измерители;
-
Турбинные счетчики;
-
Ротационный принцип измерения;
-
Вихревые расходомеры;
-
Ультразвуковые приборы.
-
Объёмные измерители
К основной группе объемных измерителей можно отнести различные сертифицированные мерные емкости (мерники) разнообразного точного объема. Они часто соединены последовательно через узкие стеклянные протоки-шейки, на которые наносятся контрольные риски. В этих шейках резко увеличивается скорость движения топлива, то позволяет с высокой точностью фиксировать моменты начала и конца замеров. Объём мерника, заключенный между такими рисками, сертифицируется. Точность определения объема достигает 0,02 % [3]. Суммарный объем всех емкостей, входящих в последовательную цепь, выбирают из условий максимально возможного расхода топлива испытуемого двигателя за определенный промежуток времени (чаще всего выбирается небольшой промежуток в 30 или 60 секунд).
Мерные емкости выполняются шарообразными, либо, чаще всего, цилиндрическими с торцевыми крышками конической формы. При расчетах часового расхода топлива необходимо учитывать действительную плотность топлива, измеряемую с помощью ареометра или другого аналогичного прибора. Кроме того, при данном способе измерения необходимо постоянно вносить поправки на изменение температуры окружающей среды. К тому же, если расход топлива определяют открытыми сверху емкостями-мерниками с подачей топлива к двигателю самотеком, то давление на входе дизеля может отличаться от обычных условий эксплуатации. Создание реальных условий работы дизеля вызвало бы необходимость значительного усложнения измерительного стенда.
Поэтому в данном случае целесообразно применять объемные мерники закрытого или герметичного типа, называемые штихпроберами. Они позволяют поддерживать в системе реальное давление, соответствующее давлению на входе в топливную систему двигателя. Кроме того, в случае запаздывания переключения питания не происходит остановка дизеля, в отличие от открытых мерников.
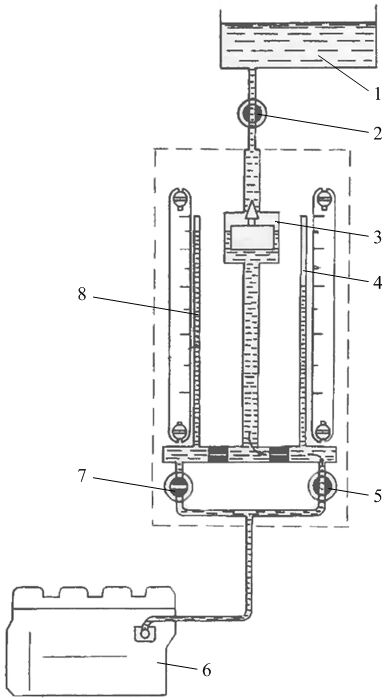
Схема штихпробера показана на рисунке 1.1. Здесь имеется дополнительная емкость V1, установленная над основными мерниками. В емкость входит трубка 2 от верхнего мерника V2, а трубкой 4 она соединена с топливным баком 5. По мере расхода топлива дизелем 9 по трубке 8 из мерника V3 такое же его количество поступает по трубке 4 в дополнительную емкость, поэтому в процессе измерения давление над уровнем топлива в мерниках не меняется.
Измерением расхода топлива управляют трехходовым краном 7, имеющим положения: «Заполнение мерников», «Питание из бака» и «Измерение». Кран 6 предназначен для выпуска воздуха из системы в начальный период заполнения мерников. В случае несвоевременного переключения крана 7 в положение «Заполнение мерников», после того как уровень топлива минует отметку минимального объема, поступление топлива в двигатель продолжится через трубки 2 и 4.
Точность измерения расхода топлива объемным способом во многом зависит от своевременного запуска и остановки секундомера при прохождении топливом контрольных отметок. Поэтому целесообразным видится применение устройств, использующих различные физические явления, позволяющие отказаться от использования ручного секундомера. Прежде всего, это фотоэлектрические и электромагнитные датчики, датчики сопротивления, температуры, емкости и другие бесконтактные датчики. Подобные устройствами оснащают все современные стенды для измерения расхода топлива дизелем, что позволяет полностью автоматизировать процесс исследования. Результаты измерений выдаются в виде протокола в любом, удобном для дальнейшего использования виде.
Рисунок 1.1 – Схема работы штихпробера: 1, 6, 8 – краны; 2, 4, 8 – трубки с рисками; 3, 10, 11 – емкости штихпробера; 5 – топливный бак; 9 – дизель.
Следующий прибор для определения расхода жидкости имеет называние флоуметр. Работа данного прибора основана на использовании принципа изменения напора жидкости как функции ее расхода через калиброванное отверстие. Схема флоуметра представлена на рисунке 1.2.
Рисунок 1.2 – Схема работы флоуметра: 1 – топливный бак; 2, 5, 7 – краны; 3 – поплавковая камера с поплавком; 4, 8 – мерные трубки; 6 – дизель.
Основной частью флоуметра является напорная трубка, соединенная с поплавковой камерой, с помощью которой поддерживается определенный уровень топлива. Измерения расхода топлива производят по шкалам, установленным на мерных стеклянных трубках, которые через горизонтальные калиброванные каналы (жиклеры) соединены с напорной трубкой.
Рассмотрим принцип работы флоуметра.
Топливо из бака 1 через разобщительный кран 2 поступает в поплавковую камеру 3, откуда через нижние регулировочные краны 5 или 7 подводится к потребителю 6, проходя при этом соответствующее калиброванное отверстие. Одновременно топливо поднимается в мерные трубки 4 и 8, верхний срез которых выведен выше уровня топлива в поплавковой камере.
Вследствие такого положения возникает потеря напора, и уровень топлива в мерных трубках понижается относительно уровня в поплавковой камере. Так как потеря напора зависит от скорости истечения топлива через калиброванное отверстие, то чем больше расход, тем ниже опускается уровень в мерных трубках. Таким образом, расход топлива определяется по шкалам на мерных трубках деления, которых соответствуют расходу в литрах за час (л/ч).
Из недостатков флоуметра можно отметить, что с изменением плотности и температуры топлива снижается точность показаний прибора.
Следующий прибор, называемый ротаметром, имеет схожий с флоуметром принцип работы, за исключением того, что в данном приборе поплавок или поршень непосредственно является указателем расхода топлива. Его схема изображена на рисунке 1.3. Ротаметр представляет собой вертикально установленную стеклянную трубку, имеющую равномерное расширение к верху, в которую помещён поплавок. Поплавок может иметь любую форму: сфера, диск, поршень и т.д. (рисунок 1.4).
Рисунок 1.3 – Схема работы ротаметра: 1 – топливный бак; 2 – разобщительный кран; 3 – конусная трубка; 4 – поплавок; 5 – мерная шкала; 6 – дизель.
Рассмотрим работу ротаметра. Топливо из бака 1 проходит через кран 2 к конусообразной трубке 3, в которой расположен поплавок 4, далее, двигаясь по трубке вверх, топливо омывает собой тело поршня. На поршень действует сила тяжести, направленная вниз, в то время как двигающаяся снизу вверх жидкость заставляет подниматься поршень. Как только сила тяжести поршня и сила потока жидкости уравновесятся, поршень займет определенное положение, образовав кольцевой зазор, через который топливо пройдет дальше к двигателю 6. Зафиксировав положение поршня по шкале 5 можно определить расход топлива в л/ч. Также возможен и дистанционный съем показаний с ротаметра. Для этого поршень снабжается хвостиком, который можно присоединить к любому типу датчиков (оптический, индукционный, ультразвуковой и т.д.).















