ПЗ (1226198), страница 4
Текст из файла (страница 4)
По второму варианту на противоположной стороне платформы расположен механизм рабочего перемещения платформы.
Механизм рабочего перемещения платформы (рисунок 2.8) предназначен для ее перемещения в процессе работы гайковертного агрегата. Механизм состоит из двух раздельных приводов, каждый на свой рельс. Приводы механизма электрические. Каждый из приводов включает в себя электродвигатель, ременную передачу, редуктор и цепные передачи.
Ведомым элементом привода является ролик, контактирующий с головкой рельса. Привод прижатия ролика к головке рельса пневматический. Усилие прижатия передается на ролик от штока пневмоцилиндра через рычажную балку, на которой и закреплен с возможностью принудительного вращения ролик.
Возврат рычажной балки с роликом в транспортное положение производится от противовеса при прекращении подачи сжатого воздуха в пневмоцилиндр.
Для снабжения всего комплекса электроэнергией на платформе смонтирована автономная электростанция мощностью 50 кВт.
Для обеспечения пневмоцилиндров сжатым воздухом, а также для использования штатной тормозной магистрали платформы для её торможения предусмотрен компрессор.
|
| Рисунок 2.8 – Привод перемещения платформы |
2.2. Порядок работы, выполняемой с применением платформы
При использовании платформы для транспортировки путевого гайковерта для сплошного отвинчивания гаек клеммных болтов в "окно", работа по отвинчиванию гаек клеммных болтов монтерами пути не производится, скорость поездов не ограничивается.
После проследования последнего графикового поезда, оформления закрытия перегона, отключения контактной сети, ограждения места работ установленным порядком к месту работ прибывает рабочий поезд. Схема поезда представлена на рисунке 2.9.
Путевой гайковерт сгружают с платформы и приводят в рабочее положение. Путевой гайковерт производит сплошное откручивание гаек клеммных болтов на инвентарных рельсах, оставляя прикрепленными по 8 клеммных болтов на каждом звене (в зоне стыков). Гайковерт сопровождает платформа транспортировки.
Двадцать монтеров пути снимают клеммные болты на инвентарных рельсах, откручивают оставшиеся клеммные болты в зоне стыков.
Тринадцать монтеров пути производят зарядку оборудования для надвижки плетей (салазочного типа).
После укладки 100 м плетей состав останавливается. Шесть монтеров пути закрепляют торцовыми ключами клеммные болты на 10 м правой и левой нитей, начиная на расстоянии 55 м от начала плети. После этого работа состава продолжается. В конце участка монтеры пути разряжают устройство для надвижки плетей.
Двадцать два монтера пути переходят на установку клеммных сборок на всем протяжении рельсовых плетей. Два монтера пути разболчивают стыки на инвентарных рельсах оставляя их на одном болту.
Путеукладочные краны собирают инвентарные рельсы, шесть монтеров пути собирают полушпалки, металлические ползуны, инструмент на платформы.
|
| Рисунок 2.9 – Технологическая цепочка машин при замене инвентарных рельсов рельсовыми плетями |
По мере освобождения фронта работ кранами к месту работ прибывает вторая платформа с завинчивающим гайковертом или машина ПМГ и которая производит сплошное закрепление гаек клеммных болтов.
После проверки состояния пути, устранения выявленных неисправностей, подачи напряжения в контактную сеть перегон открывается для движения со скоростью первых двух не более 25 км/ч, последующих с установленной. График производства работ представлен на рисунке 2.10.
2.3. Схема формирования поезда с использованием
самоходной платформы
Хозяйственные поезда, состоящие из отдельных единиц самоходного подвижного состава (СПС) и предназначенные для проведения планово-предупредительной выправки и текущему содержанию пути, среднего, усиленного и капитального ремонтов пути, должны формироваться по схемам, которые отвечают требованиям безопасности движения по условиям устойчивости от выжимания и опрокидывания единиц СПС и по прочности металлоконструкций экипажа от действия продольных сил.
Хозяйственные поезда должны формироваться на железнодорожных станциях формирования, на базе опытной путевой машинной станции (ОПМС), на базе опытной механизированной дистанции пути (ОПЧМ), на базе путевой машинной станции (ПМС), на базе дистанции пути (ПЧ), на одной из железнодорожных станций, ограничивающих закрываемый перегон в соответствии с Инструкцией по обеспечению безопасности движения поездов при производстве путевых работ.
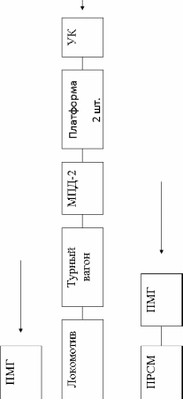
Стандартная схема формирования хозяйственного поезда для замены инвентарных рельсов на рельсовые плети со сваркой представлена на рисунке 2.11.
|
Рисунок 2.10 – График производства работ по замене инвентарных рельсов на рельсовые плети с применением путевого гайковерта (ПОГ) |
|
| Рисунок 2.11 – Стандартная схема формирования хозяйственного поезда для замены инвентарных рельсов на рельсовые плети со сваркой: ПМГ – путевой моторный гайковерт; МПД –2 – моторная платформа; УК – кран укладочный УК 25/9; ПРСМ – путевая рельсосварочная машина |
|
| Рисунок 2.12 – Схема формирования хозяйственного поезда с применением устройства транспортировкигайковерта для отвинчивания гаек: МПТ – мотовоз подъемно-транспортный; УТГ – устройство транспортировки гайковерта |
Применяя самоходную платформу для транспортировки гайковерта, мы изменяем схему формирования поезда.
Схемы формирования хозяйственного поезда могут изменяться при внедрении новых единиц СПС и технологии работ. В этом случае каждая единица СПС должна быть проверена руководителем работ на устойчивость от выжимания и опрокидывания, а также на проходимость кривых малого радиуса.
Как было отмечено в предыдущей главе, одним из недостатков машины ПМГ и созданных по ее принципу действия является то, что они не могут быть применены в технологических процессах смены инвентарных звеньев на плети. Это обусловлено тем, что их гайковертам, снабженным трехшпиндельными головками, мешают уложенные предварительно плети. Поэтому весьма трудоемкую операцию по отвинчиванию гаек производят путейцы перед “окном” “под проходящими поездами”.
Таким образом, исключая ПМГ из процесса, и применяя путевой гайковерт, транспортируемый на устройстве транспортировки, схема формирования хозяйственного поезда приобретает вид, представленный на рисунке 2.12 (для варианта 1, для варианта 2 МПТ исключается).
Схема формирования хозяйственного поезда проверяется исходя из условий устойчивости от выжимания и опрокидывания каждой единицы СПС от действия возможных максимальных продольных сил в поезде и проходимости сцепов из единиц СПС кривых участков пути.
В нашем случае проверить на неблагоприятные воздействия следует мотовоз МПТ (для варианта 1), т.к. проверять УТГ, смонтированное на базе стандартной грузовой платформы, нет необходимости.
Устойчивость проверяемой единицы СПС обеспечивается, если вес части хозяйственного поезда, прицепленной со стороны хвостовой части поезда, не будет превышать предельных значений. При этом вес хвостовой части хозяйственного поезда должен рассчитываться в зависимости от руководящего уклона на маршруте следования поезда.
При превышении веса хвостовой части поезда на автосцепке проверяемой единицы СПС необходимо переформировать эту часть поезда таким образом, чтобы проверяемая единица СПС была установлена в поезде ближе к хвостовой части.
Схемы формирования хозяйственного поезда по условиям устойчивости от выжимания и опрокидывания проверяются в следующем порядке:
- составляется схема формирования хозяйственного поезда;
- уточняется маршрут следования и руководящий уклон;
- применяя приложение № 11 /30/, с учетом руководящего уклона определяется предельный вес поезда, который может быть прицеплен к проверяемой единице СПС;
- применяя приложение № 12 /30/, определяется вес поезда, прицепленного к проверяемой единице СПС;
- с учетом полученных результатов принимается решение о возможности безопасного движения хозяйственного поезда по маршруту или о необходимости его переформирования.
Вес хвостовой части хозяйственного поезда, прицепленного к проверяемой единице СПС, необходимо, определять сложением веса отдельных единиц СПС этой части поезда. Максимальный учетный вес единиц СПС указан в /30/. Хвостовая часть после МПТ состоит из трех грузовых платформ, МПД-2 и укладочного крана. Максимальный учетный вес этих единиц по /30/ при самом неблагоприятном значении руководящего уклона составляет:
платформа – 530 т;
МПД-2 – 867 т;
УК 25/9 – 2444 т.
Таким образом, допускаемый максимальный вес хвостовой части поезда, который может выдержать МПТ, составляет
5303+867+2444=4919 тонн.
Проверим фактическую нагрузку. По [30] фактическая максимальная нагрузка от вышеуказанных единиц составляет:
платформа – 83 т;
МПД-2 – 42 т;
УК 25/9 – 102 т.
Таким образом, фактический вес хвостовой части поезда, который воздействует на МПТ, составляет
833+42+102=393 тонны, что значительно меньше, допускаемого значения.
При отправлении к месту работ и обратно хозяйственного поезда с локомотивом или с самоходной единицей СПС, установленными в хвосте этого поезда, его предельный вес необходимо определять на автосцепке проверяемой единицы СПС со стороны головной части. В нашем случае такой схемы нет.
Минимальные радиусы проходимости кривых хозяйственным поездом произвольного формирования устанавливают на основании значений радиусов проходимости сцепов всех единиц СПС в поезде согласно /30/. Минимальный радиус для всего поезда принимается по максимальному значению радиуса, определенному из всех проверенных сцепов поезда.
Допускаемые скорости движения хозяйственного поезда принимаются по наименьшей из допускаемых скоростей входящих в состав поезда отдельных единиц СПС, приведенных в Нормах допускаемых скоростей движения специального подвижного состава (мотовозов, дрезин, специальных автомотрис, железнодорожно-строительных машин) по железнодорожным путям колеи 1520 (1524) мм федерального железнодорожного транспорта, Инструкции по обеспечению безопасности движения поездов при производстве путевых работ и в других нормативных актах МПС России.
В нашем случае ограничение скорости производится до 90 км/час по факту наличия в составе поезда МПТ и МПД-2.
3. Расчет технических параметров
-
Расчет параметров установки и закрепления гайковерта
3.1.1. Порядок погрузки
На рисунках 2.2, 2.3 и 2.4 представлена схема установки и крепления гайковерта и противовеса на платформе для варианта 1 и для варианта 2. Для обоих вариантов порядок погрузки следующий. Перед погрузкой на пол платформы установить подкладки и прибить каждую к деревянному полу платформы восемью гвоздями. Гайковерт и противовес закрепить растяжками и увязкой, которые туго затянуть. Бункер устройства погрузки-выгрузки закрыть на ключ для предотвращения свободного доступа к гайковерту.
-
Определение общего центра тяжести груза
на платформе
3.1.2.1. Вариант 1
Контроль положения ЦТгр выполняется путем расчета расстояния от центра тяжести груза до поперечной оси платформы (lc) платформы (вс) (см. рисунок 2.2 и 2.3)
, мм (3.1)
где L - длина платформы;
Q1 - вес гайковерта и устройства для его погрузки-выгрузки
Q1 = 4000 кг.
Qn – вес штабеля шпал, Qn = 4242 кг
,
- расстояние от торцевого борта платформы до центра тяжести груза и противовеса.
bc=0
Допустимое продольное смещение общего центра тяжести груза на платформе [lc] = 3000 мм, таким образом, выбранная схема погрузки приемлема lc<[lc].
3.1.2.2. Вариант 2















