ПЗ (1226198)
Текст из файла
| 4. | ТЕХНОЛОГИЯ ИЗГОТОВЛЕНИЯ ДЕТАЛИ……………………………. | 63 |
| 5. | РАСЧЕТ ЭКОНОМИЧЕСКОЙ ЭФФЕКТИВНОСТИ ПРИМЕНЕНИЯ ПЛАТФОРМЫ ДЛЯ ТРАНСПОРТИРОВКИ ГАЙКОВЕРТА…………. | 77 |
| 6. | БЕЗОПАСНОСТЬ ЖИЗНЕДЕЯТЕЛЬНОСТИ ПРИ РАБОТЕ С ПЛАТФОРМОЙ ДЛЯ ТРАНСПОРТИРОВКИ ГАЙКОВЁРТА………………………………………………………………. | 85 |
| СПИСОК ЛИТЕРАТУРЫ……………………………………………………… | 99 | |
ВВЕДЕНИЕ
В ОКБ “Путевые машины” изготовлен и испытан опытный образец путевого гайковертного агрегата (гайковерта). Гайковерт с установленной мощностью 28 кВт предназначен для отвинчивания гаек клеммных болтов при замене инвентарных рельсов на плети с производительностью 0,6 км/ч.
В настоящее время в комплексе вопросов, связанных с вводом гайковерта в эксплуатацию, основными являются технические вопросы его доставки на перегон и обратно, а также обеспечение электроэнергией соответствующей мощности при его работе.
Для решения этих вопросов, исходя из массо-габаритных характеристик гайковерта (масса 3 т, габарит 370023501400), могут быть применены известные технические средства и выполняемые ими функции, а именно грузовая платформа для перевозки гайковерта и сопровождающее ее грузоподъемное устройство (кран) для его снятия и установки.
Однако наиболее рациональным вариантом является создание специализированного устройства, объединяющего вышеуказанные функции, и представляющего собой грузовую 4-х осную самоходную платформу со смонтированным на ней грузоподъемным оборудованием, оборудованием автономного электропитания, приводом рабочего передвижения и т.п.
Применение такой платформы позволит отказаться от использования сопровождающего гайковерт кранового устройства (крана) и дрезины.
Кроме того, обустроенная платформа обеспечит возможность использования на ней инвентарных специализированных устройств и элементов закрепления гайковерта при его транспортировке, и защитит его от воздействия атмосферных осадков и постороннего доступа при расположении в закрытой конструкции ангарного типа.
Целью дипломного проекта является разработка конструкции комплекса устройств смонтированных на платформе для транспортировки гайковерта.
В первой главе проекта проведен анализ существующих конструкций гайковертов и условий их доставки на перегон. Рассмотрен технологический процесс с использованием путевого машинного гайковерта существующей конструкции, отмечены недостатки его применения, исследованы условия применения нового гайковерта.
Во второй и третьей главах отражена разработка конструкции платформы для транспортировки гайковерта и приведены расчеты основных узлов и механизмов.
Технологическая часть (раздел 4) содержит разработку технологического процесса изготовления детали.
В экономической части (раздел 5) произведен расчет экономической эффективности применения платформы.
В разделе проекта, касающегося безопасности и охраны труда (раздел 6) составлена инструкция по безопасному производству работ при использовании платформы для транспортировки гайковерта.
В заключение проекта приведен список использованной литературы.
-
ОБЗОР И АНАЛИЗ СОСТОЯНИЯ ПРОБЛЕМЫ
1.1. Анализ гайковертных работ в путевом хозяйстве
Массовое отвинчивание и завинчивание гаек болтов производится в составе следующих технологических процессов по обслуживанию железнодорожного пути /20, 24/:
-
Смена инвентарных рельсов на плети. Гайки клеммных болтов отвинчиваются, клеммные крепежные комплекты демонтируются. После этого инвентарные рельсы извлекаются из подрельсовых пазух подкладок и на их место устанавливаются плети. Клеммные крепежные комплекты монтируются обратно на подкладки, и производится завинчивание гаек клеммных болтов.
-
Ежегодная смазка резьбы клеммных болтовых соединений. В ходе выполнения этого технологического процесса гайки клеммных болтов отвинчиваются на несколько оборотов, резьбовое соединение смазывается, гайки завинчиваются с требуемым моментом.
-
Разрядка температурных напряжений в плетях. Технологический процесс производится при изменении среднесуточной температуры при длине плети 800 м - два раза в год, а при длинных и сверхдлинных плетях – чаще. Гайки клеммных болтов отвинчиваются до полного снятия осевого усилия. После распределения температурных напряжений гайки завинчиваются.
-
Опыт показывает, что спустя некоторое время после выполнения любого из трех вышеописанных технологических процессов, усилие прижатия рельсов к подкладкам снижается, поэтому в «Технических указаниях по устройству, укладке и содержанию бесстыкового пути»/26, 27/ рекомендуется повторный проход гайковерта с подтяжкой резьбовых соединений.
Сам приведенный перечень технологических процессов показывает, насколько массовыми являются операции завинчивания и отвинчивания гаек клеммных болтов, причем операции завинчивания и отвинчивания являются практически равнообъемными (за исключением последнего технологического процесса, где происходит только завинчивание). Поэтому вопросам механизации завинчивания и отвинчивания гаек клеммных болтов на перегоне уделяется достаточно большое внимание, начиная с конца 50 – х годов, то есть с момента начала массовой укладки железнодорожного пути на железобетонных шпалах. За это время разработано большое количество конструкций путевых гайковертных агрегатов, краткий обзор которых приводится ниже.
-
Обзор известных конструкций гайковертных агрегатов.
Анализ эффективности их применения
Механизация завинчивания и отвинчивания резьбовых путевых соединений может производиться двумя способами: при помощи механизированного путевого инструмента - легких переносных гайковертов или на основе тяжелой техники – гайковертных машин.
Достоинством первого способа является низкая величина капиталовложений. Основной, весьма существенный в условиях российских железных дорог, недостаток этого способа – низкая производительность труда. Интенсивность грузоперевозок по отечественным дорогам и слабая разветвленность транспортной сети предопределяют требования по предельно достижимой интенсификации путевых работ. В считанные часы технологического "окна" необходимо произвести работы на фронте, измеряемом километрами пути. При использовании легких гайковертов это означает задействование в технологическом "окне" путевых бригад численностью 60 – 80 человек. Вместе с тем, при наличии достаточно разветвленной сети, чем характеризуется большинство зарубежных дорог, требования к интенсивности путевых работ ниже, что и обуславливает более широкое применение за рубежом гайковертов легкого типа.
Гайковертные машины тяжелого типа обладают не только более высокой стоимостью, но и более высокой производительностью. Известны два типа машин – циклового и непрерывного действия. Экипажная часть машин циклового действия (отечественная КБМ-1 и зарубежные многооперационные тяжелые гайковерты) совершает остановку в каждом цикле обработки болтовых скреплений. Технологические ходы обработки гаек (подъем – опускание шпинделей, завинчивание или отвинчивание гаек) и перемещения машины на следующую позицию полностью разделены во времени, что приводит к относительному снижению производительности. Интенсификация работы производится за счет одновременной обработки большого числа болтовых соединений. Так, на КБМ-1 одновременно обрабатываются 32 клеммных болта на 8 шпалах. В свою очередь, это приводит к повышению конструктивной сложности, следовательно, к удорожанию и снижению надежности. При многопозиционной обработке безотказность работы машины зависит от точности межосевого расстояния шпал, причем, чем больше шпал обрабатывается за раз, тем эта зависимость действеннее. При эксплуатационном состоянии пути точность межосевого расстояния невысока, что приводит к сбоям полуавтоматического режима многопозиционной машины.
У машин непрерывного действия часть времени перемещения экипажной части совмещена с рабочими технологическими ходами (подъем и опускание шпинделей, завинчивание и отвинчивание гаек). В силу этого производительность такой машины выше, чем циклической. В частности, на машине ПМГ, четыре трехшпиндельных гайковерта управляются с работой по завинчиванию гаек клеммных болтов, выполнением этой же работы на циклической КБМ-1 заняты 32 гайковерта при примерно равной производительности. Поиск гайки каждым торцевым ключом производится индивидуально, поэтому нет набегающей ошибки, как на КБМ-1.
П
Рисунок 1.2 - Разрез А-А на рисунке 1.1
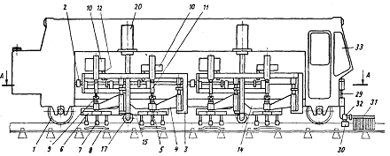
Рисунок 1.1 - Путевой машинный гайковерт
ервый образец путевого машинного гайковертного агрегата непрерывного действия испытан в 1976 году. На основе этого образца был разработан и с 1982 года выпускается серийно самоходный путевой гайковертный агрегат непрерывного действия – машина ПМГ (рисунок 1.1 –1.3) /27, 28/.
Рисунок 1.3 - Общий вид путевого машинного гайковерта
Основой машины ПМГ является самоходный двухосный экипаж с дизель-генераторной установкой выходной мощностью 200 кВт. Машина может работать с гайками клеммных и закладных болтов в режимах: «отвинчивание», «завинчивание» и «отвинчивание – смазка - завинчивание», причем в последнем режиме при обработке клеммных и закладных болтов задействованы все 16 гайковертов машины, расположенные в 4 рядах. Гайковерты первого (гайки клеммных болтов) и третьего (гайки закладных болтов) рядов работают на отвинчивание, второго и четвертого – на завинчивание.
Все гайковерты снабжены трехшпиндельными головками, обеспечивающими обработку гаек при непрерывном перемещении машины по роторно-конвейерному принципу (рисунок 1.4).
Роль поступательного конвейера в данном случае выполняет железнодорожный путь с обрабатываемыми гайками, роль ротора – вращающаяся головка. За время поворота ротора на угол
оси шпинделя и обрабатываемой гайки неподвижны друг относительно друга. Привод перемещения осуществляется от электродвигателей постоянного тока (питание – через тиристорный преобразователь), привод гайковертов – от асинхронных электродвигателей переменного тока.
В наше время на базе машины ПМГ были созданы ее модификации. Так были созданы и реализованы проекты машин ППГ-1М (путевой прицепной гайковерт) (рисунок 1.5) и самоходный дизельный гайковерт СДГ-05 (самоходный дизельный гайковерт) (рисунок 1.6).
Рисунок 1.6 - Общий вид самоходного дизельного гайковерта
Рисунок 1.5 - Общий вид путевого прицепного гайковерта
Ниже приведены технические характеристики всех перечисленных выше машин.
Техническая характеристика ПМГ.
Мощность силовой установки, кВт 200
Скорость конструкционная, км/ч 100
Производительность средняя, км/ч 0,7
Момент крутящий Нм (кгсм):
- при отвинчивании гаек, не менее 400 (40)
- при завинчивании гаек клеммных болтов 200 (20)
- при завинчивании гаек закладных болтов 120 (12)
Габаритные размеры, мм:
- длина по осям автосцепок 12950
- ширина 3160
- высота 3900
Масса конструкционная, т, не более 36,5
Характеристики
Тип файла документ
Документы такого типа открываются такими программами, как Microsoft Office Word на компьютерах Windows, Apple Pages на компьютерах Mac, Open Office - бесплатная альтернатива на различных платформах, в том числе Linux. Наиболее простым и современным решением будут Google документы, так как открываются онлайн без скачивания прямо в браузере на любой платформе. Существуют российские качественные аналоги, например от Яндекса.
Будьте внимательны на мобильных устройствах, так как там используются упрощённый функционал даже в официальном приложении от Microsoft, поэтому для просмотра скачивайте PDF-версию. А если нужно редактировать файл, то используйте оригинальный файл.
Файлы такого типа обычно разбиты на страницы, а текст может быть форматированным (жирный, курсив, выбор шрифта, таблицы и т.п.), а также в него можно добавлять изображения. Формат идеально подходит для рефератов, докладов и РПЗ курсовых проектов, которые необходимо распечатать. Кстати перед печатью также сохраняйте файл в PDF, так как принтер может начудить со шрифтами.















