АРХИТЕКТУРА ГОТОВО(проверено) (Восстановлен) (1222994), страница 3
Текст из файла (страница 3)
внутренний слой - «Изовер-КЛ-34» (Вент Фасад-Низ) по ТУ 5763-005-56846022-2009-КЛ-34 с коэффициентом теплопроводности λ=0,045 Вт/мК, толщиной 150мм;
Параметр горючести плит НГ (негорючие) по ГОСТ 30244-94.
Фасад навесной вентилируемый с облицовкой по несущему каркасу из профиля. Конструкция вентилируемого фасада обеспечивает вывод влаги из утеплителя, позволяет получить требуемый заказчиком внешний вид.
Внутренние стены надземной части – монолитные железобетонные из бетона класса В25 толщиной 200мм.
Перекрытия – монолитные железобетонные из бетона класса В25 толщиной 200мм.
Утеплитель над техническим подпольем, в чердачном перекрытии и в покрытии - плиты теплоизоляционные из базальтового волокна марки «Базалит ПТ-200», Y=175кг/м³ по ТУ 5769-017-00287220-2005, λ=0.048 Вт/мК.
Толщины утеплителя назначены по результатам теплотехнического расчета и приведены в графической части проекта.
Параметр горючести плит НГ (негорючие) по ГОСТ 30244-94.
Перегородки:
- межкомнатные – гипсовые пазогребневые плиты толщиной 100мм;
- в ванных и санузлах, межквартирные - камни туфобетонные, толщиной 100 мм (200мм – межквартирные).
Перемычки – сборные железобетонные по серии 1,038,1-1 вып.1 и металлические индивидуального изготовления.
Лестничные клетки – незадымляемые типа Н1, с естественным освещением. Лестничные площадки – монолитные железобетонные, лестничные марши – сборные железобетонные.
Лифты - производства Китай, грузоподъемностью 400, 1000кг, без машинного помещения.
Стены шахт лифтов - монолитные железобетонные толщиной 200мм (бетон В25).
Полы на первом этаже в жилых комнатах, прихожих, кухнях, коридорах – линолеум на теплоизоляционной основе по фанере на лагах. Со второго по четырнадцатый этаж - линолеум поливинилхлоридный на звукоизоляционной основе по плите перекрытия. В санузлах и ванных комнатах – керамогранит. В тамбуре и на лестничных клетках – бетонные полы с обеспыливанием.
Двери наружные – металлические, утепленные (Rreg=0,90м2·˚С/Вт) с домофоном.
Двери тамбура – деревянные марки ДН по ГОСТ 24698-81.
Двери входные в квартиры - деревянные усиленные марки ДГУ по ГОСТ 6629-88.
Двери межкомнатные - деревянные улучшенного качества по ГОСТ 6629-88.
Противопожарные двери – производства НПО «ПУЛЬС», г.Москва.
Окна и балконные двери – индивидуальные с двухкамерными морозостойкими стеклопакетами из ПВХ профилей по ГОСТ 30674-99, с приведенным сопротивлением теплопередаче R= 0,81м2х˚С/Вт, с обеспечением притока воздуха за счет щелевого проветривания.
Крыша – совмещенная с монолитным железобетонным покрытием.
Кровля - рулонная двухслойная из техноэласта по ТУ 5774-003-00287852-99 с внутренним организованным водостоком.
Вертикальная гидроизоляция наружных стен технического подполья - из техноэласта ЭПП ТУ 5574-003-179-251-62-00 толщиной 3,8.
Горизонтальная гидроизоляция – из слоя цементно-песчаного раствора состава 1:2.
Мусоропровод - система удаления бытовых отходов «ПРАНА» с шахтой из нержавеющей стали (типа НСП).
Отмостка – асфальтобетонная, шириной 1000мм толщиной 30мм по щебеночной подготовке толщиной 100мм с уклоном от здания не менее 10%.
Крыльца и пандусы - монолитные железобетонные (бетон В20, F75).
Вокруг здания предусмотрен дренаж.
1.3 Обоснование выбора конструктивных элементов здания
1.3.1 Фундаменты
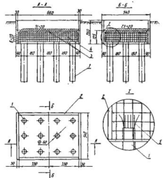
Фундаменты - свайные с монолитным ростверком. Сваи сборные железобетонные сечением 300х300 по серии 1.011.1-10 вып. 1. Бетон свай классов В25 F75 W6. Длина свай 7.0, 8.0, и 11.0м. Проектная расчетная нагрузка на сваю 50т.
Под острием свай принят - суглинок твердый (ИГЭ-5) с характеристиками: Il<0, с=72кПа, φ=16°, e=0.58, E=30МПа. Ростверк высотой 600мм из бетона В25 F75 W6, арматура класса A-III.
Выбор данного типа фундамента связан с ограниченным пространством застройки, сложности формы здания и прилеганием к торцам здания двух 10этажных панельных блок секций.
Рисунок 1 - Фундаменты
Перед началом земляных работ производится очистка территории, снос старых строений, вынос наружных коммуникаций, разбивка основных геодезических осей здания, планировка территории.
Планировка работы и срезка растительного слоя выполняется бульдозером выполняют разметку места устройства фундамента.
Забивку свай осуществляют копером с-870.
Для устройства опалубки ростверка применяют деревометаллические щиты, имеющие многократную оборачиваемость. Готовые щиты завозят на объект автотранспортом, складируют на бровке траншеи. Пакет опалубных щитов подают в траншею монтажным краном. Крепления щитов между собой осуществляют крючьями, проволочными стяжками, прижимными скобами.
Армирование ростверка выполняется сетками и каркасами, которые подаются в опалубку монтажным краном или вручную. Установку арматурных изделий производят с учётом защитного слоя бетона. Перед бетонированием опалубку очищают от мусора, заделывают щели. Бетонная смесь транспортируется на объект в бетоновозах или на автосамосвалах выгружаются в ковши – бадьи, монтажным краном подается в опалубку. При достижении бетоном 75% прочности – опалубку снимают. Практически опалубку снимают через три дня.
1.3.2 Стены
Стены здания выполняют несущие и ограждающие функции. Они должны быть прочными, устойчивыми, обладать достаточными теплозащитными и звукоизоляционными свойствами, быть долговечными и безопасными в пожарном отношении. Наружные стены монолитные железобетонные толщиной 200 мм. Для определения теплотехнических характеристик элементов, учитывающие влажностный режим помещений и зону влажности района строительства (см. табл. 1.1 и 1.2). Толщина слоя утеплителя проверяется теплотехническим расчетом:
1 – железобетонный слой (
); 2 – утеплитель (
);
Рисунок 2 – Расчетная конструкция стены
Сведения о конструкции, ее составе, толщине слоев, теплотехнических характеристиках материалов слоев ограждения сведены в таблице 1.10.
Таблица 1.10 – Теплотехнические характеристики элементов стены
| Наименование материала слоя | Толщина слоя (м) | Средний объемный вес (плотность) (кг/м3) | Коэффициент теплопроводности Вт/моС |
| железобетонный слой | 2500 | 1.69 | |
| Утеплитель - "Изовер-КЛ-34" | 0,045 |
1.3.2.1 Теплотехнический расчет ограждающих конструкций
Ограждающие конструкции здания по своим теплотехническим качествам должны обеспечивать в помещениях необходимый температурно-влажностный режим и ограничивать теплопотери здания в отопительный период года. Для этого общее сопротивление ограждения теплопередаче должно быть не менее требуемого R0тр, определяемое из санитарно-гигиенических условий и требований экономической эффективности.
Расчёт толщины утеплителя производится по формуле:
где R0тр - базовое значение требуемого сопротивления теплопередаче ограждающей конструкции,
, следует принимать в зависимости от градусо-суток отопительного периода, ГСОП, ͦ С сут/год, региона строительства, определяемое по формуле:
где a, b – коэффициенты, значения которых принимаются по табл. 3 СП 50.13330.2012;
ГСОП – градусо-сутки отопительного периода, определяемые по формуле:
где tот, zот - средняя температура наружного воздуха, °С, и продолжительность, сут/год, отопительного периода, принимаемые по [33] для периода со средней суточной температурой наружного воздуха не более 8°С,
tв- расчетная температура внутреннего воздуха здания, °С, принимаемая при расчете ограждающих конструкций групп зданий указанных [1, табл.3]: по поз. 1 - по минимальным значениям оптимальной температуры соответствующих зданий по ГОСТ 30494 (в интервале 20-22°С).
αв - коэффициент теплоотдачи внутренней поверхности ограждающих конструкций, принимается [35, табл.4];
αн - коэффициент теплоотдачи наружной поверхности ограждающей конструкции для условий холодного периода, принимается по [35, табл.6];
- коэффициент теплопроводности материала утеплителя.
Нормируемое значение приведенного сопротивления теплопередаче ограждающей конструкции,
,
, следует определять по формуле:
(1.7)
где
- базовое значение требуемого сопротивления теплопередаче ограждающей конструкции,
,
;
mp- коэффициент, учитывающий особенности региона строительства. В расчете по принимается равным 1.
Термическое сопротивление ограждающей конструкции с последовательно расположенными слоями следует определять как сумму термических сопротивлений отдельных слоёв.
| где R1, R2,…, Rn – термические сопротивления отдельных слоев ограждающей конструкции, [9, п. 2.5]; | |
где -толщина слоя, м; - расчетный коэффициент теплопроводимости материала слоя,
.
С учётом перечисленного формула 1.1 приобретает вид:
Вычисляем толщину утеплителя:
Принимаю толщину утеплителя 150 мм.
Проверяю полученные значения.















