2.Конструкторскаяя часть (1222698), страница 2
Текст из файла (страница 2)
Для привода механизмов башенных кранов применяют, как правило, асинхронные электродвигатели специального кранового типа.
Эти электродвигатели предназначены для работы как в помещении, так и на открытом воздухе. Поэтому их выполняют закрытыми, с наружным обдувом и противо-сыростной изоляцией. Так как двигатели рассчитаны на тяжелые условия работы, их механическая конструкция обладает повышенной прочностью.
Крановые электродвигатели допускают большие кратковременные перегрузки и имеют большие пусковые и максимальные моменты, которые превышают номинальные в 2,3-3,0 раза; при этом двигатели имеют относительно небольшие пусковые токи и малое время разгона.
Его колодки охватывают шкив, находящийся на противоположном редуктору конце вала. Оба двигателя соединены зубчатыми муфтами с быстроходным валом редуктора. Барабан одним торцом жестко Прикреплен к фланцу тихоходного вала редуктора, а вторым к фланцу оси, которая опирается через сферический подшипник на выносную опору 6 барабана. Лебедка крепится к поворотной платформе крана четырьмя болтами через опоры: две опоры у редуктора и две - на выносной опоре. Крепление каната к барабану - клиновое. Барабан имеет нарезку с параллельными канавками и резким переходом (типа «Лебус») для многослойной намотки каната.
Для подъема и спуска нормального груза включают основной электродвигатель при неработающем вспомогательном двигателе. Холостой крюк и легкие грузы поднимают (опускают) с большой скоростью при работе вспомогательного двигателя на больших оборотах. Посадочная скорость для любых грузов получается при совместной работе основного двигателя в режиме динамического торможения и вспомогательного двигателя на малой скорости (150 об./ мин). Для подъема грузов с малой скоростью включают оба двигателя.
Лебедка с последовательно расположенными двигателями (рисунок. 2.3, в, г) -рамной конструкции. На раме жестко укреплены редуктор, два электродвигателя и барабан. Двигатели соединены между собой зубчатой муфтой, а с редуктором - втулочно-пальцевой муфтой, шкив которой со стороны редуктора охватывают колодки тормоза. Тихоходный вал редуктора через зубчатую муфту соединен с барабаном. Второй конец барабана опирается на подшипник выносной опоры в. Барабан -с винтовой нарезкой, двумя ребордами и клиновым креплением каната. Лебедка работает так же, как двух двигательная с симметричным расположением двигателей.
На большинстве кранов серии КБ применяют однодвигательные унифицированные лебедки Л450, Л-500 и Л-600. Цифры после буквы Л (лебедка) обозначают межцентровое расстояние (мм) между крайними валами редуктора. Унифицированные лебедки используются и как грузовые, и как стреловые, например лебедка Л-600 применяется на кранах типа КБ-160.2 (КБ-401А, КБ-401Б) как грузовая и стреловая, а на КБ403А - как стреловая.
Все лебедки (рисунок 2.3.) имеют единую конструктивную схему с П-образной компоновкой. Электродвигатель, редуктор и барабан соединены в единый блок. Электродвигатель прикреплен к корпусу редуктора на фланце, а барабан жестко связан с выходным валом редуктора. При такой конструкции исключается необходимость тщательной выверки соосности соединений, что упрощает монтаж и эксплуатацию лебедок.
Лебедки представляют собой безрамную конструкцию с тремя (рисунок. 2.3, а) точками опоры А… В. Две опоры Б, В находятся под редуктором, третьей опорой А служит выносная опора барабана. При трехопорном опирании лебедки не приходится устанавливать выравнивающие прокладки и устраняется влияние на лебедку упругого изгиба рамы поворотной платформы при работе крана. Выходной вал (см. рис. 47) редуктора, жестко связанный с барабаном, опирается на три подшипника: два в редукторе и один в выносной опоре. Хотя трехопорные валы нужно тщательно выверять при установке, чтобы исключить дополнительные нагрузки на какой-либо из трех подшипников опор из-за их несоосности, в унифицированных лебедках опасность перегрузки подшипников опор исключена благодаря шарнирному креплению самого редуктора к поворотной платформе. При искривлении вала за счет неточности изготовления (эксцентриситет, перекосы) подшипники его не испытывают дополнительных нагрузок, так как редуктор может наклоняться на шарнирных опорах и поворачиваться на необходимый угол вокруг одной из опор. Опоры лебедки (рисунок. 2.3, б) выполнены каждая из двух втулок с шаровыми головками, вставленных с зазором в отверстие лапы редуктора (выносной опоры). Головки втулок охватываются сферическими шайбами. Сквозь шайбы и втулки пропущен анкерный болт, соединяющий опору с металлоконструкцией крана.
Грузовые лебедки наряду с нормальными скоростями подъема и опускания груза имеют скорость плавной посадки груза, что очень важно пр и монтаже сборных конструкций. Плавная посадка груза в лебедках Л-500 и Л-600 обеспечивается тормозным генератором, который позволяет снизить скорость не только опускания, но и подъема груза, что дает возможность повысить плавность отрыва груза от земли.
У лебедки Л450 (смотри рисунок. 2.3) редуктор-двухступенчатый цилиндрический с неразъемным корпусом. В нижней части редуктора есть две лапы, которыми он устанавливается на опоры поворотной платформы. Вал электродвигателя соединен с валом редуктора зубчатой муфтой.
Четыре крышки подшипников редуктора-фланцевые с болтовым креплением; крышки промежуточного и быстроходного валов вставные, крепящиеся разжимными кольцами. Тормозной шкив располагается на втором конце быстроходного вала редуктора. Тормоз закрепляется на корпусе редуктора двумя шпильками.
Лебедки Л-500 и Л-600 отличаются лишь размерами и числом зубьев. В этих лебедках в отличие от лебедки Л-450 применены двигатели с двумя выступающими концами вала. На валу, противоположном редуктору, закреплен тормозной шкив, Тормоз крепят на раме, прикрепленной к лапам двигателя. Редуктор также двухступенчатый, но с разъемным корпусом, что облегчает сборку и обслуживание редуктора. Быстроходный вал (смотри рисунок. 2.3) одним концом соединен через зубчатую муфту с электродвигателем. На другом конце быстроходного вала редуктора насажен ротор тормозного генератора. Его статор так же, как и электродвигатель, прикреплен к корпусу редуктора с помощью фланца.
В крышках тихоходного и быстроходного валов со стороны электродвигателя и барабана сделаны лабиринтные уплотнения. Второй конец быстроходного вала (со стороны тормозного генератора) имеет манжетное резиновое уплотнение. Все крышки подшипников редуктора закладные. Суммарный осевой зазор между этими крышками и подшипниками валов 0,4 мм. Этот зазор необходим для предотвращения защемления подшипников и достигается регулировочными кольцами, Барабаны — литые из чугуна, крепятся на болтах через фланец к выходному валу редуктора. Канат крепят к барабану клином.
Лебедка крана АБКС-5 - сдвоенная из монтажной и грузовой. На одной оси посажены два барабана с самостоятельными приводами. Барабаны имеют одинаковый диаметр, но разную канатоемкость. Вращение передается барабанам с помощью открытых передач, зубчатыми колесами которых являются венцовые шестерни барабанов, В грузовой лебедке применена редукционная муфта, позволяющая изменять скорость навивки каната при затормаживании корпуса муфты тормозом.
Лебедки кранов КБ-674 и его модификаций, КБ-503 и КБ-504 аналогичны по конструкции. Они имеют двигатель постоянного тока, соединенный одним концом с редуктором зубчатой муфтой. На другом конце вала насажен тормозной шкив, охватываемый колодками тормоза постоянного тока. Барабан соединен с выходным валом редуктора зубчатой муфтой. Все агрегаты лебедки установлены на общей раме. Барабан лебедки крана КБ-504 имеет две части с разными диаметрами: часть барабана с большим диаметром используется для намотки грузового каната, а с меньшим -для монтажа крана.
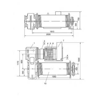
Лебедка крановая стреловая Л-600.6Б
Описание оборудования
Лебедка крановая стреловая Л-600.6Б Тяговое усилие, кгс........5000 Лебедка крановая стреловая Л-600.6Б предназначена для комплектации строительных башенных кранов. Условия, при которых может эксплуатироваться подъемник: 1. Температура от 40° до - 40°С, 2. Окружающая среда - невзрывоопасная, 3. Рабочее положение - крепление на поворотной платформе, 4. Режим работы -3М ГОСТ 25835-83 (L1, класс использования М3, легкий) по "Правилам" Госгортехнадзора, 5. Исполнение "У" категории 1 по ГОСТ 15150-69.
Состав оборудования
1 - редуктор, 2 - втулка зубчатая, 3 - втулка, 4 -электродвигатель, 5, 6 - кронштейн, 7 - кожух, 8 - тормоз, 9 - шкив тормозной, 10 - барабан в сборе.
Рисунок 2.3. Лебедка крановая стреловая Л-600.6Б
Тормозной генератор крана
Тормозной генератор (вихревая тормозная машина) применяется для регулирования скорости вращения электродвигателей грузовых лебедок.
Генератор (рис. 62, а) состоит из трех основных частей: стального статора 3 с внутренними выступающими полюсами (зубцами), обмотки возбуждения, установленной на статоре между зубцами, и ротора с короткозамкнутой обмоткой. Статор генератора крепится на фланце к корпусу двигателя или редуктора. Короткозамкнутый ротор насаживается на вал электродвигателя или первичный вал редуктора. Ротор с торца закрыт крышкой с жалюзи для вентиляции. Обмотка возбуждения питается постоянным током. Когда в обмотке течет ток, в воздушном зазоре между полюсами статора образуется неподвижное многополюсное магнитное поле.
Вихревой тормозной генератор ТМ-4:
а - конструкция, б - характеристика; 1 - торцовая крышка; 2 - ротор; 3 - статорные зубцы; .4 - обмотка возбуждения
Рисунок 2.4. Тормозной генератор крана
При вращении ротора стержни его короткозамкнутой обмотки пересекают неподвижное магнитное поле, вследствие чего в них возникает электродвижущая сила и вихревые токи, замыкающиеся через торцевые кольца ротора.
Взаимодействие токов в стержнях ротора с неподвижным магнитным полем статора создает тормозной момент, величина которого зависит от скорости вращения и силы тока в обмотке возбуждения, а направление всегда обратно направлению вращения ротора генератора. Типичная характеристика генератора приведена на рис. 62, б. Величина тормозного момента регулируется током возбуждения.
При соответствующем значении тока в обмотке возбуждения тормозной момент генератора так нагружает электродвигатель лебедки, что при спуске любого груза
можно снизить скорость двигателя, включив в цепь его ротора сопротивление.
Генератор предназначен для совместной работы с электродвигателями мощностью 16-30 кв.
2.3 Описание модернизируемых механизмов
Грузовая крановая лебедка Л-600
Лебедка крановая грузовая Л-600.4А предназначена для комплектации строительных башенных кранов. Условия, при которых может эксплуатироваться подъемник: 1. Температура от 40° до - 40°С, 2. Окружающая среда - невзрывоопасная, 3. Рабочее положение - крепление на поворотной платформе, 4. Режим работы - 3М ГОСТ 25835-83 (L1, класс использования М3, легкий) по "Правилам" Госгортехнадзора, 5. Исполнение "У" категории 1 по ГОСТ 15150-69.
Состав оборудования
1 - машина тормозная, 2 - редуктор, 3 - барабан, 4 - тормоз, 5 - кронштейн, 6 - электродвигатель, 7 - опора барабана, 8 - кожух, 9 - кронштейн.
Рисунок 2.5. Грузовая крановая лебедка Л-600
2.4 Работа крана и механизмов
В зависимости от конструкции крана и схемы электропривода управление отдельными механизмами кранов различных типов имеет свои особенности.
Подробные сведения об управлении приводятся в Инструкции по эксплуатации, придаваемой к крану заводом-изготовителем, с которой машинист должен внимательно знакомиться перед началом работы на кране.
При управлении краном следует соблюдать ряд положений, общих для кранов любого типа.
Переключение механизма с прямого хода на обратный можно производить только после полной остановки механизма. Внезапное переключение механизма без остановки вызывает большие динамические нагрузки на кран и может привести к поломке механизма и даже к аварии крана.
При необходимости быстрой остановки механизмов для предотвращения аварии или несчастного случая следует отключить аварийный выключатель. При этом отключится линейный контактор и электродвигатели будут отсоединены от питающей сети.
Запрещается использовать конечные выключатели для остановки механизмов крана, за исключением случаев проверки работы конечных выключателей перед началом смены.
Использовать переносной монтажный пульт для управления краном при перемещении груза запрещается, так как при переключении управления на переносный монтажный пульт в схеме крана закорачивается часть защитных устройств: максимальные реле, конечные выключатели, сигнализация. Кроме того, при управлении с пульта режимы работы электропривода не соответствуют нормальным режимам при управлении из кабины.
Направление движения всех рукояток, рычагов или маховиков контроллеров и командоконтроллеров, установленных в кабине крана (кроме контроллера механизма передвижения крана), должно соответствовать направлению вызываемых ими движений.
Следует помнить, что скорость подъема груза или стрелы увеличивается при переводе рукоятки контроллера от нулевой к последней позиции, а при спуске (за исключением лебедок с тормозными генераторами), скорость опускания груза или стрелы на первых позициях будет выше, чем на последней. В остальных механизмах скорость увеличивается при переводе рукоятки с нулевой позиции в последнюю, независимо от направления движения.
Натяжение стропов зачаленного груза выполняется установкой рукоятки команд до контроллер а в первую позицию подъема. Когда стропы натянутся, рукоятка переводится в третью позицию с выдержкой 1,2-1,5 сек во второй позиции. При необходимости повторного включения лебедки на «подъем», с тяжелым грузом на крюке, первую позицию подъема следует проходить с небольшой выдержкой времени (0,3-0,5 сек). Допускается груз поднимать на небольшое расстояние установкой рукоятки командо-контроллера во вторую позицию. Следует иметь в виду, что при этом сильно греется сопротивление электродвигателя. Третья позиция подъема является основной рабочей позицией.
Первая позиция «спуск» служит для опускания груза со скоростью около 4 м/мин. ВО второй позиции груз опускается со скоростью около 10 м/мин. Третья позиция «спуск» является основной рабочей позицией и ею следует пользоваться при опускании груза на большие расстояния.
Для выключения лебедки при опускании тяжелого груза, за 1-1,5 м до места остановки следует перевести рукоятку командоконтроллера из третьей позиции во вторую затем, после уменьшения скорости, в первую позицию и только после этого установить рукоятку в нулевую позицию.















