МУ (1222575), страница 2
Текст из файла (страница 2)
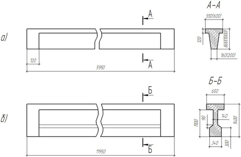
2.3. Выбор фундаментных балок
Фундаментные балки (рис. 5) образуют нижний пояс, связывающий блочные фундаменты по обрезу их верхних блоков и служат основанием ограждающих конструкций промышленного здания. Балки рассчитаны на нагрузку от веса кирпичных или блочных стен высотой до 24 метров. В альбомах типовых деталей приведены серийно выпускаемые фундаментные балки для промышленных зданий с шагом колонн 6 и 12 метров.
Рис. 5. Фундаментная балка и ее основные параметры: H – высота;
L – длина; B и b – ширина верхней и нижней части соответственно
Балки длиной 6 м, изготовляемые без предварительного напряжения, имеют марку ФБ (фундаментная балка), с добавлением цифр, указывающих номинальную длину балки и номер типоразмера. В марке предварительно напряженных балок длиной 12 м добавляется буква «Н» (напряженная).
Кондиционная фундаментная балка может разрушиться, если к ней имеют доступ агрессивные воды (неорганизованный сток в цехе), или она подвергается воздействию острого пара с агрессивными составляющими, или нагружена сверхпроектной нагрузкой, в результате опирания на нее не предусмотренных проектом конструкций.
2.4. Выбор подкрановых балок
Сборные железобетонные подкрановые балки (рис. 6) рекомендуется применять в реальных условиях, если для их изготовления на заводах имеется соответствующая технологическая оснастка.
а
б
Рис. 6. Подкрановые балки: а – пролетом 6 м
(размеры в скобках при Q = 30 т); б – пролетом 12 м
Подкрановые балки выполняют две функции одновременно: 1) связывая колонны по продольным осям здания, они придают каркасу необходимую жесткость и 2) являются основанием для подкрановых путей, передавая крановую нагрузку на колонны.
Подкрановые балки являются одновременно и строительной конструкцией, и частью кранового оборудования, отсюда особые требования к их расчету, изготовлению, монтажу и технической эксплуатации. Как правило, подкрановые балки выполняются железобетонными с предварительно напряженной арматурой для каркасов зданий с шагом колонн 6 и 12 метров.
Если в промышленном здании используется подвесной кран, а не опорный, то необходимости в применении подкрановых балок нет. Кран передвигается по направляющим, которые смонтированы к конструкциям перекрытия.
2.5. Выбор ферм или балок перекрытия
Если подкрановые балки, как конструктивные элементы, обеспечивают продольную жесткость каркаса здания, то фермы или балки перекрытия, перекрывая поперечное сечение здания и будучи жестко связаны с оголовками колонн, обеспечивают поперечную жесткость каркаса и в то же время служат в качестве основания для кровли.
Серийно выпускаемые балки (рис. 7) и фермы (рис. 8) перекрытия делятся на два типа: балки и фермы, рассчитанные на подвесное подъемно-транспортное оборудование, к нижнему поясу которых крепятся металлоконструкции подъемников или монорельсы тельферов и др. В зданиях же с мостовыми кранами балки и фермы покрытия не рассчитаны на крановую нагрузку, поэтому любые решения по использованию их в качестве конструкций несущих элементов для технологических целей запрещены.
Рис. 7. Двускатные железобетонные балки перекрытия
Рис. 8. Железобетонная ферма перекрытия
для зданий со скатным покрытием
Как правило, нижний пояс ферм имеет напряженную арматуру из высокопрочной проволоки, а для изготовления ферм применяется высокопрочный бетон марки не ниже М400.
2.6. Выбор плит покрытия
При плоских и скатных несущих конструкциях промышленных зданий несущие элементы ограждающей части покрытий могут быть выполнены с применением прогонов, по которым укладывают мелкоразмерные плиты, или в виде крупноразмерных плит. В первом случае покрытие получило название прогонного, а во втором – беспрогонного.
В промышленных зданиях с железобетонным каркасом преимущественный вариант решения – беспрогонный, как менее трудоемкий и более экономичный. Прогонный вариант находит применение при холодных покрытиях, когда кровлю выполняют из асбестоцементных или стекло-волокнистых листов. При беспрогонном решении крупноразмерные плиты служат не только несущей конструкцией ограждающей части покрытия, но и обеспечивают пространственную жесткость и покрытия, и здания в целом.
Плиты покрытия, применяемые при беспрогонном варианте, монтируются по верхним поясам ферм и служат в качестве основания, по которому устраивается кровля здания. Плиты, будучи в местах опирания на фермы жестко связанными с последними с помощью электросварки, придают каркасу дополнительную жесткость в продольном направлении.
Серийно выпускаемые плиты покрытия отличаются размерами по длине и представлены двумя типами: плиты для перекрытия конструкций с шагом 6 м и шагом 12 м (рис. 9).
По углам плит с нижней стороны, обращенной к верхним поясам ферм, выпущены связанные с арматурной сеткой закладные детали, а на верхней стороне установлены монтажные петли. Поскольку плиты имеют относительно небольшую толщину, то для их изготовления применяется бетонная смесь с мелким заполнителем марки М400.
Рис. 9. Железобетонная плита покрытия
3. ЭСКИЗЫ УЗЛОВ ЖЕЛЕЗОБЕТОННОГО КАРКАСА ПРОМЫШЛЕННОГО ЗДАНИЯ [1, 2]
Каркас промышленного здания, собранный из элементов сборного железобетона, отвечает проектным характеристикам и работает при правильной технической эксплуатации в течение расчетного срока только в том случае, если все наиболее важные узлы сочленения его элементов выполнены в строгом соответствии с предписанной для данного объекта технологией строительно-монтажных работ.
Как правило, все сочленения выполняются с помощью электросварки по стальным закладным деталям, вделанным в тело железобетонного элемента в месте его соединения с другим элементом каркаса. Для предупреждения коррозии сварных швов и защиты от нее оголенных частей закладных деталей узлы омоноличиваются бетонной смесью, а в процессе эксплуатации ведется планомерное наблюдение за их состоянием.
Ниже представлены примеры конструкции узлов каркаса из числа наиболее ответственных, что приемлемо для всех вариантов задания.
3.1. Конструкция узла сочленения блока фундамента с колонной
Элементы этого узла собираются как с применением, так и без применения электросварки (рис. 10, а). Для рассматриваемых вариантов рекомендуется принять бессварочную схему соединения. В этом случае требуемая точность монтажа достигается варьированием толщины бетонной прослойки в месте опирания колонны на фундамент (рис. 10, б).
а
б
Рис. 10. Сборные железобетонные фундаментные блоки: а – из нескольких блоков и плит; б – то же, из блоков с пустотами:
1 – колонна; 2 – башмак со стаканом (подколонник); 3 – промежуточный блок; 4 – плиты; 5 – цокольная панель; 6 – столбик; 7 – фундаментная балка; 8 – монтажный бетон; 9 – цементный раствор; 10 – соединение закладных стальных деталей с помощью сварки
Перед установкой фундаментных блоков на дно котлована укладывается слой песка или раствора с целью получения проектной отметки подошвы фундамента и выравнивания грунтовой поверхности дна котлована. Перед установкой колонны на дно гнезда фундаментного блока укладывается тонкий слой жесткого цементного раствора с целью выровнять возможные неровности бетона на торце колонны и на дне гнезда и обеспечить равномерное напряжение по площади их контакта. После установки колонны и ее временного закрепления в фундаментном блоке с помощью специального кондуктора пространство между внутренними стенками гнезд и гранями колонны заполняется при тщательном уплотнении цементным раствором. Кондуктор снимается после набора цементным раствором установленной проектом прочности.
3.2. Конструкция узла сочленения фундаментной балки (рандбалки) с фундаментным блоком
Узел сочленения фундаментной балки с блоком фундамента может решаться в двух вариантах. Концы фундаментных балок мoгyт опираться непосредственно на первый выступ фундаментного блока, либо на бетонные столбики, устанавливаемые на уступе фундаментного блока (рис. 10, а). Этот узел собирается без электросварочных работ.
Бетонные столбики устанавливаются на обрез фундаментного блока по слою жесткого цементного раствора. Рандбалки в местах опирания на столбики также укладываются на слой жесткого цементного раствора, чем обеспечивается равномерное напряжение на площади контакта сочлененных железобетонных элементов, на сопрягаемых поверхностях которых могут быть небольшие неровности.
Поскольку железобетонные рандбалки располагаются практически у дневной поверхности и обладают высокой теплопроводностью, то в зимний период, если не предусмотреть специальных мероприятий, по внутреннему периметру на пересечениях стен с полом образуется наледь. Во избежание этого в проекте предусматривается устройство теплоизоляции в виде шлаковой засыпки.
В целях упреждения попадания влаги в тело кирпичной стены, что приводит к разрушению последней в результате многократного замерзания и оттаивания переувлажненной конструкции, по верхней грани рандбалки по битумной основе укладывается гидроизоляция из двух слоев рубероида.
При эксплуатации промышленного здания особое внимание обращается на то, чтобы утеплитель рандбалки не переувлажнялся вследствие устройства внепроектных технических приямков как внутри, так и снаружи здания в непосредственной близости к стенам.
3.3. Конструкция узла сочленения подкрановой балки с колонной
Поскольку подкрановые балки (рис. 11) непосредственно взаимодействуют с крановым оборудованием, работая под переменной цикличной нагрузкой, то к их установке в проектное положение предъявляются повышенные требования, а при эксплуатации уделяется особое внимание за их состоянием. Все работы, связанные необходимостью выправки подкранового рельсового пути в плане или в вертикальной плоскости, выполняются только по чертежам проектной организации с применением указанных в документе материалов (электроды и прочее).
а
б
в
г
Рис. 11. Подкрановая балка: а – сечение балки; б – крепление балки к колонне; в – упор мостового крана; г – устройство кранового пути; 1 – колонна; 2 – закладная деталь в колонне; 3 – крепежная деталь; 4 – закладная деталь балки; 5 – подкрановая балка; 6 – болты; 7 – опорный стальной лист консоли колонны; 8 – закладная деталь балки; 9 – подкрановый рельс; 10 – деревянный брус; 11 – упругие прокладки; 12 – лапки
В период эксплуатации должен быть обеспечен постоянный контроль за винтовыми креплениями в местах крепления концов подкрановых балок на консоли колонн – смазывание винтовых пар и затяжка гаек.
Необходимо также обеспечить плановое восстановление защитной покраски закладных деталей, а в случае появления микротрещин в нижней зоне поперечного сечения балок и сверхнормативного прогиба балок (релаксация железобетона) необходимо провести техническую экспертизу, чтобы принять меры для обеспечения безопасной работы балок.
3.4. Конструкция узла сочленения фермы или балки с колонной
Крепление фермы к колонне может быть выполнено по двум вариантам.
Первый – на болтах, когда в оголовке колонны закладная деталь (пластина) выполнена с двумя вваренными в нее винтами, на которые заводится закладная деталь фермы с отверстиями. После затяжки гаек узел считается подготовленным к окончательному закреплению, что делается с помощью электросварки: свариваются закладные детали колонны и фермы. Хотя при этом варианте не требуется специальных кондукторов для временного закрепления ферм, но есть вероятность того, что при транспортировке винты в закладных деталях колонны могут быть погнуты, что приводит к сбою в производстве монтажных работ.















