ПЗ общая (1218940), страница 12
Текст из файла (страница 12)
Приклейка КТФЛЭКСа осуществляется путем разогрева наплавляемого слоя горелками, которые работают на сжиженном газе пропан-бутане или жидком топливе (Рисунки 2.16, 2.17).
Рисунок 2.16 Горелка газовоздушная ГВ-1-02П
1 - ствол с рукояткой; 2 - регулировочный вентиль; 3 - штуцер; 4 - накидная гайка; 5 - ниппель; 6 - инжектор (сопло); 7 - стакан.
Рисунок 2.17 Горелка ПВ-1
1 - головка горелки; 2 - вентиль подачи воздуха; 3 - вентиль подачи горючего; 4 - державка; 5 - штуцер воздуха М 16×1,5; 6 - штуцер горючего М 16×1,51 Н
Устройство кровельного ковра в пределах рабочих захваток начинают с пониженных участков: карнизных свесов, участков расположения водосточных воронок и ендов.
При наклейке изоляционных слоев следует предусматривать нахлестку смежных полотнищ на 100 мм.
Технологические приемы наклейки наплавляемого рулонного материала могут быть различными. Работа выполняется в следующей последовательности.
На подготовленное основание раскатывают 5-7 рулонов, примеряют один рулон по отношению к другому и обеспечивают необходимую нахлестку. Затем приклеивают концы всех рулонов с одной стороны и полотнища рулонного материала обратно скатывают в рулоны (при значительном охлаждении полотнищ в зимний период эти операции производят при легком подогреве ручной горелкой наружной поверхности рулона). Рулоны, раскатывая, приклеивают к основанию при помощи ручной газовой или жидкостной горелки (Рис. 2.18, 2.19).
Рисунок 2.18 Наклейка рулона
| с использованием дифференциального катка ИР-830 | с использованием захвата-раскатчика и катка ИР-735 |
Рисунок 2.19 Наклейка рулона без применения катка
Кроме того, для наклейки рулона возможно применение захват-раскатчика, имеющего Г-образную форму с размерами плеч по 1000 мм, изготовленного из металлической трубки диаметром не более 15 мм.
Для этого кровельщик зажигает горелку и оплавляет скатанный рулон маятниковыми движениями горелки вдоль рулона, держа стакан горелки на расстоянии 10-20 см от рулона. После образования валика стекшего наплавленного слоя (с нижней стороны рулона) кровельщик захватом-раскатчиком цепляет и, отступая назад, раскатывает и приклеивает рулон. Прикатка рулона в местах нахлесток осуществляется катком ИР-735 (Рис. 2.18).
Следует особо внимательно следить за синхронностью расплавления слоя мастики и раскатыванием рулона. Скорость движения определяется временем, необходимым для начала расплавления мастичного слоя приклеиваемого рулона, что оценивается визуально по началу образования валика расплавленной мастики.
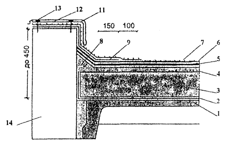
Рисунок 2.20 Примыкание кровли к парапету
1 - сборная железобетонная плита покрытия; 2 - пароизоляция; 3 - теплоизоляция; 4 - выравнивающая стяжка; 5 - нижний слой основного кровельного ковра; 6 - верхний слой основного кровельного ковра; 8 - наклонный бортик; 9 - слои дополнительного кровельного ковра; 11 - оцинкованная кровельная сталь; 12 - костыли 40×4 через 600 мм; 13 - дюбели; 14 - стена
Рисунок 2.21 Конек кровли
1 - железобетонная плита покрытия; 2 - пароизоляция; 3 - теплоизоляция; 4 - цементно-песчаная стяжка; 5 - основной кровельный ковер; 6 - дополнительные слои кровельного материала; 7 - крупнозернистая посыпка верхнего слоя
.
Рисунок 2.22 Раскладка и раскрой полотнищ наплавляемого рулонного материала при устройстве дополнительного кровельного ковра на поверхности внутреннего угла
А, Б, В, Г - последовательность операций;
1 - парапет; 2 - основной кровельный ковер; 3 - переходный наклонный бортик; 4 - нижний слой дополнительного ковра; 5 - верхний слой (с крупнозернистой посыпкой) дополнительного ковра
Рисунок 2.23 Раскладка и раскрой полотнищ наплавляемого рулонного материала при устройстве кровельного ковра на поверхности внешнего угла
А, Б, - для основного кровельного ковра; В, Г - для дополнительного кровельного ковра
1 - стена вентшахты; 2 - нижний слой основного кровельного ковра; 3 - верхний слой (с крупнозернистой посыпкой) основного ковра; 4 - наклонный бортик; 5 - основной кровельный ковер; 6 - нижний слой дополнительного ковра; 7 - верхний слой (с крупнозернистой посыпкой) дополнительного ковра
Рис. 2.24 Пропуск анкера через кровельный ковер
1 - сборная железобетонная плита покрытия; 2 - пароизоляция; 3 - теплоизоляция; 4 - выравнивающая стяжка; 5 - основной кровельный ковер; 6 - крупнозернистая посыпка верхнего слоя наплавляемого рулонного материала; 7 - рамка из уголка; 8 - герметизирующая мастика; 9 - анкер
Рисунок 2.25 Деформационный шов в покрытии
1 - сборная железобетонная плита покрытия; 2 - пароизоляция; 3 - теплоизоляция; 4 - выравнивающая стяжка; 5 - основной кровельный ковер; 6 - КТФЛЭКС, уложенный насухо; 7 - стеклоткань; 8 - оцинкованная кровельная сталь; 9 - компенсатор; 10 - утеплитель (минеральная вата); 11 - бортик из легкого бетона
Потребность в материально-технических ресурсах сведена в таблицы 2.25 и 2.26.
Таблица 2.25 – Технологическая оснастка, инструмент и инвентарь
| Наименование машин, механизмов и оборудования | Тип, марка, ГОСТ | Технические характеристики | Назначение | Количество на звено (бригаду) |
| Баллоны для газа | ГОСТ 15860-84 | Масса 22 кг, объем 50 л | Хранение газа | 2 шт. |
| Горелки газовые | ГВ-1-02П, ЦНИИОМТП | Масса 1,25 кг | Расплавление мастики | 1 шт. |
| Редуктор для газа | БПО-5-2 | Масса 1,6 кг | Регулирование давления | 2 шт. |
| Рукава резиновые | ГОСТ 9356-75 | Внутренний диаметр 9 мм | Подача газа | 30 м |
| Носилки для баллона | ЦНИИОМТП РЧ 1329-3.02.000 | Масса 7,5 кг | Переноска баллонов | 1 шт. |
| Тележка-стойка для баллонов с газом (на 2 баллона) | ЦНИИОМТП РЧ 1329-3.01.000 | Масса 23 кг | Перевозка баллонов и установка | 1 шт. |
| Горелки жидкостные | ПВ-1 | Масса 1,3 кг | Расплавление мастики | 1 шт. |
Окончание таблицы 2.25
| Наименование машин, механизмов и оборудования | Тип, марка, ГОСТ | Технические характеристики | Назначение | Количество на звено (бригаду) |
| Тележка-стойка для баллона с газом (на 1 баллон) | ЦНИИОМТП РЧ 1329-3.03.000 | Масса 13,2 кг | Перевозка баллонов и установка | 1 шт. |
| Установка компрессорная | СО-243-1 | Масса 132 кг, расход воздуха 0,5 м3/мин | Подача сжатого воздуха | 1 шт. |
| Каток дифференциальный | ИР-830 (СО-108А) | Масса 42,6 кг | Прикатка | 1 шт. |
| Захват-раскатчик | Масса 0,3 кг | Раскатка рулона | 1 шт. | |
| Каток ручной | ИР-735 ЦНИИОМТП РЧ 735.00.000 | Масса 5 кг | Приклейка в местах нахлесток | 1 шт. |
| Гребок с резиновой вставкой | - | Уплотнение полотна | 1 шт. | |
| Нож кровельный | 18975-73 | Резка материалов | 1 шт. | |
| Шпатель скребок | ТУ 22-3059-74 | Соскребание с поверхности оснований цементного раствора | 2 шт. | |
| Кран крышевой | К-1 или КБК-2 и др. аналогичные | Грузоподъемность К-1 - 300 кг, грузоподъемность КБК-2 - 250 кг | Подъем материалов | 1 шт. |
| Строп 4-х ветвевой | Мосгорстрой | Грузоподъемность 10 тм | Подъем кровельных материалов на крышу | 1 шт. |
| Тележка для подвозки материалов | РЧ 1688.00.000 | Масса 17 кг | Подвозка материалов | 1 шт. |
| Поддон для рулонных кровельных материалов | ПС-0,5И | Масса 76 кг | Подача рулонов на крышу | 1 шт. |
| Агрегат высокого давления | Финиш-211-1 | Масса 75 кг | Нанесение грунтовки | 1 шт. |
| Предохранительный пояс | 5718-77 | Защита рабочего от падения | 4 шт. | |
| Защитная каска | 9820-61 | 6 шт. | ||
| Рулетка | 7502-69 | Замеры | 1 шт. | |
| Метр складной металлический | 7253-54 | Замеры | 1 шт. |
Таблица 2.26 Материалы и изделия
| Наименование материалов, изделий | Исходные данные | Потребность на измеритель конечной продукции | ||
| Обоснование нормы расхода | Единица измерения по норме | Норма расхода | ||
| КТФЛЭКС-К для верхнего слоя | Сб. 09 §2. Общие нормы расхода материалов | м2 | 115 на 100 м2 | 1352 |
| КТФЛЭКС-Н для нижнего слоя | То же | м2 | 115 на 100 м2 | 1352 |
| Праймер | кг | 800 г на 1 м2 | 940 | |
| Сжиженный газ пропан-бутан | кг | 22 на 100 м2 слоя | 259 | |
| КТФЛЭКС-супер | м2 | 115 на 100 м2 | 1352 | |
| Праймер | кг | 800 г на 1 м2 | 940 | |
| Сжиженный газ пропан-бутан | Типовые технологические карты ЦНИИОМТП | кг | 22 на 100 м2 слоя | 259 |
2.4.3 Требования к качеству и приемке работ















