5. архитектурно-строительный раздел - копия (1218314), страница 4
Текст из файла (страница 4)
dmin = 0,5 * 1,7 = 1,19 м.
По конструктивному условию отметка глубины заложения фундамента строящегося здания должна совпадать с отметкой глубины заложения фундамента существующего здания. При наличии подземных устройств подошву фундаментов требуется заглублять ниже таких устройств. В частности, фундаменты заглубляются в нескальные грунты не менее чем на 0,5 м ниже отметки пола подвала [9].
(1.2а)
где hn – толщина подушки, м; hcf – толщина конструкции пола подвала, м.
dmin = 0,5 + 2,2 + 0,5 = 3,2 м
Таким образом, глубина заложения фундамента d = 3,2 м. сетки
1.6.2. Стены
Стеновые сэндвич-панели – это современный, обладающий малой массой строительный материал, используемый для возведения зданий различного назначения. Стеновые сэндвич-панели выпускаются согласно ТУ 5284-013-01395087-2001.
В проекте приняты сэндвич-панели Teplant с базальтовым утеплителем. Основные характеристики сэндвич-панелей приведены в таблице 1.8.
Таблица 1.8 – Стеновые панели
| Марка | Размеры, мм | Масса м2, кг | |||
| Длина | Ширина | Толщина | |||
| ПСБ-250 | 6000 | 1000 | 250 | 36,7 | |
| ПСБ 2-250 | 6000 | 1190 | 250 | 39,0 | |
| ПСБ 2-250 | 6000 | 1500 | 250 | 40,3 | |
Узлы сопряжения сэндвич-панелей показаны на рисунке 1.2, 1.3.
Рисунок 1.2 – Узлы сопряжения сэндвич-панелей: а) примыкание к цоколю; б) соединение стеновых панелей
1 – стеновая сэндвич-панель; 2 – герметик для наружных работ; 3 – шуруп самосверлящий; 4,5 – доборный элемент; 6 – гидроизоляция; 6 – монтажная пена; 7 – дюбель; 8 – цоколь; 9 – стальной цокольный ригель; 10 – шуруп самосверлящий; 11 – уплотнительная лента
Рисунок 1.3 – Поперечный стык стеновых панелей
1.6.2.1. Теплотехнический расчет стен
Нормируемое значение приведенного сопротивления теплопередаче ограждающей конструкции,
, (м2·°С)/Вт, следует определять по формуле:
, (1.3)
где R0тр – базовое значение требуемого сопротивления теплопередаче ограждающей конструкции, м2·°С/Вт, следует принимать в зависимости от градусо-суток отопительного периода, (
), °С·сут/год, региона строительства;
mp - коэффициент, учитывающий особенности региона строительства. В расчете по формуле (3) принимается равным 1 [12, п. 5.2].
Градусо-сутки отопительного периода, °С·сут/год:
, (1.4)
где tот, zот, - средняя температура наружного воздуха, °С, и продолжительность, сут/год, отопительного периода, принимаемые по своду правил для периода со среднесуточной температурой наружного воздуха при проектировании детских учреждений не более 10 °С (таблица 1.1);
tв - расчетная температура внутреннего воздуха здания, °С.
ГСОП = (22+4,6)*267 = 7102,2 °С·сут/год
В соответствии с [12, таблица 3, примечание 1], значение R0тр для величин, отличающихся от табличных, следует определять по формуле:
R0тр = a * ГСОП + b (1.5)
a, b – коэффициенты, значения которых следует принимать по данным таблицы для соответствующих групп зданий;
a = 0,00035, b = 1,4 [12, таблица 3, поз. 1].
R0тр = 0,00035*7102,2 + 1,4 = 3,9 м2·°С/Вт
R0норм = 3,9 * 1 = 3,9 м2·°С/Вт
Определение сопротивления теплопередаче ограждающих конструкций по проекту
Сопротивление теплопередаче однородных ограждающих конструкций определяют по формуле, м2·°С/Вт:
(1.6)
где αн – коэффициент теплоотдачи (для зимних условий) наружной поверхности ограждающей конструкции Вт/(м2
° С), αв – коэффициент теплоотдачи внутренней поверхности ограждения, Вт/(м2
° С), RК – термическое сопротивление неоднородной ограждающей конструкции, м2·°С/Вт. Для многослойной ограждающей конструкции:
RК = R1 + R2 +...+ Rn + RВП (1.7)
где R1, R2... Rn – термические сопротивления отдельных слоёв ограждающей конструкции, определяемые по формуле (8); RВП – термическое сопротивление замкнутой воздушной прослойки
(1.8)
где δ – толщина слоя, м; λ – расчётный коэффициент теплопроводности материала слоя, Вт/(м2
° С).
Ограждающая конструкция в проекте состоит из следующих слоев (рисунок 1.4):
-
сэндвич-панель Teplant с базальтовым утеплителем (ρ = 110 кг/м3) – δ = 250 мм, λ = 0,045 Вт/(м2
° С).
Рисунок 1.4 – Стеновое ограждение
м2·°С/Вт
Rк = 5,56 + 0,035 + 0,13 = 7,1 м2·°С/Вт
αв = 8,7 Вт/(м2
° С) [14, таблица 4].
αн = 23 Вт/(м2
° С) [14, таблица 6].
R0 =
м2·°С/Вт.
R0норм = 3,9 м2·°С/Вт < R0 = 5,72 м2·°С/Вт – требование удовлетворяется.
-
Крыша
В данном проекте принимаем бесчердачную плоскую крышу с внутренним водостоком. Кровля выполнена из наплавляемого кровельного материала Техноэласт ЭПП. В качестве утеплителя приняты минераловатные плиты «URSA GEO М-11».
Принятая конструкция кровля изображена на рисунке
Карнизный узел крыши показан на рисунке .
Сведения о составе, толщине, теплотехнических характеристиках материалов слоев кровли приведены в таблице 1.9
Таблица 1.9 – Характеристика элементов принятой конструкции кровли
| Наименование материала слоя | Толщина слоя (м) | Плотность (кг/м3) | Коэффициент теплопроводности Вт/м·°С |
| 1. Железобетонная плита покрытия | 0,2 | 2500 | 2,04 |
| 2. Минераловатная плита «URSA GEO М-11» | 0,2 | 175 | 0,046 |
| 3. Цементно-песчаная стяжка | 0,005 | 1800 | 0,93 |
| 4. Техноэласт ЭПП | 0,004 | 1400 | 0,27 |
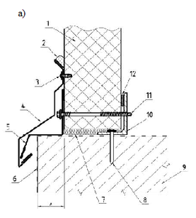
Рисунок 1.5 – Узел примыкания кровли к панели
1.6.3.1. Определение толщины утеплителя кровли из условия теплопередачи
Приведенное сопротивление теплопередаче конструкции покрытия определяется по формуле 1.9
(1.9)
где
и
- коэффициенты теплоотдачи внутренней и наружной поверхностей соответственно,
;
- термическое сопротивление одного слоя материала покрытия,
;
- толщина слоя, м;
- коэффициент теплопроводности материала слоя,
По [16, таблица 4, таблица 5] для покрытий
,
Предварительно принимаем
Принимаем утеплитель из минераловатных плит «URSA GEO Универсальные плиты» толщиной 20 см (две плиты толщиной по 10 см). Принятая конструкция кровли приведена в таблице 1.10.
Таблица 1.10
| Наименование материала слоя | Толщина слоя (м) | Плотность (кг/м3) | Коэффициент теплопроводности Вт/м·°С |
| 1. Железобетонная плита покрытия | 0,2 | 2500 | 2,04 |
| 2. Минераловатная плита «URSA GEO М-11» | 0,2 | 175 | 0,046 |
| 3. Цементно-песчаная стяжка | 0,005 | 1800 | 0,93 |
| 4. Техноэласт ЭПП | 0,004 | 1400 | 0,27 |
Проверяем выполнение поэлементного требования.
- условие выполняется
1.6.3.2. Определение толщины утеплителя чердачного перекрытия из условия теплопередачи
ГСОП = (22+4,6)*267 = 7102,2 °С·сут/год (см. п. 1.6.6.1).













