diplom_pz (1211074), страница 2
Текст из файла (страница 2)
- данный способ сварки допускает работу в различных пространственных положениях и в труднодоступных местах;
- возможность сварки и наплавки различных металлов и сплавов, износостойких слоёв, а также наплавку режущего инструмента;
- сравнительно простое, мобильное и недорогое оборудование.
Перечисленные причины делают ручную дуговую сварку очень распространённой как на крупных, так и на мелких предприятиях, занимающихся различными ремонтными и монтажными работами.
В настоящее время в механизмах и машинах применяется множество различных материалов, но подавляющее большинство конструкций и узлов изготавливается из стали. Номенклатура используемых в машиностроении сталей весьма обширна, что обязательно учитывается при выборе сварочно-наплавочных материалов.
Исторически сложилось, что центры производства сварочных материалов расположены в европейской части страны, а сырьевые ресурсы, используемые этими предприятиями, разбросаны по всей территории бывшего СССР. С распадом СССР значительная часть сырьевой базы указанных производств оказалась за границей, что привело к перебоям в работе предприятий и вызвало значительное удорожание необходимого сырья.
Для Дальнего Востока эта ситуация усугубляется ещё и отдалённостью региона от промышленно развитых районов страны. Тем не менее, известно, что Дальний восток обладает мощнейшими запасами минеральных ресурсов, в том числе и тех, которые могут быть использованы при производстве сварочных материалов. Следовательно, актуальность данной темы – использовать местное сырьё при производстве сварочных материалов, весьма велика.
1.2 Дефекты конструкции подвижного состава, устраняемые
сваркой или наплавкой
В эксплуатации подвижной состав получает разного рода повреждения: это износы и трещины. Износы возникают в результате трения, коррозии, трещины – из-за накопления напряжений в металле при работе конструкции (трещины в элементах рам), чрезмерных нагрузок (трещины в корпусе автосцепки).
Трещины могут себя проявить и как результат некачественного исполнения ремонта наплавкой или сваркой.
Приведём краткий анализ неисправностей деталей вагонов по ст.Тында:
Осмотрщиками вагонов и дефектоскопистами за 2015-й год были выявлены следующие дефекты, которые сведём в таблицу 1.1.
Таблица 1.1 - Статистическая выборка неисправностей вагонов по ст. Тында
| Наименование | Количество | Возможность восстановления сваркой или наплавкой | Материал повреждённой детали |
| Износ втулки шпинтона | 5 | Да | Сталь 30, 35, 45 |
| Трещина кронштейна гасителя надрессорного бруса | 42 | Да | 09Г2, 09Г2Д, 09Г2С |
| Трещина кронштейна момента опоры ВБА | 5 | Да | Ст.3, 20л |
| Трещина кронштейна момента опоры ВБА | 5 | Да | Ст.3, 20л |
| Излом буксовых пружин | 4 | Нет | 60С2 |
Окончание таблицы 1.1
| Наименование | Количество | Возможность восстановление сваркой или наплавкой | Материал повреждённой детали |
| Трещина продольного бруса рамы | 2 | Да | 09Г2, 09Г2Д, 09Г2С |
| Излом втулки шпинтона | 7 | Нет | Сталь 30, 35, 45 |
| Трещина буксовой пружины | 2 | Нет | 60С2 |
| Трещина коробки горизонтального скользуна | 2 | Да | Ст.3, 20л |
| Излом буксовых пружин | 4 | Нет | 60С2 |
| Трещина продольного бруса рамы | 2 | Да | 09Г2, 09Г2Д, 09Г2С |
| Излом втулки шпинтона | 7 | Нет | Сталь 30, 35, 45 |
| Трещина буксовой пружины | 2 | Нет | 60С2 |
| Трещина коробки горизонтального скользуна | 2 | Да | Ст.3, 20л |
| Трещина поперечной балки тележки в сварном шве | 1 | Да | 09Г2, 09Г2Д, 09Г2С |
| Трещина пружины ЦЛП | 5 | Нет | 60С2 |
Как видно из таблицы, большая часть из выявленных дефектов может быть устранена сваркой или наплавкой. Фактически, масштабы применения сварки или наплавки в ремонте вагонов значительно шире. Детали вагонов выполнены, в основном, из проката углеродистого и низколегированного, не редки и литые элементы из сталей того же класса. Перечисленные в таблице 1.1 марки сталей относятся к группам хорошо либо удовлетворительно свариваемых. Помимо упомянутых неисправностей часто повреждаются и ремонтируются сваркой (наплавкой) детали автосцепного и сопряжённого с ним оборудования, обшивка кузовов (особенно на полувагонах). Несколько реже попадают в ремонт элементы каркаса кузовов, заменяются поражённые коррозией элементы котлов цистерн, тормозных резервуаров, трубопроводов, выполняют ремонт сваркой чугунные элементы тормозных цилиндров.
Это далеко не полный перечень сварочно-наплавочных работ, производимых при ремонте подвижного состава. Однако, можно сделать вывод о том, что большинство вагонных деталей при необходимости может быть восстановлено сваркой или наплавкой. Материалы конструкций вагонов относятся к группам хорошо или удовлетворительно свариваемых. При ремонте сваркой может быть применена ручная дуговая сварка и электроды типов Э42А – Э50А по ГОСТ9467-75, а также разнообразные наплавочные электроды.
1.3 Особенности микрометаллургических процессов при
электрической сварке и наплавке
При электрической сварке плавлением происходит комплекс микрометаллургических процессов, возникающих в зонах высоких температур, значительного накопления тепла в ограниченном объёме, резкого охлаждения расплавленного металла. Во время переноса присадочного металла в сварочную ванну он интенсивно взаимодействует с газовой атмосферой окружающей среды.
В результате после кристаллизации образуется металл, структура и свойства которого существенно отличаются как от электродного, так и от основного, причём эти отличия, как правило, в худшую сторону.
Для ограничения вредного влияния воздушной среды на жидкий переплавляемый металл используются различные способы защиты, в том числе флюсы и покрытия электродов. Разработке их составов следует уделять особое внимание, так как использование для этих целей многокомпонентных минеральных ассоциаций является важным не только с позиций повышения качества защиты жидкого металла сварочной ванны, но и возможности легирования его элементами, входящими в состав сырья. Например, при дуговых способах сварки и наплавки, (ручная покрытыми электродами, автоматическая под флюсом и ряда других защита осуществляется слоем жидкого шлака, образующегося при плавлении флюса или покрытия электрода.
Сварочная электрическая дуга является концентрированным источником тепла, создающим большой температурный градиент в зоне сварки.
Электродный металл, переходящий в сварочную ванну в виде капель, значительно перегрет сварочной дугой – его температура, по данным И.И.Фрумина, И.К.Походни, А.А.Ерохина составляет 2100–2500 ˚С, а сварочная ванна разогревается до 1950–2000 ˚С. При автоматической сварке под флюсом температура ванны достигает 1770–1800 ˚С, температура капель 2400–2500 ˚С. Размер капель, возникающих на торце электрода колеблется от тысячных долей миллиметра до 5–6 мм. В результате такого перегрева металла его активность сильно повышается. При переносе с торца электрода в сварочную ванну капля покрыта слоем шлака, образовавшемся в результате плавления электродного покрытия, либо флюса. При этом происходит взаимодействие между металлом капли, жидким шлаком и газами, находящимися в дуговом промежутке. Результатом взаимодействия является изменение состава металла, который может окисляться и принимать элементы, содержащиеся в шлаке и газах.
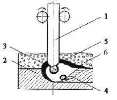
Процесс сварки электродами с защитным покрытием представлен на рисунке 1.4.
Рисунок 1.4 - Схема процесса сварки электродами с защитным покрытием: 1 – электродный стержень; 2 - покрытие; 3 – капли расплавленного металла электрода; 4 – ванна жидкого металла; 5 – затвердевший металл шва; 6 – жидкий шлак; 7 - затвердевший шлак; 8 – газовая защита
Процесс сварки под слоем флюса представлен на рисунке 1.5.
Рисунок 1.5 - Схема процесса сварки под слоем флюса: 1 – электродная проволока; 2 – основной металл; 3 – капли расплавленного металла электрода; 4 – ванна жидкого металла; 5– жидкий шлак; 6 – флюс
После отрыва от электрода, капля, покрытая жидким шлаком, попадает в сварочную ванну, где происходит её перемешивание с жидким шлаком и металлом сварочной ванны. Имея меньшую, чем у металла плотность, шлак всплывает на поверхность сварочной ванны, продолжая реагировать с жидким металлом. Шлак, находясь на поверхности расплавленного металла, выполняет несколько функций: защитную, препятствуя проникновению в жидкий металл газов из окружающей среды (кислород, азот, водород); металлургическую – раскисление, восстановление, легирование; технологическую – формирование сварочного шва.
При ручной сварке на ход металлургического процесса влияет не только состав, но и количество покрытия на электроде [22,23]. Покрытия электродов представляют собой смеси газо- и шлакообразующих компонентов, ограждающих расплавленный металл от взаимодействия с внешней средой и для необходимой металлургической обработки. Газо- и шлакообразующая система электродного покрытия состоит из соединений, которые не нейтральны по отношению к металлу и вступают с ним во взаимодействие. Это галоидные соединения, органические добавки, различные минералы, концентраты.
Для раскисления и легирования наплавленного металла в электродные покрытия вводятся ферросплавы (Fe-Si, Fe-Mn, Fe-Cr, Fe-Nb, Fe-B, Fe-W). Покрытия электродов специального назначения, а также наплавочных электродов, часто содержат порошки чистых металлов и карбиды. Большое количество подобных материалов в покрытии ухудшает защиту расплавленного металла от внешней среды и ухудшает технологические свойства.
1.4 Классификация покрытых электродов














