Записка (1209327), страница 6
Текст из файла (страница 6)
d – диаметр пальца, d = 30 мм;
– допускаемые напряжения среза,
=100 МПа.
Напряжение среза равно
Рисунок 7.1 – Схема расчета пальца гидроцилиндра
Расчет пальца на смятие проведем по формуле
(7.2)
где 2 – толщина проушины гидроцилиндра, 2 = 50 мм;
– допускаемые напряжения смятия,
= 160 МПа.
Напряжение смятия равно
Таким образом, условия прочности пальца крепления гидроцилиндра по напряжениям среза и смятия выполняются.
Рисунок 7.2 – Расчетная схема пальца гидроцилиндра
7.2 Расчет рамы
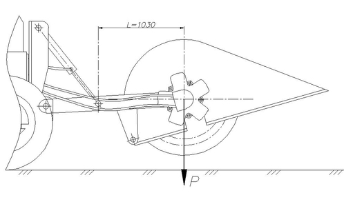
Условие прочности для рамы фрезерной навески, рисунок 7.3 будет записываться в следующем виде:
(7.3)
где Ми – изгибающий момент;
W – момент сопротивления изгибу;
F– площадь сечения швеллеров;
– допускаемое напряжение,
= 80МПа.
Изгибающий момент находится по формуле:
; (7.4)
где L – плечо силы, L = 1,03 м.
Изгибающий момент равен
Швеллер изготавливается по ГОСТ 8240-89. Применяем швеллер № 20. По источнику [4] определяем для него момент сопротивления изгибу W = 152 см3, площадь сечения одного швеллера F = 23,4 см2 .
Находим напряжения, возникающие в материале:
Условие прочности выполняется.
Рисунок 7.3 – Cхема расчета рамы фрезерной навески
8 Охрана труда
К управлению трактором допускаются лица, которым исполнилось 18 лет, изучившие правила техники безопасности, устройство и управление дорожной фрезы, прошедшие специальную подготовку и инструктаж по технике безопасности и сдавшие экзамены на допуск к самостоятельной работе.
Перед началом работы проверяется рабочее оборудование - надежность крепления сборочных единиц.
Перед любым действием рабочих органов необходимо убедится в том, что при этом не пострадают люди.
Во время движения и работы запрещается:
-садиться на трактор и сходить с него;
-зависать на подножках;
-допускать к управлению дорожной фрезы посторонних лиц и лиц , не имеющих ни допуска к работе, ни допуска к управлению;
- работать на неисправном оборудовании
- проводить осмотр рабочих органов при включенных агрегатах;
- появление на рабочем месте в нетрезвом состоянии; - курение на рабочем месте.
Правильно спроектированный процесс работы дорожной фрезы предотвратит вредное воздействие выделяющихся при работе ядовитых испарении и пыли.
Защита человеческого от воздействия вредных веществ, выделяющихся в ходе технологических процессов, осуществляется следующими способами: удаление вредных веществ из рабочей зоны или герметизация ее, применение вентиляционных систем, в частности местных отсосов или полостей с избыточным давлением воздуха, а также расположением в отдельном помещении оборудования, выделяющего вредные вещества.
Такие отсосы предусматривают у мест наибольшего выделения вредных паров, газов или излишней теплоты. Для улавливания вредных выделений, если не представляется возможным расположение над ними вытяжных зонтов, применяют бортовые отсосы.
Охрана окружающей среды и ресурсосбережение при работе с дорожной фрезой
1. Уровень шума и вибраций двигателя (двигателя внутреннего сгорания) не должен превышать санитарных норм (85 дБ, по ГОСТ 12.1.003-83) – «Допустимый уровень шума и вибраций в технологических установках и транспортных средствах».
При разработке средств защиты от шума и вибраций, прежде всего следует выяснить вид данного шума, поскольку необходимое снижение шума можно достигнуть только при правильном выборе средств защиты. Различают два вида шума - воздушный и структурный.
Воздушный шум распространяется в воздухе от источника возникновения до места наблюдения. Структурный шум излучается поверхностями колеблющихся конструкций стен, перекрытий перегородок, зданий в звуковом диапазоне частот 20-2000 Гц.
В нашем случае вибрации и шум передаются от двигателя внутреннего сгорания ДВС к конструкции машины. Воздушный шум попадает в кабину оператора машины через перекрытия, воздуховоды, а также через проемы, щели и т.п. Вибрации передаются основанию машины, трубопроводам насосных и воздуховодам вентиляторных установок, вызывая возникновение структурного шума.
2. Конструкция агрегата должна исключать при его работе просачивание жидкостей и паров, пропуск воздуха и образовавшихся газов в кабину машиниста и рабочую зону.
3.Параметры выбросов вредных веществ в отработавших газах не должны превышать следующих значений:
СО – 21 г/кВтч;
СН – 1,8 г/кВтч;
NO – 6,8 г/кВтч.
Твёрдые частицы 0,14 г/кВтч.
Очистка отработавших газов двигателя внутреннего сгорания должна производиться с помощью каталитического нейтрализатора, что способствует совершенствованию экологического состояния окружающей среды.
4. Неметаллические материалы, входящие в конструкцию дизеля и агрегата не должны выделять токсичные вещества и распространять неприятный запах.
5. Параметры дымности отработавших газов не должны превышать допустимых значений по ГОСТ 24.08-86 – «Допустимые санитарные нормы дымности отработавших газов строительно – дорожных и коммунальных машин».
Эффективность использования лома и отходов металла зависит от их качества. Загрязнение и засорение металлоотходов приводят к большим потерям при переработке, поэтому сбор, хранение и сдача их регламентируются специальными стандартами: ГОСТ 2787—75 «Лом и отходы черных металлов. Шихтовые. Классификация и технические требования»; ГОСТ 1639—78 «Лом и отходы цветных металлов и сплавов. Общие требования» и др.
Пакетирование отходов организуется на предприятиях, на которых образуется 50 т и более высечки и обрезков в месяц. Каждая партия должна сопровождаться удостоверением о взрывобезопасности и безвредности. Стружку перерабатывают на пакетирующих прессах, стружкодробижах, брикетировочных прессах. Брикетированию (окускование механическим уплотнением на прессах, под молотком и других механизмах) подвергается сухая и неокисленная стружка одного вида, не содержащая посторонних примесей с длиной элемента до 40 мм для стальной и 20 мм для чугунной стружки. Прессование вьюнообразной стружки целесообразно приводить в отожженном состоянии, так как при этом отпадает необходимость выполнения таких подготовительных операций, как дробление, обезжиривание, отбор обтирочных материалов и мелких кусков металла.
На предприятиях, где образуется большое количество металлоотходов -организуются специальные цехи (участки) для утилизации вторичных металлов. Чистые однородные отходы с паспортом, удостоверяющим их химический состав, используют без предварительного металлургического передела.
8.1 Перспективы охраны труда в отрасли производства строительно-дорожных машин и оборудования
Научно-технический прогресс, облегчая труд, повышая его производительность и безопасность, не исключает полностью проблемы охраны труда и защиты окружающей среды. Это обусловлено наличием объективных и субъективных факторов:
– созданием современных производственных единиц большой мощности, ростом объемов производств и, следовательно, количеств вредных веществ, поступающих в производственную среду;
– интенсификацией производственных процессов и, следовательно, убыстрением ритма производства;
– повышением сложности оборудования;
– появлением новых вредных и опасных производственных факторов;
– увеличением объема информации, поступающей для восприятия в единицу времени;
– отставанием темпов повышения квалификации персонала от темпов внедрения новой техники;
– отставанием сроков внедрения новых правил техники безопасности от сроков внедрения нового оборудования;
– недостаточной информацией об опасных и вредных факторах и методах предупреждения их возникновения;
– монотонностью труда и возрастанием гиподинамических нагрузок.
В связи с этим появилась необходимость изучения последствий воздействия вредных факторов на организм человека, потребность разрабатывать инженерные решения по охране труда и окружающей среды (автоматизация управления производственным процессом, роботизация, использование промышленных комплексов).
Машины должны быть сконструированы таким образом, чтобы они смогли выполнять заранее предусмотренные функции, и чтобы была обеспечена возможность проведения их наладки и технического обслуживания, не подвергая персонал риску во время осуществления этих операций в условиях предусмотренных изготовителем.
Целью принимаемых мер является устранение любого риска несчастного случая в течение прогнозируемого срока службы машины, включая монтаж и демонтаж, а также вследствие возникновения чрезвычайных ситуаций, которые невозможно предвидеть заранее.
8.2 Анализ и идентификация опасностей при работе фрезерного оборудования
Анализируя работу фрезерного оборудования, можно выделить ряд следующих основных опасностей:
– опасность получения травм при попадании в зону действия рабочего оборудования;
– опасность получения травм при выходе из строя компонентов гидравлической системы (разрыв соединительных трубопроводов);
– опасность получения травм при выходе из строя узлов и деталей рабочего оборудования (разрушение крепежных элементов);
– опасность получения электрического воздействия в случае нарушения целостности электрических кабелей, проложенных на небольшой глубине, зубьями фрезерного оборудования.
– движущиеся машины и механизмы, перемещаемые машинами изделия, конструкции и материалы;
– опасные зоны (вблизи котлованов, траншей и других перепадов по высоте, мест, над которыми происходит перемещение грузов грузоподъемными кранами);
– повышенная загазованность, запыленность и влажность воздуха рабочей зоны;
– повышенная или пониженная температура воздуха на рабочем месте;
– недостаточная видимость рабочей зоны из кабины машиниста;
– обрушение грунта;
– острые кромки, заусенцы и шероховатость на поверхностях инструментов и оборудования;
– физические и нервно-психические перегрузки
Вредные психофизиологические воздействия на человека:
– фрезерное оборудование является источником шума и вибрации, возникающих при движении и при работе аппаратов гидравлической системы.
С точки зрения экологии представляет собой опасность для окружающей среды возможность утечки из гидравлической системы рабочей жидкости.
8.3 Разработка технологических и организационных решений по устранению выявленных опасностей
На основании этого и принимаем следующие технологические и организационные решения:















