Записка (1209327), страница 3
Текст из файла (страница 3)
1 - рама; 2 - крышка вертикальных кронштейнов; 3 - крышка нижних кронштейнов;
4 - стакан малый; 5 - стакан большой
Рисунок 1.12 - Рама ротора фрезы с боковым приводом.
Подъем рабочего органа фрезы производится с использованием либо гидросистемы базовой машины, либо автономной гидросистемы подъема ротора. Гидросистема состоит из гидронасосов, распределителей, трубопроводов и гидроцилиндров одностороннего действия, осуществляющих подъем рабочего органа; его опускание (заглубление) происходит только под действием собственного веса. Ограничение опускания ротора достигается с помощью специальных регулируемых упоров, обеспечивающих заданную глубину обработки грунта.
В кинематическую цепь от приводного двигателя до ротора входят промежуточные элементы управления (сцепления, муфты), дополнительные передачи и боковой или центральный редуктор. В некоторых фрезах осуществляется гидростатический привод рабочего органа, который обеспечивает защиту ротора при встрече лопастей с препятствием. Но при этом трудно привести в соответствие обороты ротора с поступательным перемещением фрезы для получения постоянной толщины стружки. Трансмиссия машины должна обеспечивать возможность независимого включения ротора и ходовой части.
Корпусы редукторов приводов могут изготавливаться как сварными, так и из стального литья. В местах выхода вала редукторы должны иметь надежное уплотнение, препятствующее вытеканию смазки.
2 Анализ научно-технической литературы и патентный обзор
2.1 Анализ научно-технической литературы
В развитии конструкций дорожных фрез характерно:
– внедрение самоходных дорожных фрез;
– увеличение мощности двигателя и скоростей движения;
– увеличение размеров рабочего органа дорожных фрез;
– применение гидрообъемных систем управления и привода фрезы;
– совершенствование формы наконечников и ножей–лопаток фрезы;
– внедрение пневматических шин низкого давления и бескамерных шин;
– применение средств автоматического управления рабочими процессами и т. д.
Перспективным типажом предусмотрено изготовление ряда прицепных и самоходных фрез с двигателем мощностью 400–550 кВт.
В перспективе подлежат освоению самоходные фрезы с двигателем 900–1100 кВт.
Самым главным параметром всей техники является надежность. Одной из самых знаменитых фирм преуспевших в этом, выпускающих дорожную технику, является фирма WIRTGEN. Большую часть выпускаемой продукции занимают дорожные фрезы как на гусеничном ходу рисунок 2.1, так и пневмошинном: ресайклеры, рисунок 2.2 и стабилизаторы грунта рисунок 2.3.
Главной задачей фирмы WIRTGEN является изготовление долговечного рабочего органа (фрезы).
Резцы и наконечники для фрез должны иметь высокую износостойкость и большой срок службы. Это сокращает число замен резцов и уменьшает время простоев машины. Поэтому постоянно совершенствуется составы высокопрочных сплавов и методы термической обработки, а также проводятся испытания рисунки 2.4 и 2.5.
Рисунок 2.1 – Дорожная фреза фирмы WIRTGEN на гусеничном ходу
Рисунок 2.2 – Ресайклер фирмы WIRTGEN на пневмошинном ходу
Рисунок 2.3 – Стабилизатор грунта фирмы WIRTGEN на пневмошинном ходу
Рисунок 2.4 – Испытание наконечника после термической обработки
Рисунок 2.5 – Рабочий орган ресайклера
2.2 Патентный обзор
Произведя патентный обзор, выбрано несколько наиболее удачных патентов с точки зрения технического решения.
К авторскому свидетельству RU 2081237 E01C 23/09 Холодная фреза.
Изобретение относится к области строительно-дорожных машин, и в частности к машинам послойного фрезерования твердых покрытий при ремонте дорог.
Целью изобретения является упрощение конструкции машины с сохранением возможности эффективной обработки поверхности фрезерования, в том числе и в стесненных условиях.
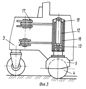
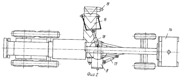
Холодная фреза смонтирована на базовом трехколесном шасси 1 со всеми управляемыми колесами 2, включают раму 3, рабочий орган фрезу 4, смещенную к боковой стороне 5 машины. Фреза 4 установлена в кожухе 6, который шарнирно соединен двумя рычагами 7 и 8 с поворотной колонкой 9, укрепленной на раме 3. Рычаги 7 и 8 смещены по высоте и образуют параллелограмм в вертикальной плоскости. Один из рычагов соединен гидроцилиндром 10 с колонкой 9, рисунок 2.6.
Поворотная колонка 9 через кронштейны 11 рамы 3 шарнирно связана с последней. Установка фрезы на раме 3 может быть также выполнена посредством соединенной с кожухом 6 телескопической гидроуправляемой опоры 12, корпус 13 которой своим кронштейном 14 шарнирно соединен с кронштейнами 11, рисунок 2.7.
Внутри телескопической опоры 12 установлен гидроцилиндр 15, одним концом закрепленный на корпусе 13, а другим на кожухе 6, с которым жестко связана направляющая труба 16, рисунок 2.8.
Рисунок 2.6 – Холодная фреза, вид сбоку
Рисунок 2.7 – Холодная фреза, вид сверху
Рисунок 2.8 – Схема телескопической опоры
Работает фреза следующим образом. При необходимости снятия поврежденных покрытий вплотную к бордюру или на закругленных с небольшим радиусом, например, вокруг колодцев, фреза устанавливается и фиксируется пальцем 17 в положении А (в середине продольной колесной базы). Гидроцилиндром 10 фреза 4 заглубляется и при продольном перемещении машины фиксирует материал покрытия.
При необходимости снятия поврежденного покрытия в стесненных местах, ограничивающих маневр машины, фреза вручную может быть повернута относительно колонны 9 во фронтальном положении Б и фиксируется установочным пальцем 17 в проушинах, заделанных на раме 3.
К авторскому свидетельству RU 2128268 E01C 23/09 Фреза дорожная на базе автогрейдерного шасси.
Изобретение относится к области дорожно-строительного и коммунального машиностроения, в частности к устройствам для холодного фрезерования асфальтобетона при ремонтных работах на автодорогах, аэродромах, проезжей части мостов, улицах, площадях и других объектах городов и населенных пунктов.
Целью изобретения является повышение эффективности процесса.
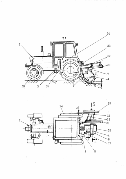
Поставленная цель достигается тем, что в фрезе дорожной на базе автогрейдерного шасси, содержащей фрезерный рабочий орган и систему охлаждения резцов ротора, бак системы охлаждения размещен на консоли переднего моста, а фреза дорожная установлена на тяговой раме автогрейдерного шасси с возможностью поперечного перемещения ее посредством гидроцилиндра, причем тяговая рама в передней части соединена с шаровым шарниром для обеспечения поворота фрезы в трех плоскостях в базе и за пределами габаритов ширины автогрейдерного шасси, рисунок 2.9.
Рисунок 2.9 – Фреза дорожная на базе автогрейдерного шасси, вид сбоку
Такой способ фрезерования особенно эффективен в стесненных условиях работы на объектах городов и населенных пунктов, при ямочном ремонте асфальтобетонных покрытий, где проезжая часть ограничена бордюрами, ограждениями, а тротуары, площади, проезды, дворы ограничены строениями и зданиями. В трансмиссии автогрейдера имеется ходоуменьшитель для получения "ползучих" рабочих скоростей.
Рабочее оборудование навешивается на автогрейдерное шасси 1. Фрезерование асфальтобетонного покрытия начинается с опускания рабочего органа фрезы с помощью гидроцилиндров 10 на поверхность. Вращение ротора фрезы включается до касания ротора асфальта. Вращение ротора осуществляется гидронасосом 12, гидромотором и приводом 7. Салазки опираются на поверхность асфальта, по мере опускания ротора фрезы, перемещаются вертикально вверх относительно кожуха 8 в пазах. Ротор фрезы 6 резцами с твердосплавными (алмазными) наконечниками врезается в асфальт на заданную глубину. Включается рабочая передача автогрейдерного шасси, и машина начинает движение.
По мере накопления срезанного (сфрезерованного) асфальтобетона под кожухом создается необходимость выхода асфальта за пределы кожуха. Эта операция производится через выходное окно зачищающей заслонки. Перед ротором фрезы навешивается фартук для предотвращения выброса срезанного асфальтобетона перед кожухом 8, рисунок 2.10.
Рисунок 2.10 – Фреза дорожная на базе автогрейдерного шасси, вид сверху
К авторскому свидетельству RU 19655 E01C 23/09 Фреза дорожная.
Изобретение относится к области дорожно-строительного и коммунального машиностроения, в частности к устройствам для холодного фрезерования асфальтобетона при ремонтных работах.
Целью изобретения является повышение эффективности процесса.
Фреза дорожная содержит базовое шасси 1 - трактор «Белорус» с валом отбора мощности 2 и гидросистемой 3 и установку 4 для фрезерования асфальтового покрытия, рисунок 2.11.
Рисунок 2.11 – Фреза дорожная на базе трактора «Белорус»
Установка 4 включает в себя навесную раму 5 с отверстием 6 под выход вала отбора мощности 2, поворотную раму 7 со встроенным в неё бортовым редуктором 8, на выходном валу 9 которого установлен фрезерный рабочий орган 10. Навесная рама 5 закреплена на привалочной плоскости 11 базового шасси 1 и осями 12 шарнирно соединена с навесной рамой 7 с возможностью поворота её в вертикальной плоскости, при этом оси 12 расположены соосно входному валу 13 бортового редуктора 8, который конической парой 14 и муфтами 15 и 16 соединён с валом отбора мощности 2. Коническая пара 14 может быть выполнена в виде конического редуктора 17. Фрезерный рабочий орган 10 содержит цилиндрическую 18 и дисковую 19 фрезы. Цилиндрическая фреза 18 установлена непосредственно на выходном валу 9 бортового редуктора 8. Дисковая фреза 19 смонтирована на дополнительном валу 20, который, с одной стороны, соединён с выходным валом 9 шлицевым (или другим) быстро разъёмным соединением 21, а с другой стороны, установлен в подшипниковой опоре 22, выполненной в кронштейне 23, закреплённом на поворотной раме 7 с правой стороны. Между боковым габаритом 24 шасси 1 и дисковой фрезой 19 имеется зазор. На поворотной раме 7 в направляющих втулках 25 при помощи штырей 26 и шплинтов 27 закреплены дискретно - выдвижные лыжи 28. Фрезерный рабочий орган 10 имеет ограждения 29 и 30 фрез. Подъём, опускание и заглубление фрезерного рабочего органа 10 производится гидроцилиндром 31, который шарнирно соединён с навесной 5 и поворотной 7 рамой и магистралями 32 связан с гидросистемой 3 базового шасси 1. В транспортном положении гидроцилиндр 31 стопорится фиксаторами 33.
Работает фреза дорожная следующим образам. Рукояткой управления 34 ходоуменьшителя 35 из кабины шасси (трактора) обеспечивается бесступенчатое регулирование скорости движения трактора и скорости вращения вала отбора мощности. В рабочем положения фрезерного органа при отрегулированном положении опорных лыж 28 путём установки штырей 26 в соответствующие отверстия 36 происходит фрезерование поверхности 37 асфальтового дорожного покрытия на глубину h цилиндрической 18 или дисковой 19 фрезой. По окончании работы трактор останавливается, выключается вращение вала отбора мощности 2, фрезерный рабочий орган 10 гидроцилиндром 31 приводится в транспортное положение и стопорится в нем фиксаторами 33. После этого трактор перемещается к месту назначения на крейсерской скорости.








