ВКР Мищенко А.В. (1205384), страница 8
Текст из файла (страница 8)
Предназначен для обнаружения возгораний, сопровождающихся появлением открытого пламени. Работает по двухпроводной линии совместно с приемно-контрольными приборами типа Роса-2SL, Сигнал-ВК, Сигнал-20 и аналогичными.
Рисунок 4.21Сигнализатор «АС- 2»
Настенное исполнение, для речевого пожарного оповещателя «Рокот»
Рисунок 4.22Устройство объективно- приемное «RR- 701 R»
Предназначен для адресного приема тревожных сигналов с отображением номеров сработавших передатчиков на светодиодных индикаторах, имеет встроенную звуковую сигнализацию и реле для включения в шлейф или для управления сиреной.
Рисунок 4.23Устройство охранной телесигнализации «КВАРЦ»
Прибор предназначен для контроля шлейфов сигнализации с включенными охранными или пожарными извещателями, управления звуковым и световым оповещателем, выдачи извещений о нарушении ПЦН через релейный (е) выход (ы), обеспечения питающим напряжением активных извещателей и других устройств. [4]
4.4 Подбор искрогасителей для трелевочных тракторов
На предприятии производят работы специализированные автомобили - ТДТ-55- гусеничный трелёвочный трактор( рисунок 4.24). предназначенный для вывозки и штабелирования среднего и крупного леса. ТДТ-55 приспособлен для работы в сложных лесных условиях. Выпускался с 1966 года на Онежском тракторном заводе. В октябре 2003 года модель была снята с производства. Данный трактор зарекомендовал себя, как неприхотливый в эксплуатации и ремонтопригодный практически в любых условиях.
Рисунок 4.24Гусеничный трелёвочный трактор «ТДТ- 55»
На ТДТ-55 устанавливались двигатели СМД-14БН, СМД-18Н, Д-245 (на поздних выпусках), четырехцилиндровые с наддувом или без. Как правило, двигатели СМД-18, ввиду сложности обслуживания и эксплуатации, переоборудовались в СМД-14. При этом менялась цилиндропоршневая группа, перенастраивался топливный насос высокого давления, и удалялся турбинный компрессор (из-за применения низкокачественных ГСМ). Относительно слабые двигатели СМД, как правило, имели малый межремонтный ресурс.
Сцепление сухое двухдисковое, имеет пару трения типа "сталь по феродо", оборудовано фронтальным тормозом. Для снижения утомления оператора снабжено гидравлическим усилителем. КПП имеет 5 передач вперёд и 1 назад, не синхронизированная, имеет фиксатор против включения и выключения передач при отпущенной педали сцепления. Установлена на двигатель. Имеется вал отбора мощности для привода лебёдки. Карданная передача соединяет КПП и задний мост трактора. Выполнена на эластичных элементах по три с каждой стороны, для предотвращения деформации и удобства демонтажа снабжена скользящей втулкой. Задний мост, включает в себя главную коническую передачу, 2 сухих фрикциона "сталь по стали", два плавающих ленточных тормозных механизма, две конечных передачи. Двухконтурная с общим баком.
Система управления движением содержит насос НШ-10, трёхсекционный гидроусилитель, трубопроводы. 1-я секция предназначена для облегчения выключения сцепления, а 2-я и 3-я для облегчения выполнения поворотов трактора. Эффективность её такова, что любое из указанных действий можно выполнить пальцем руки.
Система управления рабочими органами содержит насос НШ-50, двухсекционный гидрораспределитель, гидроцилиндры, трубопроводы. 1-я секция отвечает за управление бульдозером, а 2-я за управление трелёвочным щитом.
Педаль подачи топлива, совмещённая с рычагом, два рычага поворота и торможения трактора, педаль выключения сцепления, рычаг включения и реверса лебёдки, рычаг муфты лебёдки, рычаг тормоза лебёдки.
Включают в себя бульдозерную навеску, трелёвочный щит, реверсивную лебёдку на 40 метров троса с чокерами в количестве до 25 штук.
В соответствии с Правилами Противопожарного Режима Российской Федерации (в ред. Постановления Правительства РФ от 17.02.2014 N 113) на всем автотранспорте въезжающем, находящихся и производящих работу на территории предприятия в повышенной пожарной опасностью, обязательно использование искрогасителей.
Искрогасители служат для предотвращения выброса искр продуктов двигателей внутреннего сгорания. Устанавливаются на выхлопные трубы различной спецтехники, работающей на местности с высокими требованиями к пожарной безопасности. Искрогасители обязательны к установке по нормам пожарной безопасности, искрогасители сухого типа в соответствии с требованиями пожарной безопасности, установленными по НБП 254-99.
Мной предлагается установить на транспорт предприятия, а именно на ТДТ-55- гусеничный трелёвочный трактор, искрогаситель марки (смотри рисунок 4.25).
Рисунок 4.25 Искрогаситель автомобильный «ИСГ»
Автомобильный искрогаситель предназначен для установки на выхлопные трубы авто транспорта въезжающего на территорию района высокой пожароопасности - нефтеперерабатывающие заводы, нефтехранилища и нефтебазы, АЗС, деревообрабатывающие предприятия - и используется для улавливания искр в продуктах горения двигателей внутреннего сгорания.
Искрогасители автомобильные изготовлены с универсальным винтовым креплением, поэтому не возникает проблем с установкой на глушитель.
Искрогаситель маркируется обозначением ИГС и диаметром входного отверстия. Материал изготовления искрогасителя – сталь 08пс или нержавеющая сталь.
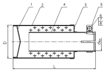
Рисунок 4.26 Схема «ИСГ»
Схема ИСГ приведена на рисунке 26, где: 1- донышко,2 - корпус,3- крышка,4- труба, 5- хомут,6- болт,7- гайка, 8- шайба. Характеристики приведены в таблице 4.15.
Таблица 4.15
Технические характеристики искрогасителя «ИСГ» (Разрешение Госгортехнадзора РРС 00-23820 от 14.03.2007)
| Наименование параметров | Диаметр D, мм | Длина L, мм | Присоединительный диаметр dвн, мм | Масса, кг |
| ИСГ-60 | 114 | 285 | 55 | 0,8 |
5 Технико-экономическое обоснование предложенных мероприятий по предотвращению возникновения чрезвычайной ситуации связанной с пожароопасностью на предприятии
Технико-экономическое обоснование мероприятий заключается в расчете затрат на мероприятия по предотвращению возникновения чрезвычайной ситуации связанной с пожароопасностью в Нерюнгринском филиале ГАУ РС(Я) «Якутлесресурс»
Общая стоимость состоит из: стоимости приобретения первичных средств тушения пожара– пожарных щитов, стоимости приобретения молниезащиты для производственного здания-лесопильного цеха и прилегающих к нему складов древесины и готовой продукции, стоимости приобретения охранно-пожарной сигнализации для здания- конторы, стоимость приобретения устройств- искрогасителей для транспорта предприятия.
Суммарные затраты определяться по формуле 5.12:
| З = Зпсп + Змлзщ. + Зопс+ Зискр | (5.12) |
где Зпсп-затраты на приобретение первичных средств пожаротушения, пожарные щиты;
Зкаб.-затраты на устройство молниезащиты;
ЗУ.Т–затратыустановку охранно- пожарной сигнализации;
Зоб.-затраты установку искрогасителей.
5.1 Расчёт затрат на приобретение первичных средств пожаротушения
У предприятия отсутствует договор со специализированной фирмой у которой можно приобретать первичные средства пожаротушения-пожарные щиты.
В связи с этим предлагается заключить договор с компанией ООО «СТЭЛС», так как компания зарекомендовала себя в качестве надежного поставщика пожарного оборудования на рынке г. Благовещенска.
В ходе работы стало известно количество и модель пожарных щитов для предприятия, а именно три щита пожарных класса А и один щит пожарный класса Е.
Произведем расчет затрат на приобретения пожарных щитов для предприятия, цены на товар взяты с прайс-листа компании ООО «СТЭЛС», общая сумма затрат на приобретение пожарных щитов определяется по формуле 5.13.
| Зпсп.=Рщп а.∙ n1 +Рщп е.∙ n2 | (5.13) |
где Рщпа.Рщп е.- цена соответственно пожарного щита класса А, пожарного щита класса Е;
n1,n2.-количество соответственно пожарных щитов класса А и класса Е.
Зпсп=5033· 3+11070· 1,
Зпсп=26169 р.
Затраты на приобретение первичных средств пожаротушения, а именно 3 щитов пожарных класса А и 1 щита пожарного класса Е составили 26169 рублей.
Цены на щиты пожарные приведены из таблицы 5.1.
Таблица 5.1
Прейскурант на щиты пожарные категории ЩП-А, ЩП-В, ЩП-Е
| Код товара | Наименование | Цена |
| 170100-А | Щит пожарный укомплектованный ЩП-А: метал. Щит закрытый с дверцами (сетка, окно или глухие), емкость для воды 0,2 м. куб., лом, багор разборный, лопата совковая, лопата штыковая, 2 шт. ведро конусное, огнетушители порошковые 2 шт. (ОП-4) АВСЕ. Габариты изделия 1200х700х300 мм., ёмкость для воды 1200х500 мм. | 5 033р. |
| 170100-В | Щит пожарный укомплектованный ЩП-В: метал. Щит закрытый с дверцами (сетка, окно или глухие), ящик для песка 0,5 м. куб., лом, лопата совковая, лопата штыковая, ведро конусное, кошма ПП-300, огнетушители порошковые 2 шт. (ОП-4) АВСЕ. Габариты изделия 1200х1500х540 мм. | 6 681р. |
| 170100-Е | Щит пожарный укомплектованный ЩП-Е: метал. Щит закрытый с дверцами (сетка, окно или глухие), ящик для песка 0,5 м. куб., лопата совковая, кошма ПП-600, огнетушитель порошковый ОП-10 АВСЕ, углекислотные ОУ-3 (2 шт.), крюк КП, диэлектрические ножницы, боты, коврик. Габариты изделия 1200х1500х540 мм. | 11070р. |
5.2 Расчёт затрат на устройство молниезащиты
Из ранее произведенных расчетов нам известно необходимое оборудование для устройства молниезащиты на предприятии, а именно трос стальной
ГОСТ 3064-80 и многогранная высокомачтовая опора ОВС -30(30)-л/о.
Так как в городе Благовещенск нет компаний, занимающихся реализацией данного оборудования предприятию будет предложено заключить договор с листа компанией ООО «Стали и сплавы» город Челябинск, возможно через филиал в городе Хабаровск.
Произведем расчет затрат на приобретения пожарных щитов для предприятия, цены на товар взяты с прайс-листа компании ООО «Стали и сплавы», общая сумма затрат на приобретение пожарных щитов определяется по формуле 5.14.
| Змлзщ.=Р трос.∙ n1 +Ропора.∙ n2 | (5.14) |
где Ртрос.Ропора.- цена соответственно троса и опоры;
n1,n2.- количество соответственно тросов и опор.
Зпсп=10000· 1+240000· 2,
Зпсп=490000 р.
Затраты на приобретение молниезащиты составили 490000 рублей.
Цены необходимое оборудование для устройства молниезащиты приведены в таблице 5.2.
Таблица 5.2
Прейскурант на оборудование для устройства молниезащиты
| Наименование | Параметры | Цена за 1 ед. |
| Трос стальной ГОСТ 3064-80 | Сечение 20 мм Длинна 100 м | 10000 р. |
| Многогранная высокомачтовая опора ОВС -30(30)-л/о | Высота 30м. Нижний диаметр 870 мм. Диаметр опорного фланца 1130 мм. Вес 3788 кг. Количество секций 3. | 240000 р. |
5.3 Расчёт затрат на приобретение охранно-пожарной сигнализации
Приобретение охранно-пожарной сигнализации рекомендуется произвести непосредственно в Республике Саха (Якутии) тем самым снизить, затраты на транспортировку и время на доставку необходимого оборудования.
В Республике Саха (Якутии) реализацию охранно-пожарных сигнализаций осуществляет всего одна компания ООО «Фотон».















