ДИПЛОМ-Громова Н.И. (1203539), страница 8
Текст из файла (страница 8)
Вид печи для нормализации представлен на рисунке 3.4 и 3.5.
Рисунок 3.4 – Печь для нормализации (внутренний вид)
Рисунок 3.5 - Печь для нормализации (внешний вид)
Технические характеристики печи представлены в таблице 3.4.
Таблица 3.4 – Технические характеристики печи
| Наименование | Размер рабочей камеры, мм | Внешние габариты, мм | Максимальная температура, 0С | Напряжение, В | Мощность, Квт |
| КЭП 50/110 | 525·325·305 | 900·750·860 | 1100 | 380 | 9 |
Изоляция рабочей камеры электропечи выполнена из нескольких слоев. Первый слой выполнен из легкого огнеупорного кирпича и плотных волокнистых материалов. Второй слой сделан из огнеупорного керамического волокна, который в свою очередь сделан на основе оксида алюминия. Такая двухслойная изоляция считается надежной и качественной. Она уменьшает теплопотери, снижает затраты электроэнергии и обеспечивает энергосберегающую работу электропечи.
Дно печи закрывается плитами, состоящие из карбидкремния толщиной 25, 35 мм. Они предохраняют теплоизоляцию камеры от непосредственных ударов и обеспечивают ее долговечность, а так же защищают спирали дна от каких либо повреждений. От нагревательных элементов зависит надежная и долговечная работа электропечи. Основа проволоки, из которой производятся нагревательные элементы – это высококачественный сплав, с максимальной температурой нагрева 1400 градусов Цельсия.
Нагревательные элементы установлены на огнеупорных керамических трубках, они открытые и спирального типа. При помощи новейшего микропроцессорного оборудования осуществляется контроль и регулировка температуры в рабочей камере электропечи.
3.6 Вытяжной шкаф с цианидом
Вытяжной шкаф предназначен для защиты работника от вредного химического вещества – цианида. Он эффективно удаляет из рабочей зоны, выделяющиеся химически - вредные пары и газы, которые вредны для здоровья человека. Эти пары и газы выходят из рабочей зоны в систему вытяжной вентиляции.
Схема такого вытяжного шкафа представлена на рисунке 3.6.
Особенностью такого шкафа является его конструкция. Он цельнометаллического исполнения. Как правило, столешницу выполняют из химически стойкого материала. Она оборудована приспособлением для регулировки уровня высоты, устанавливают на жесткое основание.
Защитный наклонный экран изготовлен из закаленного стекла, обладает системой фиксации в двух положениях.[14]
Рисунок 3.6 - Схема вытяжного шкафа ШВ-1,0 "Ламинар-С"
Основные размеры и параметры вытяжного шкафа приведены в таблице 3.5.
Таблица 3.5 – Основные размеры и параметры вытяжного шкафа ШВ- 1,0 «Ламинар-С»
| Габаритные размеры с подставкой, мм | 1020х600х1920 |
| Размеры рабочей камеры шкафа вытяжного, мм | 1015х535х675 |
| Масса шкафа с подставкой, кг, не более | 84 |
| Мощность, потребляемая шкафом от сети, Вт, не более | 65 / 95 |
| Мощность вентилятора, не более Вт | 31 |
| Суммарно максимально допустимая нагрузка на блоки розеток, Вт | 1000 |
| Освещенность рабочей поверхности, Лк, не менее | 1000 |
| Объемный расход воздуха, удаляемого из рабочей камеры бокса, м3/час, не менее | 400 |
Также вытяжной шкаф имеет обратный клапан, который не позволяет парам цианида вернуться в рабочую зону. В качестве освещения используется лампа, с защитным экраном, которая расположена в рабочей камере.
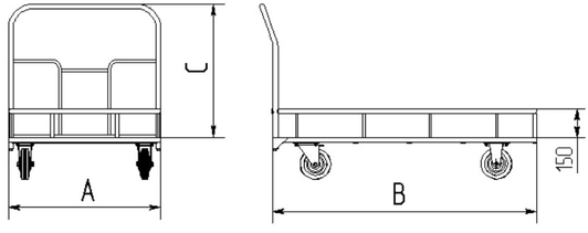
3.7 Тележка
На участке упрочнения втулки шпинтона удобно применять платформенную тележку с маленьким бортиком. Высота бортика составляет 150 миллиметров. Она используется для перевозки мешков, наполненных цианидом. Параметр А - это ширина тележки, она равна 500 мм; В – это длина, равная 80 мм и С – это высота, равная 700 мм. Пример такой тележки приведен на рисунке 3.7 и 3.8.[13]
Рисунок 3.7- Платформенная тележка с маленьким бортиком
Рисунок 3.8 - Платформенная тележка с маленьким бортиком
3.8 Твердомеры Бриннеля и Роквелла
Твердомер – это прибор для измерения твердости металла в условиях производственного участка.
Чтобы определить твердость втулки шпинтона после закалки, применяется два специальных твердомера, один из которых твердомер Бриннеля, марки ТН600, а другой, твердомер Роквелла.
Твердомер Бриннеля ТН600 приведен на рисунке 3.9.
Сам процесс заключается в том, что во втулку шпинтона на протяжении определенного времени, под действием заданной нагрузки вдавливается стальной шарик из закаленной стали. Расстояние от края изделия до центра отпечатка составляет не менее 2,5 диаметров отпечатка. Между центрами соседних оттисков – не меньше 4 диаметров. Твердость измеряется в HB.
Рисунок 3.9 - Твердомер Бриннеля ТН600
Твердомер имеет жесткую силовую раму, которая гарантирует высокую точность и широкий диапазон измерений. В процессе эксплуатации этот прибор надежен и очень удобен.[12]
Также на данном участке используется еще один твердомер Роквелла.
Он представлен на рисунке 3.10.[12]
Рисунок 3.10 - Твердомер Роквелла
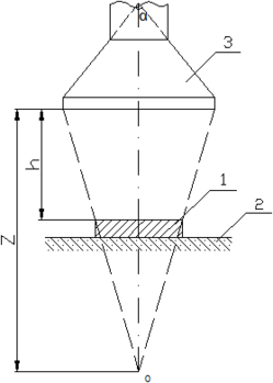
3.9 Схема вытяжного зонта
Вытяжные зонты устанавливаются над тигельными электропечами с устойчивым конвективным потоком. Применяются для создания в рабочей зоне помещения концентраций выделяющихся вредных веществ не превышающих ПДК. С поверхности источника вредных выделений, имеющего температуру
(выше температуры воздуха в помещении
), поднимается конвективный поток тепловой струи, обусловленный разностью плотностей нагретого и холодного воздуха. Этот поток захватывает частицы паров и образующиеся газы и уносит их вверх к вытяжному зонту.
Рисунок 3.11 - Схема вытяжного зонта: 1 - источник вредных выделений; 2 - бетонное основание; 3 – зонт
3.10 Весы, применяемые на участке
Весы – это универсальный прибор, применяемый для взвешивания различных видов материалов и определения их массы.
На данном участке весы применяются для взвешивания мешков с цианидом. Внешний вид приведен на рисунке 3.12.
Рисунок 3.12 –Внешний вид весов
Весы устанавливаются на стол, который должен быть неподвижным и устойчивым, так как колебания и вибрация увеличивают погрешность измерения.
4 ЭКОНОМИЧЕСКАЯ ЭФФЕКТИВНОСТЬ ПРИМЕНЕНИЯ МЕТОДА СУЛЬФОЦИАНИРОВАНИЯ
В настоящее время одним из важных факторов повышения эффективности производства остается экономическая стабильность. Это поможет повысить производительность работы и конкурентоспособность железной дороги на внутреннем и международном рынках транспортных услуг.
На железнодорожном транспорте внедряются все более современные технологии, методы повышения износостойкости деталей и техника. Потребности в материалах, энергии, разработке совершенно новых методов по снижению материалоемкости растут. Чтобы решить данные вопросы, необходимо найти такие ресурсосбережения, которые удовлетворят этим потребностям.
При внедрении новых методов повышения износостойкости деталей подвижного состава, необходимо будет применять прогрессивные формы научной организации труда, совершенствовать его нормирование и стимулирование, стабильность трудовых коллективов.
Особое внимание необходимо уделять разработке мероприятий по снижению материалоемкости ремонтных работ за счет более полного использования деталей и узлов, снимаемых с вагонов, снижению затрат энергоресурсов, лучшему использованию оборудования, ликвидации излишних основных фондов.[6]
Анализируя применяемую технологию ремонта вагонов и их узлов, деталей, определяют, где требуются наибольшие затраты труда, времени и средств, и намечают, что необходимо внедрить в технологию, чтобы снизить эти затраты.
Важное место в повышении эффективности производства занимают организационно - экономические факторы. На железнодорожном транспорте осуществляется реформа, в соответствии с которой существенно изменяется структура управления всеми отраслями, в том числе и вагонным хозяйством, совершенствуются формы и методы управления, планирования, экономического стимулирования всего хозяйственного механизма.
Четкая организация труда, поиск лучшего обслуживания рабочих мест, улучшение условий труда повышает эффективность производства.
Эффективность производства – это достижение наивысших результатов при наименьших затратах в результате наиболее рационального использования машин и оборудования, экономии материальных и финансовых ресурсов, устранения непроизводительных потерь и расходов и других резервов производства.
Эффективность производства характеризуется системой показателей, важнейшими из которых являются темпы роста объема производства за счет роста производительности труда, снижение себестоимости ремонта и технического обслуживания вагонов, экономия от снижения себестоимости, годовой экономический эффект от применения нового метода повышения износостойкости, а также капитальные вложения и срок окупаемости дополнительных капитальных вложений.
Прирост объема работы
, %, за счет повышения производительности труда рассчитывается по формуле [19]:
(4.1)
где
– уменьшение численности работников, то есть отношение численности рабочих на конец отчетного периода к начальному контингенту;
– прирост производительности труда за отчетный период.
В таблице 4.1, приведены показатели трудоемкости ремонта втулки шпинтона до внедрения метода сульфоцианирования и после.
Ремонт стальной втулки шпинтона осуществляется в отдельном изолированном участке, входящий в состав отделения по ремонту автосцепки. Рабочий день начинается с 08:00 утра и заканчивается в 20:00 вечера. Обеденный перерыв с 12:00 до 13:00 часов. Предусмотрены технологические перерывы с 10:00 до 10:15 и с 17:00 до 17:15 часов.
Годовой фонд работы явочных рабочих равен 1974 часа. Данные берутся из отдела по нормированию труда. Чтобы рассчитать количество отремонтированных втулок до внедрения метода сульфоцианирования и после, достаточно знать годовой фонд и трудоемкость. Полученные значения изменения количества отремонтированных втулок шпинтона представлены в таблице 4.2.
Таблица 4.1 – Показатели трудоемкости
| Наименование | Трудоемкость до внедрения метода сульфоцианирования, чел-час. | Трудоемкость после внедрения метода сульфоцианирования, чел-час. |
| Втулка шпинтона | 0,55 | 0,5 |
Таблица 4.2 – Изменение количества отремонтированных втулок шпинтона
| Наименование | Количество до внедрения метода сульфоцианирования, шт. | Количество после внедрения метода сульфоцианирования, шт. | Изменение, % |
| Втулка шпинтона | 3589 | 3948 | 10 |
Рассчитываем прирост объема ремонтных работ для стальной втулки шпинтона по формуле 4.1.
%
В таблице 4.3, приведены изменение себестоимости одной втулки шпинтона до внедрения метода сульфоцианирования и после.















