диплом рудюк (1195645), страница 4
Текст из файла (страница 4)
, (4.7)
где hср – средняя мощность водоносного пласта, м; hср = 0,8∙m;
k –коэффициент фильтрации;
μ –коэффициент водоотдачи пласта при его осушении.
Величина допустимого понижения уровня для напорныхводопределяется:
, (4,8)
где He – напор над подошвой горизонта, м;
ΔHнас–максимальная глубина погружения насоса(нижней его части)под динамический уровень в скважине, принимается равной 3 м;
ΔHф–потери напора при входе в скважину,считаются равными1,5м.
Приток воды к скважине определяется по формуле:
, (4.9)
где r– радиус скважины в ее водоприемной части
Величина допустимого понижения уровня для напорных вод равна:
Sдоп340,52531,517 м,
Коэффициент пьезопроводности равен:
м2/сут.
Радиус влияния:
м,
Приток воды к скважине:
м3/сут.
На основе гидрогеологических условий и данных опытных откачек аналогичных скважин принимаем дебит одной скважины Qск= 1900 м3/сут.
Найдем общее количество скважин:
Согласно 11, принята одна резервная скважина.
Общее количество скважин составляет шесть штук.
Гидравлическое сопротивление равно:
Наибольшее понижение равно:
м
Наибольшее понижение равно Sрас = 10 м, следовательно, условие
(4.3) выполняется.
4.2 Выбор водоподъемного оборудования
Производительность одного насоса рассчитывается по формуле:
, (4.10)
где t – число часов работы насосной станции.
м3/ч
Полная высота подъема насоса определяется по формуле:
Н НгнhпнHсв, (4.11)
где Нгн – геометрическая высота нагнетания (складывается из расстояния от динамического уровня до поверхности земли и свободного напора Hсв; Нгн= 25м);
hпн–потери напора в нагнетательном трубопроводе,hпн=2м.
Н 2521239 м,
На основании рассчитанных параметров Q= 79м3/ч и Н = 39 м определяется марка насоса.
Принят насос марки ЭЦВ-10-120-60 со следующими характеристиками:
-
подача Q = 120м3/ч;
-
напор Н = 60 м;
-
частота вращения n = 3000 об/мин;
-
мощность двигателя N = 32 кВт;
-
длина L = 1615 мм;
-
масса M = 173 кг.
Схема оборудования скважины погружным насосом изображена на рисунке4.2.
1 – насос; 2 – электродвигатель; 3 – водоподъемная труба; 4 – манометр; 5 – задвижка
Рисунок 4.2 – Схема оборудования скважины погружным насосом
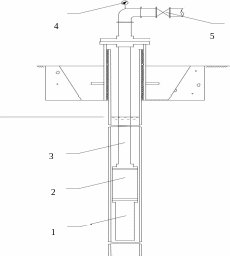
4.3 Конструирование скважины и расчет ее элементов
Скважина включает следующие основные конструктивные элементы: кондуктор, техническую колонну, эксплуатационную колонну, цементную защиту, фильтр, отстойник фильтра, надфильтровую колонну.
В верхней части скважины устанавливается оголовок, представляющий собой железобетонный монолит, обустроенный вокруг кондуктора и предназначенный для восприятия нагрузки от веса обсадных труб и насоса, атакже для предотвращения загрязнения водоносного пласта поверхностными водами. Верхняя часть колонны труб выступает над полом на 0,5 м.
Диаметр эксплуатационной колонны принимается равным наружному диаметру насоса, то есть, dэкс= 273 мм.
Выход технической колонны назначается равным 25 м [2]. Ее диаметр dтехназначается приблизительно на 100 мм больше диаметра эксплуатационной колонны. Исходя из этого, dтех = 377 мм.
Схема конструкции скважины со всеми ее элементами изображена на рисунке 4.5.
4.4 Расчет фильтра
Фильтр устанавливается в водозаборной скважине в пределах водоносного пласта. Фильтр служит для предотвращения обрушения породы и обеспечения благоприятных условий поступления подземных вод внутрь скважины.
Фильтр состоит из надфильтровой трубы, отстойника и водоприемной части.
Так как фильтр находится на колонне, надфильтровая труба одновременно является и эксплуатационной колонной. Длина трубы принимается, исходя из длины водоприемной части фильтра и длины насоса.
В нижней части фильтра располагается отстойник длиной 2 м.
Так как диаметр эксплуатационной колонны dэкс равен 273 мм, наружный диаметр фильтра dф также принимается равным 273 мм.
Длина фильтра рассчитывается по формуле:
, (4.12)
где Q – дебит одной скважины;
vф– максимальная допустимая скорость притока воды к фильтру, которая определяется по эмпирической зависимости
, (здесь K –коэффициент фильтрации, м/сут), м/сут.
м
Длина надфильтровой трубы с учетом всех определенных ранее размеров, атакже того, что насос заглублен на расстояние, равное 1,085 м от динамического уровня, равна 1 м.
Так как водоносный пласт сложен из песчано-гравийной смеси, по [2, табл.15,19] назначается фильтр на стержневом каркасе с водоприемной поверхностью из проволочной обмотки. Опорные каркасы из стержней обматываются проволокой из нержавеющей стали диаметром 3 мм. Крепление проволочной обмотки производится эпоксидной смолой ЭД-5. Конструкция фильтра изображена на рисунке 4.3.
Рисунок 4.3 – Конструкция фильтра на стержневом каркасе с водоприемной поверхностьюиз проволочной обмотки.
4.5 Конструирование павильона скважины (НС-I)
Устье скважины располагается в наземном павильоне. Размеры павильона в плане принимаются исходя из размещения электрооборудования, контрольно-измерительных приборов. Высоту наземного павильона принимается 2,5 м. Впавильоне предусматривается потолочный люк, через который производится монтаж и демонтаж скважинных насосов. Павильон устраивается из сборногобетона.
Отметка заглубления трубопровода определяется по формуле:
z нтр z з(hпрd), (4.13)
где zз– отметка земли, м,
hпр–глубина промерзания(таблица1.1), 2,72м
zнтр28, 000(2, 720, 5)24, 78 м
1 –Оголовок; 2 –задвижка; 3 – обратный клапан;4-расходомер;
5-кран для отбора проб воды
Рисунок 4.4 –Наземный павильон скважины
Водозаборная скважина оборудована следующими приборами:
1) Расходомер
2) Уровнемер
3) Датчик контроля температуры воздуха, при возможности замерзания
трубопровода
4) Кран для отбора воды для пробы
5) Трубопровод для отвода воды при прокачке скважины.
Рисунок 4.5 – Схема конструкции скважины
4.6 Расчет сборных линий
Сборные водоводы предназначаются для транспортирования воды от водозабора до станции очистки воды.
На рисунке 4.6 изображена расчетная схема расположения напорных сборных трубопроводов.
Рисунок 4.6 - расчетная схема расположения напорных сборных трубопроводов.
Гидравлический расчет осуществляется по таблицам Ф.А. Шевелева [4 ].Расчет сведен в таблицу 4.1.
Таблица 4.1 - Гидравлический расчет сборных линий
| Потери | ||||||
| Участок | Длина | Расход | Скорость | Гидравлический | Диаметр | напора h, |
| l, м | q, л/с | v, м/с | уклон i | d, мм | м | |
| 1-2 | 15 | 22 | 1,12 | 0,01500 | 150 | 0,225 |
| 2-3 | 50 | 22 | 1,12 | 0,01500 | 150 | 0,600 |
| 3-4 | 50 | 44 | 1,28 | 0,01350 | 200 | 0,675 |
| 4-5 | 50 | 66 | 1,24 | 0,00953 | 300 | 0,476 |
| 5-6 | 76 | 54 | 1,02 | 0,00654 | 250 | 0,497 |
| Итого | 2,473 | |||||
-
Санитарная зона охраны
Зона санитарной охраны устраивается для обеспечения санитарно-эпидемиологической надежности работы сооружения.
Зона санитарной охраны подземных источников водоснабжения состоит из двух поясов.
Первый пояс зоны (зоны строгого режима) предназначен для предотвращения загрязнения главных водопроводных сооружения сооружений загрязненными поверхностными водами.
Второй пояс служит для предотвращения попадания в водоносный пласт загрязнений, обусловленных бытовой и производственной деятельностью людей.
Величина первого пояса устанавливается, исходя из санитарных соображений. В проекте граница первого пояса занимает площадь,ограниченную водозаборные сооружения радиусом 30 м.
Площадка первого пояса благоустраивается и ограждается, в пределах пояса устанавливается специальный санитарный режим.
-
Проектирование станции водоочистки
6.1 Анализ качества воды и выбор метода обезжелезивания
Показатели качества воды в источнике водоснабжения по заданию приведены в таблице 5.1. Анализ показателей качества и их сопоставление с требованиями СанПиН 2.1.4.1074-01 [3] показали, что вода в источнике не соответствует питьевому стандарту по содержанию железа и сероводорода. Для приведения качества воды в пригодное для питья состояние необходимы обезжелезивание и дегазация.
Таблица 5.1 – Сравнительные показатели качества воды в источнике
| Наименование | Показатели качества воды | |
| Источник | по СанПиН 2.1.4.1074-01 | |
| Водородный показатель (pH) | 6.5 | От 6 до 9 |
| Железо (Fe2+), мг/л | 8 | До 0,3 |
| Железо общее, мг экв/л | 11 | До 0,3 |
| Щелочность, мг-экв/л | 3 | Не нормируется |
| Сероводород (Н2S), мг/дм3 | 2,5 | До 0,003 |
Выбор метода обезжелезивания производится на основе диктующих показателей качества и имеющегося опыта очистки аналогичной по составу воды. Наиболее распространенным методом обезжелезивания является метод упрощенной аэрации и фильтрования. Этот метод применяется согласно СП31.13330.2012*[1] при следующих показателях качества подземных вод:
-
содержание железа (общего) – до10мг/л;
-
содержание двухвалентного железа – не менее 70% от общего;
-
рН воды – не менее 6,8;
-
щелочность воды – не менее (1+Fe2+/28) мг-экв/л;
-
сероводород – не более 2 мг/л.
Как видно из приведенных данных однозначному выбору метода упрощенной аэрации препятствует некоторое превышение общего содержания железа и сероводорода. По остальным показателям метод применим.















