пояснительная (1190626), страница 4
Текст из файла (страница 4)
Все конструктивные элементы каркаса общественного здания из монолитного железобетона класса В25.
Стойками каркаса служат колонны с размерами сечения 500х500 мм, а также пилоны. Армирование выполняется вязаными каркасами. Сечение арматуры принято по расчету.
Соединение колонн с балками покрытия и перекрытия запроектировано на болтах нормальной точности. Болты в узлах работают на растяжение, поперечная сила воспринимается опорными столиками, на которые опираются балки.
Опорные части колонн крепятся к фундаментам болтами. Между базой колонн и фундаментом предусматривается подливка из бетона на мелком заполнителе толщиной 150 мм. Конструктивная система здания изображена на рисунке 1.7.
Рисунок 1.7. Конструктивная схема здания
1.9. Обоснование конструктивных элементов здания.
1.9.1. Фундамент.
Фундамент — строительная несущая конструкция, часть здания, сооружения, которая воспринимает все нагрузки от вышележащих конструкций и распределяет их по основанию. Как правило, изготавливаются из бетона, камня или дерева.
Фундаменты, как правило, закладываются ниже глубины промерзания грунта, для того, чтобы предотвратить их выпучивание.
Для строительства зданий применяются ленточные, стаканные, столбчатые, свайные и плитные фундаменты. Они бывают сборные, монолитные и сборно-монолитные. Выбор фундамента зависит от сейсмичности местности, грунта и от архитектурных решений.
Фундаменты приняты свайными из сборных железобетонных забивных свай – стоек. Длина свай от 6 до 9 м. Сваи армируются сварными каркасами согласно. Сечение свай 300х300 мм. Материал свай назначен: бетон класса В 25, F 100, W 4. Тип армирования принят 8-9. При этом, расчетная нагрузка, воспринимаемая сваей, 80т. Глубина заделки свай в щебенистые грунты с супесчаным заполнителем твердой консистенции 1-1.5 м. Заделка свай в монолитный ростверк 600 мм.
Минимальная глубина погружения свай 6м.
Ростверк по сваям – монолитный железобетонный из бетона класса В25, F 100, W6.
Армирование выполняется вязаными каркасами. В местах расположения колонн и пилонов при концентрации напряжений предусматривается усиленное армирование.
1.9.2 Стены.
Наружные стены (тип 1)
Газобетонные стеновые блоки ООО «Силбет», кладка на клеевом составе, толщиной 600 и 500 мм, плотностью — D500, D600.
Газобетон Силбет - уникальный высокотехнологичный строительный материал, обладающий одновременно изолирующими и несущими свойствами и удачно сочетающий в себе прочность камня, простоту обработки и экологичность дерева. Газобетон объединил в себе лучшие качества строительных материалов и обладает высокой прочностью, морозостойкостью, не подвержен разрушению, усадке и гниению. Строительные блоки Силбет соответствуют всей технологической документации отвечают как российским, так и европейским нормам и стандартам.
Низкая теплопроводность автоклавного газобетона Силбет позволяет возводить однослойной стены без дополнительного утепления, что значительно упрощает монтаж и существенно удешевляет конструкцию.
Рисунок 1.8. Сечение наружной стены
Рисунок 1.9. Укладка стен
Таблица 1.6. Конструкция стен
| Наименование материала | Толщина слоя δ, м | Средний объемный вес γ, кг/м3 | Коэффициент теплопроводности λ, Вт/м·°С |
| 1. Лицевой кирпич | 0,090 | 1800 | 0,47 |
| 2. Газобетонный стеновой блок ООО «СилБет» | 0,500 | - | 0,41 |
| 3. Штукатурка, затирка | 0,020 | 1800 | 0,9 |
Наружные стены (тип 2)
Железобетонная колонна (пилон), толщиной 500 мм, утеплитель – экструдированный пенополистирол ХРS – Изопинк толщиной 100мм, группа горючести Г1. Облицовка лицевым кирпичом производства Ю.Корея толщиной 90 мм.
Рисунок 1.10. Сечение наружной стены
Таблица 1.7 Характеристики элементов стен.
| Наименование материала | Толщина слоя δ, м | Средний объемный вес γ, кг/м3 | Коэффициент теплопроводности λ, Вт/м·°С |
| 1. Лицевой кирпич | 0,090 | 1800 | 0,52 |
| 2. Железобетонная колонна | 0,500 | - | 1,92 |
| 3.Утеплитель пенополистирол ХРS – Изопинк | х | 125 | 0,041 |
| 4. Штукатурка, затирка | 0,020 | 1800 | 0,9 |
1.9.2.1. Теплотехнический расчет стены
Для расчета толщины утепляющего слоя необходимо определить сопротивление теплопередачи ограждающей конструкции исходя из требований санитарных норм и энергосбережения.
1.Определение нормы тепловой защиты по условию энергосбережения:
Определяем градусо-сутки отопительного периода:
Dd = (tв - tот.пер) zот.пер (1.1)
где:
tв - расчетная средняя температура внутреннего воздуха, оС;
tот.пер - средняя температура отопительного периода, оС;
zот.пер - продолжительность отопительного периода, сут.
Dd= (18-(-10,1))х205=5760,5оС•сут.
Нормативное значение приведенного сопротивления теплопередаче следует принимать не менее нормируемых значений, определяемых по [15] в зависимости от градусо-суток района строительства:
Rтр= αхDd+b (1.2)
где:
Dd - градусо-сутки отопительного периода, °С•сут, для конкретного пункта;
a,b - коэффициенты, значения которых следует принимать по данным таблицы для соответствующих групп зданий.
Rтр= αDd+b=0,0003х5760,5+1,2=3,0 м2 °С/Вт.
Определение нормы тепловой защиты по условию санитарии:
(1.3)
где:
∆tn - нормируемый температурный перепад между температурой внутреннего воздуха tв и температурой внутренней поверхности tвп ограждающей конструкции, °С, принимаемый по [15, табл.5];
ав - коэффициент теплоотдачи внутренней поверхности ограждающих конструкций, Вт/(м
·°С), принимаемый по [15, табл. 4];
tв - температура внутреннего воздуха;
tн - расчетная температура наружного воздуха в холодный период года, °С, принимается по [1].
(1.4)
Из вычисленных значений сопротивлений теплопередаче ,в качестве итогового, принимаем наибольшее и обозначим его как R0тр.
R0тр = 3,0 °С/Вт.
Сопротивления теплопередачи ограждающей конструкции R0 выполняется по формуле:
где:
ав - коэффициент теплоотдачи внутренней поверхности ограждающих конструкций, Вт/(м
·°С), принимаемый по [15, табл. 4];
aн – коэффициент теплоотдачи наружной поверхности стены для зимних условий, составляет 23 Вт/м2·оС.
Сопротивление теплопередаче
Следовательно в качестве утеплителя используем утеплитель пенополистирол ХРS – Изопинк толщиною 100 мм.
1.9.3. Перегородки.
Перегородки в офисном центре изготовлены из керамического кирпича толщиной 120 мм.
Наиболее прочные и долговечные межкомнатные перегородки выполняются из кирпича. Такие перегородки способны выдерживать большие нагрузки, обладают теплоизоляционными свойствами и звуконепроницаемостью, но и требуют значительных затрат, как материальных, так и физических.
Керамический поризованный кирпич 2,1 NF – это одна из наиболее популярных на данный момент альтернатив рядовому строительному кирпичу. Они предназначены для кладки внутренних и наружных несущих стен, а также межкомнатных перегородок. В кладке такой кирпич заменяет 2 кирпича стандартного формата. Его плотность на 25 – 30 процентов меньше, чем у обычного пустотелого кирпича. Он значительно легче, что позволяет существенно снизить нагрузку на фундамент.
Кладка перегородки начинается с разметки, которая проводится по полу и выходит на стену и потолок, и подготовки основания. Под конструкцию на очищенный от строительного мусора пол или фундамент подкладывается гидроизоляционный материал. Кирпичи следует класть в шахматном порядке для придания устойчивости конструкции, с этой же целью необходимо армировать кладку проволокой 4-6 мм в диаметре через каждые 3-4 ряда. Стыковка происходит при помощи арматурных штырей. Прутья длиной 40-50 сантиметров вбиваются в стену одним концом и укладываются на кладку другим, на уровне шва и закрываются следующим слоем кирпичей. Таким образом, штырь оказывается замурованным в кладку. Устанавливать арматуру следует с шагом до 12 сантиметров по заранее размеченным рискам.
Рисунок 1.11. Конструкция примыкания кирпичной перегородки к газобетонным блокам
Рисунок 1.12. Схема примыкания кирпичной перегородки к газобетонным блокам
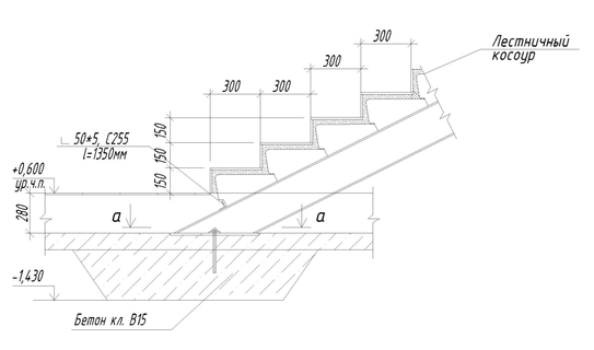
1.9.4. Лестница.
Конструкция лестницы состоит их площадки и марша. По типу конструкции, в строительстве, различают этажные и междуэтажные сооружения. Первые являют собой лестничную площадку, которая расположена в уровне пола этажа. Вторые – этажи в промежутке.
Лестничный марш – представляет собой устройство ступеней, элементами, которые расположены под ступенями (косоуры) или тетива – элемента, которые примыкает к ступенькам сбоку. Горизонтальную часть конструкции называют – проступь, вертикальную – подступенок. Форма лестничных маршей должна быть одинаковой.
Для производства ступенек употребляется тяжелый бетон марки от В15 - для внутренних помещений, и от марки В25 для ступеней наружных лестниц с показателем марки железо бетона по морозостойкости не менее F50.
В офисном здании запроектированы сборные индивидуальные марши.
Ограждения лестницы должны выдерживать боковую нагрузку примерно 100 кг, чтобы взрослый человек мог на них опереться. Балясины устанавливают с шагом «в просвете» максимум 150 мм. При ширине лестницы более 1100 мм желательно сделать дополнительное ограждение по стене, используя пристенный поручень. Высота перил должна быть удобной для опирания на них рукой (900–1100 мм), а размеры всевозможных отверстий между перилами не допускать протискивание в них головы ребенка. Ширина и высота поручня должна быть удобной для непроизвольного захвата рукой.
Рисунок 1.13. Конструкция лестничного марша
1.9.5. Перекрытие и покрытие.
Элементами перекрытия являются монолитные железобетонные плоские из бетона класса В 25 с армированием по расчету. Конструкция перекрытия ригельная с дополнительным армированием в местах концентрации напряжений в приопорной части колонн и расположения ригелей перекрытия. Конструкция устройства покрытия приведена на рисунке 1.14.















