АВТОМАТИЗАЦИЯ СУШИЛЬНОГО АГРЕГАТА ДЛЯ СУШКИ ПЕСКА (1189761), страница 2
Текст из файла (страница 2)
Песок в них пересыпается с вращающихся тарелок на неподвижные кольца, а с колец снова на тарелки и т. д. Пересыпание осуществляется с помощью скребков. Вертикальные сушила делают обычно с противотоком – топочные газы движутся навстречу песку. Расход условного топлива в таких сушилках составляет 40…60 кг топлива на 1 т песка.
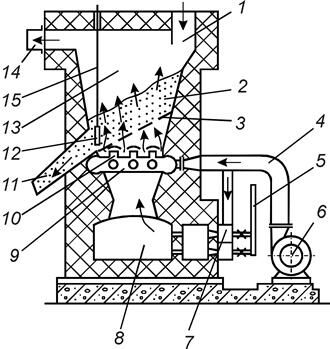
Установка для сушки песка в кипящем слое (рисунок 1.3) представляет собой вертикальный барабан из трёх камер. В камере 8 сжигается газ, в камере 9 – топочные газы разбавляются холодным воздухом. Слой песка 2, лежащий на решётке 3, продувается горячими топочными газами. В результате образуется кипящий слой песка. Сухие зерна песка «всплывают» кверху и через верх регулирующей заслонки 12 перетекают в желоб 11, а сырые частицы опускаются вниз к горячей решётке, к более горячим топочным газам. Установка работает непрерывно. Рядом с установкой для сушки монтируют установку для охлаждения песка.
1
2
3
4
5
6
7
8
9
10
11
12
13
15
14
1 – загрузочная воронка; 2 – слой песка; 3 – перфорированная решётка;4 – нагнетающий воздухопровод; 5 – газопровод; 6 – дутьевой вентилятор;7 – газовые двухпроводные горелки; 8 – камера сжигания; 9 – камера смешивания;10 – фурмы; 11 – желоб; 12 – регулирующая заслонка; 13 – камера сушки;14 – трубопровод отходящих газов; 15 – тяга регулирующей заслонки
Рисунок 1.3-Установка для сушки песка в кипящем слое.
Наличие большой поверхности контакта твёрдых частиц с газовой средой и интенсивное перемешивание частиц обуславливают эффективный теплообмен и массообмен между частицами и газовым потоком.
Температуры во всём объёме слоя достаточно выровнены. Это позволяет эффективно использовать кипящий слой для сушки песка и для охлаждения его после сушки. В установках для сушки и охлаждения формовочного песка в кипящем слое расход условного топлива составляет около 10 кг на 1 т песка. Однако такие сушилки имеют и недостатки: повышенный расход электроэнергии; невысокая интенсивность процесса при сушке тонкодисперсных продуктов; значительное истирание частиц материала и, как следствие, образование большого количества пыли.
В некоторых литейных цехах используют установки для сушки песка в пневмопотоке (рисунок 1.4). Сущность работы этих установок заключается в том, что в транспортный трубопровод подаются горячие топочные газы из топки и сырой песок через загрузочную воронку с дозатором . Во время движения по трубопроводу со скоростью 25…30 м/с в потоке горячих газов песок высыхает и осаждается в бункере циклона . Отработанные и несколько охлаждённые газы, очистившись в фильтре 6, выбрасываются вентилятором в атмосферу.
Р
исунок 1.4-Установка для сушки и охлаждения песка в пневмотоке
Расход энергии в пневматических сушилках значителен, причём он снижается с уменьшением размера частиц высушиваемого материала. Такие установки меньше распространены, чем установки для сушки песка в кипящем слое, вследствие значительного износа колен трубопроводов и трудностей очистки запылённых газов.
Рассмотрим особенности конструкции барабанных сушилок. Основной материал для изготовления барабанов сушилок, загрузочных и разгрузочных камер – углеродистые стали. В технически обоснованных случаях допускается изготовление барабанов, а также загрузочных и разгрузочных камер частично или полностью из жаростойких сталей специальных марок.
Для предотвращения утечки сушильного агента из барабана на обоих его торцах устанавливаются различные уплотнительные устройства: сальниковые, лабиринтные, фрикционные, гибкие и т. д.
Внутри корпуса барабанной сушилки закрепляются различные насадки, предназначенные для перемешивания высушиваемого материала. Форма насадки должна соответствовать свойствам высушиваемого материала. Если свойства материала изменяются в процессе сушки, то форму насадки принимают разной по длине барабана. Наиболее распространённые конструкции насадок барабанов представлены на рисунке 1.5 .
Спиральные лопасти (рисунок 1.5 а) обычно применяют на первых метрах загрузочного конца аппарата для того, чтобы сообщить ускорение потоку, выходящему из питающего желоба или конвейера, и предотвратить утечку газа через уплотнение. Для крупнокусковых и склонных к налипанию материалов применяется лопастная система (рисунок 1.5 б). Для сыпучих материалов – распределительная система объёмного типа (рисунок 1.5 з), а также – распределительная насадка. Для пылеобразующих материалов применяют перевалочную систему с закрытыми ячейками (рисунок 1.5 д).
ж)
з)
и)
г)
д)
е)
а)
б)
в)
а – приёмно-распределительная винтовая; б, в, г, ж – подъёмно-лопастные; д, з, и – секторные; е – с прямыми самоочищающимися лопастями
Рисунок 1.5-Схемы насадок барабанных сушилок.
Одной из основных характеристик насадок является степень заполнения материалом барабана. Минимальная степень заполнения у барабанов подъемнолопастной насадкой составляет 12 %.
1.2 Описание объекта автоматизации
Объектом автоматизации по теме ВКР является сушильный агрегат.
Связи с большой потребностью производства сухого песка завод «ООО Строймикс» применяет одноходовое горизонтальное сушило для песка с подъёмно-лопастной насадкой, такой выбор позволяет производить значительные объемы песка за меньшее время .
Сушильные барабаны - предназначены для сушки сыпучих материалов топочными газами. При вращении корпуса барабана происходит перемещение материала в направление разгрузочной камеры. Горячий воздух поступает в корпус и, соприкасаясь с материалом, нагревает его. Происходит испарение влаги в содержимом корпуса. Режим сушки для различного материала меняется в зависимости от влажности сырья на входе в барабан и требуемой влажности готового материала. Техниеские данные сушильного барабана и габаритные размеры указаны в таблице 1.1 и таблице 1.2.
Таблица 1.1 - Основные технические данные сушильного барабана
| Параметр | Исполнение | ||
| Диаметр барабана, мм | 1000 | ||
| Диаметр расширенной части барабана, мм | 1800 | ||
| Производительность по сухому сыпучему материалу, т/ч, не менее | 15-20 | ||
| Расход энергоносителя: - жидкое топливо , кг/ч, не более; - газ (10,35 кВт/м3), м3/ч, не более; - электроэнергия, кВт/ч, не более | 140 200 - | ||
| Удельный расход энергоносителя на одну тонну сухого сыпучего материала: - жидкое топливо, кг/т, не более; - газ (10,35 кВт/м3), м3/т, не более; - электроэнергия, Вт/т, не более | 5,9 8 75 | ||
| Начальная влажность сухого сыпучего материала, % | 5-6 | ||
| Конечная влажность сухого сыпучего материала, % | 0,1 | ||
| Модуль крупности, мм | 1,5 | ||
| Температура газов на выходе из сушильного барабана, 0С | 115-135 | ||
| Частота вращения барабана, регулируется частотным преобразователем, об/мин | 3-7 | ||
| Потребляемая мощность привода барабана MR160М6 , кВт | 7,5 | ||
| Вид топлива | газ, дизельное топливо, керосин, мазут. | ||
Таблица 1.2 - Габаритные размеры и масса составных частей барабана прямоточного сушильного барабана с горелочным устройством.
| Наименование и обозначение | Габаритные размеры, мм, не более | Масса, кг | |||
| длина | ширина | высота | |||
| Барабан | 8640 | 1500 | 1500 | 3700 | |
| Привод барабана | 1616 | 1335 | 652 | 490 | |
| Ролик опорный передний | 1470 | 450 | 350 | 318 | |
| Ролик опорный задний | 1470 | 875 | 550 | 395 | |
| Опора сушильной установки | 12100 | 1880 | 770 | 2100 | |
| Камера разгрузочная | 1775 | 1720 | 2300 | 450 | |
| Опора горелочного устройства | 520 | 1900 | 1100 | 162 | |
| Горелочное устройство | 1710 | 1000 | 1250 | 453 | |
| Труба загрузочная | 2000 | 320 | 320 | 150 | |
Также песок необходимо охлаждать это делается по средством охладительного барабана, параметры барабана такие же как и в сушильном барабане.
В разгрузочной камере сушильного барабана находится сито, которое просеивает песок, выводя из производства крупные частицы через транспортер отходов на улицу. Электропривод Z62KMRB80 с потребляемой мощностью 1,5кВт















