13_лаб (1172826)
Текст из файла
10
Министерство общего и профессионального образования РФ
Московский ордена Ленина, ордена Октябрьской Революции
и ордена Трудового Красного Знамени
технический университет им.Н.Э.Баумана
А.М.ТОРГОВ
ИССЛЕДОВАНИЕ СИЛ ТРЕНИЯ
в цилиндрической направляющей
Методические указания
к лабораторной работе № 13
по курсу
«Основы конструирования приборов»
Под редакцией О.Ф.Тищенко
Москва 2001
Цель работы - ознакомиться с конструкцией установки для определения суммарной силы трения в цилиндрической направляющей с трением скольжения при различных режимах работы; экспериментально и аналитически определить суммарную силу трения в направляющей и проанализировать полученные результаты.
Конструкция установки.
Направляющие используются для направления движения столов, кареток, суппортов, наконечников и других деталей и узлов машин и приборов. Различают направляющие для криволинейного и прямолинейного движения. Более распространены направляющие для прямолинейного движения. В технике широко используются призматические, прямоугольные, цилиндрические направляющие и направляющие типа "ласточкин хвост". Направляющие могут быть с трением качения и с трением скольжения.
В настоящей работе исследуется трение в цилиндрической направляющей прямолинейного движения с трением скольжения.
Направляющие просты и надежны в работе. Они должны воспринимать действующие на них нагрузки, обеспечивать малое сопротивление движению, точное его направление и быть износостойкими.
Вследствие износа в направляющих с трением скольжения увеличиваются зазоры, происходят перекосы и нарушается точность направления движения. Поэтому очень часто предусматриваются устройства, позволяющие регулировать зазоры в направляющих, как при сборке, так и в процессе эксплуатации. Величина зазоров может меняться при изменении температуры и при деформации при воздействии сил.
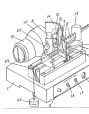
Установка для изучения работы прямолинейных направляющих с трением скольжения смонтирована на основании 1 (рис.1,2), на котором установлены механизм передвижения, измерительное устройство и пульт управления 3. Механизм приводится в движение электродвигателем 10, мощность которого 20Вт. напряжение постоянное 110V. Двигатель допускает регулировку скорости вращения.
Движение от электродвигателя 10 передается через червячный редуктор 12 с передаточным отношением 16.5 и через коническую передачу 13 с передаточным отношением 1 на ходовой винт (см. рис.5). С червячным редуктором двигатель соединен муфтой.
Ходовой винт сообщает прямолинейное движение подвижной каретке 2, которая перемещается в направляющей типа "ласточкин хвост". С подвижной кареткой 2 поступательно перемещается цилиндрическая направляющая 16 (см. рис.2). Имеются два переключателя, останавливающие подвижную каретку 2 в крайних положениях путем выключения двигателя.
Скорость вращения вала двигателя показывает постоянно включенный магнитный тахометр 9. Для плавного изменения скорости вращения двигателя служит потенциометр,
Установка позволяет определить суммарную силу трения, действующую между цилиндрической направляющей 16 и измерительной кареткой 2. Для этой цели использовано относительное движение. Измерительная каретка удерживается измерительным устройством.
Рис.1 Рис.2
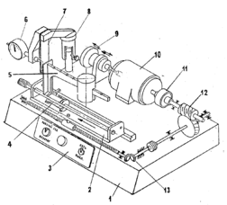
Измерительное устройство собрано на вертикальной раздвижной стойке 8. в верхней части, которой имеется кронштейн 14 с закрепленной измерительной пружиной 7. Измерительная пружина упирается штифтами у нижнего конца в стойку измерительной каретки. Поступательное движение цилиндрической направляющей вызывает движение на измерительную каретку сил трения, которые при рабочем ходе уравновешиваются силой, создаваемой измерительной пружиной. Деформация измерительной пружины 7 под действием приложенной силы измеряется индикатором часового типа 5, протарированным по силе. При возврате цилиндрической направляющей, т.е. при холостом коде, измерительное устройство оказывается выключенным.
Измерительная каретка цилиндрической направляющей имеет гильзы с двумя втулками, одна из которых перемещается с помощью накидной гайки так, что длина L измерительной каретки (рис.3) может изменяться. Величину L устанавливают по специальной шкале.
Измерительную каретку цилиндрической направляющей нагружают грузами 15, причем место расположения центра тяжести можно менять. Для этого груз перемещается вдоль консольного рычага 5 так, чтобы зубец груза западал в одну из впадин рычага. Длина образующегося при этом плеча рычага условно отсчитывается от левого края направляющей гильзы до центра тяжести груза. Против впадин на консольном рычаге приведены значения, указывающие длину установленного плеча.
Путем изменения длины раздвижной стойки 8 меняется расстояние от средней линии направляющей до упорных штифтов измерительной шкалы.
При перемещении точки приложения силы измерительной пружины меняются условия работы и сила трения направляющей.
Пульт управления 3 смонтирован на передней панели. На нем установлены тумблер 17 включения установки 6 сеть и тумблер 18 переключения с рабочего хода на возврат, и рукоятка потенциометра 19 для плавного изменения скорости движения.
Силы и моменты в цилиндрической направляющей.
Рассмотрим силы и моменты, действующие на измерительную каретку цилиндрической направляющей (рис.3). При рабочем ходе установки направляющая 16 двигается влево, а при холостом ходе вправо.
Рис. 3
Суммарная сила трения в цилиндрической направляющей измеряется лишь при рабочем ходе. В этом случае силы трения T1 и Т2, действующие у краев каретки, направлены влево, т.е. противоположно относительной скорости. Сила трения T1 и Т2 вызваны действием реакций R1 и R2: T1 = f-R1: Т2= f-R2, где f - коэффициент трения. В центре тяжести С приложен вес измерительной каретки (без груза 5). Плечо 1 и P1, считаем постоянными. Ниже приближенно указано значение 1 для среднего положения накидной гайки. Вес перемещающегося груза R2 действует на плече 2. Вес груза P2, как и плечо 2 можно менять. Сила трения Рз вызвана действием измерительной пружины, з - плечо этой силы. Величина Рз определяется по индикатору. Плечо силы Рз можно менять, перемещая измерительную пружину вместе с кронштейном вверх или вниз вдоль стойки 8.
Проектируем силы на горизонталь:
Сила Рз равна искомой суммарной силе трения в направляющей.
Проектируем действующие силы на вертикаль:
Уравнение моментов относительно точки - 0:
Решаем совместно полученные уравнения:
где: d - диаметр направляющей.
Откуда:
Из последнего равенства определим:
Зависимость (3) можно использовать лишь в тех случаях, когда получившиеся из уравнений (2) значения реакций R1 и R2 положительны.
В рассматриваемой конструкции заклинивание возникает, если знаменатель формуле (3) обратится в ноль. Тогда суммарная сила трения Рз становится равной бесконечности. Чтобы не было заклинивания цилиндрической направляющей, необходимо соблюдать неравенство L>2f3.Значения L и 3, могут в установке меняется. В самом неблагоприятном случае L имеет наименьшее значение (L =35мм), 3 - наибольшее (3=80мм). Приняв предварительно завышенное значение f=0.2, получим 35>2*0.2*80=32, т.е. конструкция установки для исследования работы направляющей обеспечивает отсутствие заклинивания в направляющей. Когда реакция R1 положительна, а реакция R2 по зависимости (2) имеет отрицательное значение, то формула для определения рз принимает более простой вид:
P3 =f(R1 + R2) (4)
Установление значений 2, 3 и L можно рассматривать как прямое измерения по линейной шкале. Определение силы рз является косвенным измерением на основании установленного значения градуированного коэффициента. Определение реакций R1 и R2 относится к совокупным измерениям, их значение устанавливается на основании решений уравнений, составленным с использованием результатов прямых измерений.
ГРАДУИРОВКА
При градуировке прибор должен быть отключен от электрической сети, т.е. тумблер 19- в положении "выключено". На упорные штифты измерительной пружины 7 надевается планка с закрепленным на ней шнуром и подвеской (см. рис. 2). Шнур перекидывается через блок 23 (рис.4). Ослабляется бинт (см. рис.2), крепящий положение раздвижной стойки 8 по высоте. Измерительная пружина 7 вместе с кронштейном опускается вниз до тех пор, пока шнур между планкой и блоком не займет горизонтальное положение. При этом он будет перпендикулярен к измерительной пружине. Установленное положение фиксируется тем же установочным винтом.
Рис.4
После этого поворотом шкалы стрелка индикатора 6 устанавливается на ноль. На конце шнура имеется крючок, на который подвешиваются градуированные грузы весом Р = 5Н; 10Н; 15Н; 20Н. При действии нагрузки измерительная пружина изгибается, в результате чего перемещается шток индикатора 6. Каждой нагрузке Pi соответствует определенное число делений индикатора Ji. Результаты измерений заносятся в таблицу 1, форма которой приведена в конце описания работы. При градуировке примите меры, чтобы грузы не упали. Для каждого замера подсчитывается значения Ki=Pi/Ji, после чего определяют среднее значение K=(K1+K2+K3+K4)/4. При градуировке следите, чтобы значение K были близки между собой. Если между ними имеется значительные расхождения, то результаты градуировки следует проверить снова. Среднее значение коэффициента K используется при дальнейшем проведении работы. Для того чтобы экспериментально определить силу Рз, равную суммарной силе трения, действующей в цилиндрической направляющей, используется зависимость:
Рз=K*J (5)
где J - число делений индикатора, соответствующее Рз.
Касание гранями каретки 2 ограничителя приводит к выключению измерительного устройства. Поэтому как при градуировке, так и в процессе проведения испытаний во время рабочего хода, следите, чтобы касания не происходило.
Последовательность проведения опытов и расчетов Экспериментальные исследования и расчеты каждым студентом выполняются самостоятельно в соответствии с одним из вариантов. Номер варианта указывается преподавателем. Объем работы для варианта приведен в таблице 2.
-
Составьте кинематическую схему установки. На рис.5 приведена кинематическая схема.
Рис.5
-
Подключите прибор к сети постоянного тока напряжением 110V. Проверьте правильность установки напряжения питания, иначе можно пережечь электрический двигатель. Перед началом испытания градуировочные грузы и градуировочноя планка должны быть сняты.
-
Включите тумблером 17 прибор.
-
Установите индикатор 6 на ноль поворотом его шкалы при движении подвижной каретки 8 с цилиндрической направляющей 9 вправо, т.е. при холостом ходе (возврат). После этого шкалу индикатора перемещать не следует, иначе при измерении будут получены неправильные результаты. Переключение установки с рабочего хода на возврат, и наоборот, производится тумблером 18.
-
Приступите к испытаниям в соответствии заданным вариантам. Для каждого замера должны быть установлены заданные длина направляющей L, длины плеч 12, 1з, вес груза 15 (P2) и частота вращения двигателя Nд. Длина L устанавливается поворотом гайки 4, которая при этом перемещается вдоль шкалы. Указателем служит левый край гайки. Плечо 1з меняется при перемещении груза 15 (Ре) вдоль консольного рычага 5. Левый зуб груза Ра должен в ходить в соответствующее деление рычага 5. Плечо 1з меняется при перемещении градуировочной пружины 7 вместе с верхней частью раздвижной стойки 8. Для этого ослабляется винт верхняя часть стойки 8 перемещается на необходимую высоту вдоль вертикальной шкалы. Указателем в данном случае являются упорные штифты пружины 7. Новое положение вновь фиксируется винтом. Число оборотов двигателя Nд проверяется по тахометру 9 и устанавливается поворотом рукоятки потенциометра 19. Скорость направляющей подсчитывается по формуле:
Характеристики
Тип файла документ
Документы такого типа открываются такими программами, как Microsoft Office Word на компьютерах Windows, Apple Pages на компьютерах Mac, Open Office - бесплатная альтернатива на различных платформах, в том числе Linux. Наиболее простым и современным решением будут Google документы, так как открываются онлайн без скачивания прямо в браузере на любой платформе. Существуют российские качественные аналоги, например от Яндекса.
Будьте внимательны на мобильных устройствах, так как там используются упрощённый функционал даже в официальном приложении от Microsoft, поэтому для просмотра скачивайте PDF-версию. А если нужно редактировать файл, то используйте оригинальный файл.
Файлы такого типа обычно разбиты на страницы, а текст может быть форматированным (жирный, курсив, выбор шрифта, таблицы и т.п.), а также в него можно добавлять изображения. Формат идеально подходит для рефератов, докладов и РПЗ курсовых проектов, которые необходимо распечатать. Кстати перед печатью также сохраняйте файл в PDF, так как принтер может начудить со шрифтами.
















