Автореферат (1151666), страница 9
Текст из файла (страница 9)
6- водовыпускное устройство
Рисунок 19. Оросительная сеть для полива склоновых земель
1-распределительный трубопровод, 2-гибкий поливной трубопровод, 3-регулятор расхода,4-перепускное устройство, 5- воздуховыпускное отверстие,6-калиброванное водовыпускное отверстие,7,8-фиксаторы, 9,10-линейные элементы (шпалерная проволока), 11- вертикальные опоры.
Низконапорная система внутрипочвенного орошения предназначена для полива многолетних насаждений, в том числе сточными водами, на почвах среднего и тяжелого гранулометрического состава преимущественно участков несложной конфигурации со слабоизрезанным рельефом и уклонами 0,05...0,2. В системе используется принцип самонапорной подачи воды в поливные трубопроводы, заложенные на глубине 0,4 м по уклону орошаемого участка. В них выполнены сквозные отверстия диаметром 12...14 мм; в верхней стенке трубопровода (воздушное) - для связи внутренней полости трубопровода с атмосферой, а в донной части - для подачи воды в очаговые увлажнители. При поливе вода через выпускные отверстия поливных трубопроводов заполняет очаговые увлажнители до уровня воды в трубопроводе. Таким образом, во всех очаговых увлажнителях поддерживается слой воды, определяемый гидродинамическим напором. Очаговые увлажнители выполнены в виде пористых емкостей диаметром 200 мм. Расход воды, поступающий через очаговый увлажнитель в почву, зависит лишь от поглотительной способности почвы и геометрических размеров пористых емкостей.
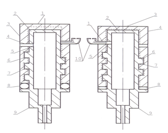
Для орошения сточными водами разработана конструкция системы внутрипочвенного орошения (пат. №2132125), включающая источник забора сточных вод, сеть распределительных и поливных трубопроводов, очаговых увлажнителей (рисунок 20).
Рисунок 20. Система внутрипочвенного орошения сточными водами
1 – распределительный трубопровод; 2 – регулятор расхода; 3 – поливной трубопровод; 4 – диафрагма; 5 – воздушная трубка; 6 – секции поливного трубопровода; 7 – перфорированные оросители; 8 – водонепроницаемый экран; 9 – колодец; 10 – сбросной трубопровод; 11 – поверхность почвы; 12 – крышка колодца; 13 - растение
Поливные трубопроводы в системе выполнены в виде секций труб, соединяющих очаговые перфорированные оросители, и уложенные с уклоном более 0,03. На входе в каждую секцию установлена диафрагма с воздушной трубкой, выведенной выше поверхности почвы. Перфорированный ороситель снабжен крышкой и водонепроницаемым экраном. Уклон трубопровода в сочетании с диафрагмой обеспечивают безнапорный поток воды, исключающий выпадение ила в осадок. Воздушная трубка обеспечивает аэрацию, что повышает скорость окисления органической части илистой взвеси. Сточные воды поступают в почву из очагового оросителя в зону расположения корней, что обеспечивает поддержание благоприятного водного, воздушного и пищевого режимов почвы.
Система микродождевания включает те же элементы, что и система капельного орошения. Тип распылителя, подача через него расхода воды и площадь увлажнения почвы определяются исходя из требуемой доли увлажнения поверхности почвы. Содержание взвесей в воде для роторных распылителей с радиусом действия более 1 м ограничивается 1 г/л, для центробежно-винтовых с радиусом действия менее 1 м - не более 500 мг/л. Максимально допустимая крупность взвешенных частиц для первых - 1 мм, для вторых - 0,5 мм. Минерализация поливной воды не должна превышать 2 г/л. При внесении в поливную воду химмелиорантов необходимо, чтобы взвешенные частицы нерастворившихся или частично растворившихся химикатов не превышали 500мкм.
Преимуществом конструкции микродождевателя перед капельницей является больший диаметр водовыпускного отверстия и, как следствие, меньшая их засоряемость, а также большая площадь увлажнения, что позволяет уменьшить количество водовыпусков на га. Основными недостатками дождевателей является то, что дождеватель увлажняет не только почву над корневой зоной, но и в междурядьях. С учетом этого разработан комбинированный дождеватель (заявка на изобретение № 2006136439/12 от 17.10.06), включающий стойку, подводящий шланг, корпус с подвижной головкой с совмещаемыми щелевыми прорезями и снабженный мелкодисперсным распылителем (рисунки 21,22).
Рисунок 21. Комбинированный дождеватель
1-дождеватель; 2- корпус; 3-подвижная головка; 4- щелевая прорезь; 5- прорезь в корпусе 2. 6, 7- винтовая резьба; 8- эластичное уплотнительное кольцо; 9- патрубок; 10- стойка; 11- подводящий шланг, 12- мелкодисперсный распылитель; 13- водовыпускное отверстие; 14 – выступы под специальный ключ.
Рисунок 22. Комбинированный дождеватель при поливе молодого виноградника в режиме струйного дождевания
На наружной поверхности корпуса и внутренней поверхности подвижной головки выполнена винтовая резьба с шагом равным двойной ширине щелевой прорези в подвижной головке, при этом мелкодисперсный распылитель установлен на головке диаметрально щелевой прорези в головке и выше её на половину шага резьбы, а его водовыпускное отверстие направлено вертикально вверх.
Стационарная система мелкодисперсного дождевания состоит из тех же элементов, что и микродождевания, за исключением конструкции водовыпусков, которые выполняются в виде мелкодисперсных распылителей воды, установленных на высоких стойках над поверхностью растительной массы или внутри кроны деревьев. Спектр диаметра капель воды, оседающих на листовом покрове, находится в пределах от 100 до 800 мкм. Средний объемно-поверхностный диаметр капель - 300...500 мкм.
Поливная норма при проведении мелкодисперсного дождевания изменяется в пределах от 400 до 1200 л/га. Системы управления мелкодисперсным дождеванием обеспечивают возможность регулирования межполивного интервала в пределах от 0,5 до 2 час. Улучшение параметров микро- и фитоклимата, а также экономия оросительной воды достигается при использовании стационарной дождевальной установки для мелкодисперсного увлажнения листовой поверхности садовых культур (а.с. №1667740). Дождевальная установка позволяет уменьшить ожоги листовой поверхности и более экономно расходовать оросительную воду за счет увлажнения только ограниченного объема воздуха. Дождевальная установка мелкодисперсного дождевания состоит из подводящего трубопровода, мачты с основанием и установленными на мачте кольцевыми трубопроводами с распылителями. Распылители для дождевальной установки могут быть выполнены в виде щелевой насадки (пат. №2069106) с основными и дополнительными щелями, за счет которых увлажняется весь объем воздуха внутри кроны дерева.
Комплект системы синхронного импульсного дождевания рассчитан на орошение 10 га и включает в себя водозаборное сооружение, насосную станцию, узел приготовления удобрений, систему автоматизации управления поливом, ветрозащитные полосы, дороги, оросительную сеть и импульсные дождеватели. Оросительная сеть состоит из магистрального трубопровода, распределительной сети и поливных трубопроводов с дождевателями. Для повышения равномерности распределения воды по орошаемой площади и увеличения КПД дождевального аппарата предложен импульсный дождевальный аппарат гидротаранного типа (пат. №2155474).
Глава 6. Оценка экономической эффективности малообъемного орошения
Оценка экономической эффективности орошения с применением систем капельного орошения проведена на примере возделывания огурцов (по данным Волгоградского комплексного отдела ГНУ ВНИИГиМ). Используемая методика оценки эффективности инвестиционных проектов основана на разработках отечественных специалистов и на методологии оценки эффективности инвестиционных проектов UNIDO, широко применяемой в мировой практике. Рекомендации по оценке эффективности инвестиционных проектов опираются на принципы, сложившиеся в мировой практике:
- необходимость моделирования потоков продукции, ресурсов и денежных средств;
- учет результатов анализа рынка, финансового состояния;
- определение эффекта путем сопоставления предстоящих инвестиций и будущих денежных поступлений при соблюдении требуемой нормы доходности на капитал;
- приведение предстоящих разновременных расходов и доходов к условиям их соизмеримости по экономической ценности в начальном периоде;
- учет инфляции, задержек платежей и других факторов, влияющих на ценность
используемых денежных средств;
- учет неопределенности и рисков, связанных с осуществлением проекта.
Основная задача при оценке инвестиционного проекта сводится к описанию денежного потока, который следует ожидать при его осуществлении. Для сопоставления разновременных поступлений и платежей при инвестиционных расчетах используют метод дисконтирования. Дисконтирование – приведение будущих поступлений платежей к текущей стоимости (на момент принятия решения).
Как показали расчеты, инвестиции в установку системы капельного орошения являются эффективными по всем показателям, характеризующим эффективность инвестиционных проектов. Однако значения показателей значительно варьирует в зависимости от сочетания факторов водного режима почвы и уровня минерального питания. Наибольший размер чистого дисконтированного дохода обеспечивается при внесении дозы минерального удобрения N130P50K20 и поддержании предполивного порога влажности на уровне 90% НВ. Индекс доходности инвестиций составляет 2,27 при сроке окупаемости не более 2 лет.
Прибавка чистого дохода от изменения водного режима почвы от 70 до 90% НВ при той же дозе внесения минеральных удобрений составляет от 12 до 106 тыс. руб. за счет повышения урожайности с 34 до 66 т/га.
Оценка эффективности орошения синхронным импульсным дождеванием люцерны в Республике Таджикистан (на примере Колхозобадского животноводческого комплекса). Стоимость продукции производимой хозяйством определена по закупочным ценам мяса, произведенного с использованием кормов, выращенных при орошении синхронным импульсным дождеванием. В стоимость продукции включены издержки хозяйства, связанные с получением дополнительной продукции животноводства. Пересчет цен по отношению к ценам 1984 года проведен по нормативному коэффициенту равному 109.
Накопленный отток составляет 162тыс. руб/га, в том числе 123тыс. руб/га капитальные вложения. Чистый доход (сальдо денежного потока) 95тыс. руб/га, а прибавка чистого дохода 90тыс. руб/га.
Орошение кормовых культур на склоновых землях с помощью комплекта импульсного дождевания КСИД-10 позволяет получить высокую экономическую эффективность при расчете ее по конечной продукции животноводческих хозяйств мясного направления.
Выводы
1. Малообъемные способы орошения имеют большое значение для развития орошения в стране и наиболее эффективны при поливах различных сельскохозяйственных культур на землях, где другие способы орошения практически неприменимы (склоновые земли, недостаточное обеспечение водными ресурсами, близкое залегание грунтовых вод). Общими признаками этих способов являются проведение частых поливов, близких по объемам к суммарному расходу воды полем, поддержание влажности в корнеобитаемом слое почвы в заданных пределах в течение всего вегетационного периода, значительное снижение непроизводительных затрат воды на испарение, глубинный и поверхностный сброс. Построение оросительных систем на модульном принципе позволяет решать проблемы, связанные с рельефными, гидрологическими и микроклиматическими особенностями агроландшафтов.
2. Полученные теоретические закономерности формирования контуров увлажнения при капельном орошении и микродождевании на землях с различными уклонами местности подтверждены экспериментальными данными. Теоретические исследования по определению испарения при малообъемных способах орошения позволили получить зависимости для расчета водного баланса зоны аэрации. На основе проведенных иследований определены основные параметры систем малообъемного орошения: расход водовыпусков (при капельном орошении 4-20 л/час, при микродождевании, внутрипочвенном орошении и мелкодисперсном дождевании – 15-50 л/час, при импульсном дождевании – 700-800 л/час), количество водовыпусков (60-2000 шт/га в зависимости от способа орошения), среднеклиматический гидромодуль системы - 0,8 л/с·га.
3. Разработана технология создания модульных систем малообъемного орошения, включающая анализ исходных данных по природным условиям, расчет элементов технологии поливов, выбор системы малообъемного орошения. Разработанная технология включает требования к конструкциям систем и режиму орошения в зависимости от орошаемой культуры, геоморфологических условий местности, воднофизических свойств почвы, режима орошения с учетом природно-хозяйственных условий и особенностей техники полива.
















