Цифровые сети с интегрированным сервисом (1131250), страница 2
Текст из файла (страница 2)
Формат Е.163 предусматривает до 12 десятичных цифр в номере, а формат адреса ISDN в стандарте Е.164 расширен до 55 десятичных цифр. В сетях ISDN различают номер абонента и адрес абонента. Номер абонента соответствует точке Т подключения всего пользовательского оборудования к сети. Например, вся офисная АТС может идентифицироваться одним номером ISDN. Номер ISDN состоит из 15 десятичных цифр и делится, как и телефонный номер по стандарту Е.163, на поле «Код страны» (от 1 до 3 цифр), поле «Код города» и поле «Номер абонента». Адрес ISDN включает номер плюс до 40 цифр подадреса. Подадрес используется для нумерации терминальных устройств за пользовательским интерфейсом, то есть подключенных к точке S. Например, если на предприятии имеется офисная АТС, то ей можно присвоит один номер, например 7-095-640-20-00, а для вызова абонента, имеющего подадрес 134, внешний абонент должен набрать номер 7-095-640-20-00-134.
При вызове абонентов из сети, не относящейся к ISDN, их адрес может непосредственно заменять адрес ISDN. Например, адрес абонента сети Х.25, в которой используется система адресации по стандарту X.I 21, может быть помещен целиком в поле адреса ISDN, но для указания, что это адрес стандарта Х.121, ему должно предшествовать поле префикса, в которое помещается код стандарта адресации, в данном случае стандарта Х.121. Коммутаторы сети ISDN могут обработать этот адрес корректно и установить связь с нужным абонентом сети Х.25 через сеть ISDN либо, коммутируя канал типа В с коммутатором Х.25, либо передавая данные по каналу типа D в режиме коммутации пакетов. Правила формирования префикса определяет стандарт ISO 7498. Стандарт ISO 7498 определяет достаточно сложный формат адреса и мы tuj здесь рассматривать не будет.
Еще одним способом вызова абонентов из других сетей является указание в адресе ISDN двух адресов: адреса ISDN пограничного устройства, например, соединяющего сеть ISDN с сетью Х.25, и адреса узла в сети Х.25. Адреса должны разделяться специальным разделителем. Два адреса используются за два этапа - сначала сеть ISDN устанавливает соединение типа коммутируемого канала с пограничным устройством, присоединенным к сети ISDN, а затем передает ему вторую часть адреса, чтобы это устройство осуществило соединение с требуемым абонентом.
1.1.1.5.Стек протоколов в СПД ISDN
В СПД ISDN есть два стека протоколов: стек каналов типа D и стек каналов типа В.
Рис. 6.19.Структура сети ISDN
Каналы типа D образуют достаточно традиционную сеть с коммутацией пакетов. Прообразом этой сети послужила технология сетей Х.25. Для сети каналов D определены три уровня протоколов: физический протокол определяется стандартом 1.430/431, канальный протокол LAP-D определяется стандартом Q.921, а на пакетном уровне может использоваться протокол Q.931, с помощью которого выполняется коммутация вызова абонента службы с коммутацией каналов, или же протокол Х.25 - в этом случае в кадры протокола LAP-D вкладываются пакеты Х.25 и коммутаторы ISDN выполняют роль коммутаторов Х.25.
Для целей мониторинга и управления СПД ISDN сеть каналов типа D использует, так называемую, систему сигнализации номер 7 (Signal System Number 7, SS7). Система SS7 была разработана для целей внутреннего мониторинга и управления коммутаторами телефонной сети общего назначения. Эту системы мы здесь рассматривать не будем. Отметим лишь, что конечному пользователю услуги служба SS7недоступны, так как сообщениями SS7 коммутаторы сети обмениваются только между собой.
Каналы типа В образуют сеть с коммутацией цифровых каналов. В терминах модели OSI на каналах типа В в коммутаторах сети ISDN определен только протокол физического уровня - протокол 1.430/431. Коммутация каналов типа В происходит по указаниям, полученным по каналу D. Когда пакеты протокола Q.931 маршрутизируются коммутатором, то при этом происходит одновременная коммутация очередной части составного канала от исходного абонента к конечному.
Протокол LAP-D является аналогом протокола LAP-B в СПД Х.25 и принадлежит семейству HDLC и обладает всеми родовыми чертами этого семейства, но отличается некоторыми особенностями. Адрес кадра LAP-D состоит из двух байт - один байт определяет код службы, которой пересылаются вложенные в кадр пакеты, а второй используется для адресации одного из терминалов, если у пользователя к абонентской линии NT1 подключено несколько терминалов. Терминальное устройство может поддерживать разные службы - службу установления соединения по протоколу Q.931, службу коммутации пакетов Х.25, службу мониторинга сети и т. п. Протокол LAP-D обеспечивает два режима работы: с установлением соединения (единственный режим работы протокола LLC2) и без установления соединения (режим LLC1 стандарта IEEE 802.1). Последний режим используется, например, для управления и мониторинга сети.
Использование служб ISDN в корпоративных сетях
Несмотря на большие отличия от аналоговых телефонных сетей, сети ISDN сегодня используются в основном так же, как аналоговые телефонные сети, то есть как сети с коммутацией каналов, но только более скоростные: интерфейс BRI дает возможность установить дуплексный режим обмена со скоростью 128 Кбит/с (логическое объединение двух каналов типа В), а интерфейс PRI - 2,048 Мбит/с. Кроме того, качество цифровых каналов гораздо выше, чем аналоговых, а это значит, что процент искаженных кадров будет гораздо ниже и полезная скорость обмена данными существенно выше.
Обычно интерфейс BRI используется в коммуникационном оборудовании для подключения отдельных компьютеров или небольших локальных сетей, а интерфейс PRI - в маршрутизаторах, рассчитанных на сети средних размеров.
Что же касается объединения компьютерных сетей для поддержки службы с коммутацией пакетов, то здесь сети ISDN предоставляют не очень большие возможности.
На каналах типа В режим коммутации пакетов поддерживается следующим образом - либо с помощью постоянного соединения с коммутатором сети Х.25, либо с помощью коммутируемого соединения с этим же коммутатором. То есть каналы типа В в сетях ISDN являются только транзитными для доступа к «настоящей» сети Х.25. Собственно, это сводится к первому случаю использования сети ISDN - только как сети с коммутацией каналов.
Развитие технологии трансляции кадров на каналах типа В - технологии frame relay - привело к тому, что сети frame relay стали самостоятельным видом сетей со своей инфраструктурой каналов и коммутаторов. Поэтому эта технология рассматривается ниже в разделе, посвященном сетям с коммутацией пакетов.
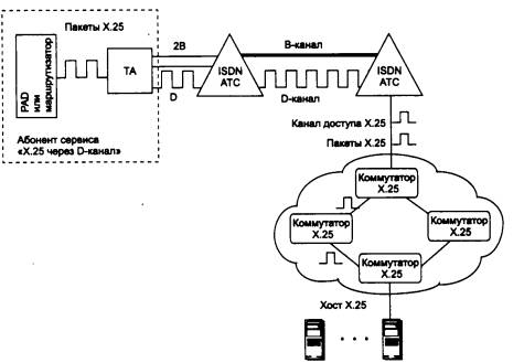
Остается служба коммутации пакетов, доступная по каналу D. Так как после передачи адресной информации канал D остается свободным, по нему можно реализовать передачу компьютерных пакетов Х.25, поскольку протокол LAP-D позволяет это делать. Чаще всего сеть ISDN используется не как замена сети Х.25, а как разветвленная сеть доступа к менее географически распространенной и узкоспециализированной сети Х.25 (рис. 6.20). Такая услуга обычно называется «доступ к сети Х.25 через канал типа D». Скорость доступа к сети Х.25 по каналу типа D обычно не превышает 9600 бит/с.
Рис. 6.20.Доступ к сети Х.25 через канал типа D сети ISDN
Сети ISDN не рассматриваются разработчиками корпоративных сетей как хорошее средство для создания магистрали сети. Основная причина - отсутствие скоростной службы коммутации пакетов и невысокие скорости каналов, предоставляемых конечным пользователям. Для целей же подключения мобильных и домашних пользователей, небольших филиалов и образования резервных каналов связи сети ISDN сейчас используются очень широко, естественно там, где они существуют. Производители коммуникационного оборудования выпускают широкий спектр продуктов для подключения локальных сетей к ISDN - терминальных адаптеров, удаленных мостов и офисных маршрутизаторов невысокой стоимости.
9















