Автореферат (1095020), страница 2
Текст из файла (страница 2)
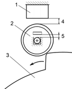
а б
Рис. 3. Модель колебаний накатного валика
а – с учетом взаимодействия с растиром; б – с учётом эквивалентной жесткости
Жесткость взаимодействия валика с растиром выразим как
Действие растира учтем, увеличив соответствующим образом жесткость стержня валика, приняв приведенную жесткость валика c1 = c0+c3.
Спроектировав силы на линию, проходящую через центры формного цилиндра и валика, согласно второму закону Ньютона получим:
где m – масса накатного валика; c1 – приведенная жесткость стального сердечника и упругого слоя под действием растира, c2 – приведенная жесткость упругого слоя в контакте с формным цилиндром, bф, bр – коэффициенты демпфирования относительных колебаний валика при контакте с формным цилиндром и растиром; х – отклонение валика от положения покоя.
Коэффициенты c2 и bф, при прохождении выемки принимают нулевое значение.
Параметры стального сердечника валика
Жесткость эквивалентной пружины, учитывающая наличие цапф:
где b – длина рабочей части валика;
Jx – осевой момент инерции площади сечения валика;
J – осевой момент инерции площади сечения цапфы;
E – модуль упругости материала стержня,
– отношение осевых моментов инерции площадей сечения валика и цапф;
– отношение длины валика к длине цапфы.
Для валика с кольцевым сечением стержня осевой момент инерции
где
– отношение внутреннего диаметра кольцевого сечения сердечника к внешнему.
Осевой момент инерции для цапф:
r – диаметр цапф.
Парметры упругого слоя валика
Жесткость упругого слоя валика определяется как отношение усилия его прижима к величине возникающей при этом деформации:
В этом выражении наибольшую трудность представляет определение величины модуля упругости резины Eрез. Для оценки модуля упругости резины используется эмпирическая связью между этим модулем и твердостью, полученной Г.М. Бартеньевым:
, где
– статический модуль, его размерность в формуле Г.М. Бартеньева [кг/см2];
H – твердость по Шору.
Характер нагрузок при прохождении выемки
Нагрузка при взаимодействии валика и формного цилиндра может рассматриваться как меняющаяся мгновенно (рис. 4а) только при большой скорости работы машины. Более близким к реальности является предположение о линейном законе нарастания усилия за время τ (рис. 4б), равном отношению ширины зоны контакта к окружной скорости формного цилиндра. Дальнейшее приближение к фактическому характеру нагружения может быть получено при учете характера нарастания нагрузки про вхождении края выемки в зону контакта формного цилиндра и накатного валика (рис. 4в).
Углы поворота формного цилиндра, соответствующие фазам взаимодействия накатного валика и формы, обозначим следующим образом: φg – угол, соответствующий половине выемки; φm – угол, соответствующий половине ширины зоны контакта; φ1 – угол, соответствующий нарастанию усилия; φ2 – угол, соответствующий началу процесса прохождения накатным валиком поверхности формы; φ3 – угол, соответствующий окончанию прохождения валиком поверхности формы; φ4 – угол, соответствующий убыванию усилия натиска.
Край выемки войдет в контакт с валиком, когда формный цилиндр повернется на угол
, возрастание усилия взаимодействия формного цилиндра и валика будет продолжаться, пока формный цилиндр не повернется на угол
, как показано на рис. 4в.
а б в
Рис. 4. Изменение усилия прижима валика к формному цилиндру по углу поворота цилиндра
Спад усилия начнется, когда край выемки подойдет к зоне контакта, т. е. при угле
и соответственно
.
Общее усилие Q взаимодействия между накатным валиком и формным цилиндром (усилие прижима) пропорционально линейному усилию
Усилие прижима может быть выражено как
.
Влияние скорости на отклонение валика
Наибольшее отклонение можно охарактеризовать коэффициентом динамичности:
,
где τ – длительность прохождения выемки через зону контакта, она зависит от длины выемки l и скорости печати Vp:
;
τ1 – время спада усилия натиска при прохождении края выемки через зону контакта. Это время можно определить из выражения
, где b – ширина зоны контакта, Vp – скорость печати;
k – частота собственных колебаний валика.
Рис. 5. Изменение коэффициента динамичности с изменением скорости при прохождении накатным валиком с собственной частотой 140Гц цилиндра диаметром 250 мм и длинной выемки 10 мм, шириной зоны контакта 5мм
Как видно из графика (рис. 5) в наиболее неблагоприятном случае максимальное значение коэффициента KD (если пренебречь затуханием) достигает 3. С увеличением скорости при малой длине выемки этот коэффициент стремится к 1, т. е. колебания исчезают, так как валик не успевает «провалиться» на участке выемки. При разгоне машины или при работе на промежуточных скоростях возможны зоны с повышенной амплитудой колебаний. Поэтому расчеты жесткости валика надо вести исходя из неблагоприятного сочетания его жесткостных параметров и скорости работы.
Упрощенный расчет отклонения валика при прохождении выемки
Смещения валика в момент взаимодействия его с краем технологической выемки можно описать уравнением свободно затухающих гармонических колебаний:
, где
A – амплитуда колебаний, равная начальному отклонению x0;
m – масса валика;
δ – коэффициент затухания колебаний.
Приведенный характер колебаний (рис. 6) соответствует режиму работы, при котором колебания валика успевают затухнуть за время прохождения выемки.
Рис. 6. Расчетный график колебания валика
Представленная динамическая модель позволяет оценить величину отклонений накатного валика по его основным конструктивным параметрам.
Численный расчет отклонения валика при прохождении поверхности формного цилиндра
Численные методы решения исходного дифференциального уравнения колебаний валика позволяют учесть нюансы изменения нагрузки. Решение дифференциального уравнения проводилось средствами программы Mathcad с использованием метода Бюлирша-Штоера (рис. 7).
Рис. 7. Колебания валика при взаимодействии с формным цилиндром
Влияние конструктивных параметров на отклонение накатного валика от стационарного уровня
Численные эксперименты на модели позволяют выявить связь отклонения накатного валика от стационарного уровня, толщины стенок стального сердечника валика и скорости работы печатной машины (рис. 8).
Рис. 8. Отклонения накатного валика от стационарного положения в зависимости от скорости работы машины и толщины стенок сердечника накатного валика
Также была оценена степень влияния прижима накатного валика к поверхности формы на отклонение валика от стационарного режима (рис. 9).
Рис. 9. Влияние прижима накатного валика к форме на отклонения накатного валика от стационарного положения
Модель позволила также оценить влияние конструктивных параметров цапф накатного валика на величину его максимального отклонения. Увеличение диаметра цапф накатного валика и уменьшение их длины приводит к несущественному увеличению суммарной жесткости стального сердечника накатного валика.
В четвертой главе
описываются эксперименты по определению коэффициента затухания валика и измерению отклонения валика в ходе работы печатной машины для сравнения экспериментальных результатов с расчетными, также оценивается влияние скорости работы машины и зазоров в опорах на амплитуду колебаний валика.
Запись проводилась на машине Romayor 312, с использованием оптического способа измерения с помощью лазерного датчика (рис. 10).
а б
Рис. 10 Установка оптического датчика в печатной машине Romayor 312;
а– схема; б – внешний вид
Колебания валика в ходе прохождения выемки на формном цилиндре и определение коэффициента затухания
Эксперимент показал, что численная модель прохождения накатным валиком поверхности формы в целом отражает фактическое поведение валика (рис. 11).
Рис 11. Смещения накатного валика при взаимодействии с формнным цилиндром; 1 – экспериментальный график, полученный на машине Romayor 312; 2 – теоретический график
Сопоставление колебаний валика, вызванных ударом о край технологической выемки с расчетным поведением валика (рис. 12), показывает, что результаты расчетов незначительно отличаются от данных эксперимента по величине амплитуды скачка и по периоду колебаний.
Рис. 12. Теоретический и экспериментальный графики смещений валика
Логарифмический декремент затухания d вычислялся по данным осциллограммы (рис. 13) смещений валика, по которой определялись период собственных колебаний T и амплитуды двух последовательных колебаний xmax1 и xmax2:
Коэффициент затухания при этом равен:
Было получено, что d=1,34, а коэффициент затухания для валика машины Romayor:
1/с.
Влияние скорости работы машины на величину отклонения накатного валика
Сопоставление записи колебаний накатного валика при различных скоростях работы печатной машины с результатами численных экспериментов (рис. 13) показывает, что расхождение теоретического и экспериментальных зависимостей не превышает 50%.
















