Булатов М.А. - Комплексная переработка многокомпонентных жидких систем (1093843)
Текст из файла
Министерство общего и профессионального образования Российской Федерации
МОСКОВСКАЯ ГОСУДАРСТВЕННАЯ АКАДЕМИЯ ХИМИЧЕСКОГО МАШИНОСТРОЕНИЯ
М.А. Булатов
КОМПЛЕКСНАЯ ПЕРЕРАБОТКА МНОГОКОМПОНЕНТНЫХ ЖИДКИХ СИСТЕМ
Ресурсосберегающие и малоотходные технологии, экологически чистая продукция
Москва - 1997
3.3. Совершенствование аппаратурно-технологического оформления процесса нейтрализации сточных вод
Процессы нейтрализации с использованием химических реагентов обладают в кинетическом отношении целым рядом особенностей, которые необходимо учитывать при очистке сточных вод. Эффективность процесса зависит при прочих равных условиях от интенсивности турбулентности в ядре потока, с увеличением которой возрастает вероятность дробления образующихся агрегатов. Существующие методы смешения не учитывают этих особеностей, что приводит к потере устойчивости образующихся коллоидных структур, разрушению их каркаса и, как следствие, к малоэффективному их осаждению в отстойниках.
В МГАХМе разработана новая конструкция реактора-смесителя, отличающаяся тем, что перемешивание реагентов проводится во встречных закрученных потоках, что обеспечивает необходимую степень перемешивания к снижение энергетических и материальных затрат (рис. 3.1). Преимуществом разработанного оборудования по сравнению с существующим является отсутствие движущихся перемешивающих устройств. Специальная конструкция статического рассекателя позволяет обеспечить гидродинамический режим в аппарате, благоприятствующий процессу флокулообразования.
Физико-химические особенности процесса
Как следует ив табл. 3.1 реагентный метод позволяет проводить очистку сточных вод от растворимых примесей.
Фторсодержащие сточные воды нейтрализуют обычно суспензией мела. При этом возможно протекание следующих реакций:
Na2SiF6 + СаСО3 = CaSiF6 + Na2CO3 ( 3.1 )
CaSiF6 + 2СаСО3 = 3CaF2 + SiO2 + 2CO2 ( 3.2 )
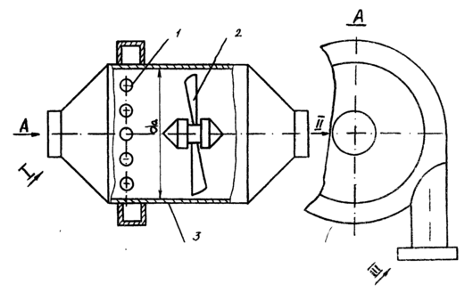
Рис. 3.1. Схема статического реактора-смесителя
1 - распределительное устройство для ввода реагентов;
2 - перераспределитель потока; 3 - корпус.
Линии: I - ввода раствора; II - вывода раствора;
III - ввода осадительного реагента
Таблица 3.1
Методы очистки сточных вод
| Физико-химические свойства загряэняющего вещества | Размер частиц загрязняющего вещества, м | ||||||||||||||||
| Твердые нерастворимые примеси | Коллоидные частицы | Вирусы | Ионы, молекулы | ||||||||||||||
| 10-3 | 10-4 | 10-5 | 10- 6 | 10-7 | 10-8 | 10-9 | 10-10 | ||||||||||
| Размер частиц | тканевый фильтр, решетки-сита | Микрофильтр | |||||||||||||||
| ультрафильтрация | обратный осмос | ||||||||||||||||
| коагуляция флокуляция | |||||||||||||||||
| седиментация | |||||||||||||||||
| Плотность | центрифугирование | ||||||||||||||||
| ультрацентрифугирование | |||||||||||||||||
| Диффузия Ионный заряд | диализ | ||||||||||||||||
| электродиализ | |||||||||||||||||
| ионообмен | |||||||||||||||||
| Растворимост | экстракция | ||||||||||||||||
| реагентная очистка | |||||||||||||||||
| Поверхностные свойства | флотация | сорбция | |||||||||||||||
| Температура кипения | дистилляция, концентрирование | ||||||||||||||||
2HF + СаСО3 = CaF2 + CO2 + Н2О (3.3 )
Для увеличения эффективности очистки целесообразно вводить в сточную воду более растворимые соединения кальция, например гидроксид кальция Процесс нейтрализации будет протекать по реакции
H2SiF6 + ЗСа(ОН)2 = 3СF2 + SiO2 + 4Н2О (3.4)
При этом возможно протекание и других реакций.
Na2SiF6+ Ca(OH)2 = CaSiF6 + 2NaOH ( 3.5 )
NaSiF6 + 3Са(ОН)2 = 3СaF2 + SiO2 + 2H2O + 2NaOH ( 3.6 )
CaSiF6 + 2Ca(OH)2 = 3CaF2 + SiO2 + 2H2O ( 3.7 )
2HF + Ca(OH)2 = CaF2 + 2H2O ( 3.8 )
Приведенные обменные реакции протекают практически мгновенно. При этом образуются растворы электролитов, пересыщенные по соединениям кальция. В пересыщенных растворах начинается процесс кристаллизации - образование и рост кристаллов солей кальция (например, CaF2). По мере увеличения размера кристаллического продукта происходит его осаждение. Экспериментально показано, что определяющим процессом в присутствии затравочных кристаллов является их рост. Рост кристаллов - типичный гетерогенный процесс в системе жидкость - твердое.
Рассмотрим единичную шарообразную частицу твердой примеси, находящуюся в потоке реакционной смеси (рис. 3.2а).
Основные стадии процесса роста кристаллов:
1) Внешняя диффузия.
Перенос вещества из ядра потока к поверхности через пограничный слой осуществляется как за счет молекулярной диффузии, так и конвективного переноса- Суммарный перенос вещества за счет молекулярной диффузии и конвективного переноса называют конвективной диффузией. Обычно в инженерных расчетах для определения скорости 84
Рис. 3.2. Схема распределения концентраций мадорастворимого компонента в системе "кристалл-раствор":
а -для одиночной частицы; б -по длине реакционной зоны аппарата,
δD - толщина диффузионного слоя; R - радиус кристалла; U - линейная скорость потока; Сv, Cs, Се -концентрация кристаллизующегося (малорастворимого) компонента в объеме раствора, на наружной поверхности кристаллической частицы и равновесная концентрация соответственно. I - зона смешения; II - реакционная зона L - длина реакционной зоны для достижения заданной степени очистки n = (Со - Cf)/Со конвективной диффузии используют уравнение
( 3.9 )
где S - поверхность раздела фаз, м2; β = Dml/á - коэффициент массоотдачи, м/с; δ - толщина пограничного слоя, в котором турбулентные пульсации затухают и происходит смена механизма переноса от конвективного к молекулярному, м.
2) Поверхностная реакция.
Скорость процесса на этой стадии описывается кинетическим уравнением
Wr = kг(Cs - Се)nρк , ( 3.10 )
где kг = kr,o exp [-E/RT] - константа скорости поверхностной реакции, м/с; Е - энергия активации, Дж/моль; ρк - плотность кристаллизующегося вещества, кг/м3; n - порядок реакции.
При кристаллизации фторида кальция внешняя диффузия практически не оказывает сопротивления процессу (отсутствует диффузионное торможение) и скорость гетерогенного процесса определяется кинетикой поверхностных реакций (уравнения (3.1)-(3.8)).
В МГАХМе проведены исследования по изучению влияния интенсивной турбулентности в ядре потока на дробление образующихся в процессе нейтрализации твердых частиц. При создании замкнутой системы дифференциальных уравнений осредненного движения потока в реакторе использованы экспериментальные данные о статистических связях между пульсациями скоростей в турбулентном потоке. Составлен тензор касательных напряжений и проведена оценка условий осуществления процесса агрегаций и фдокудообразования. Получены соотношения для определения времени Тc срастания частиц, увлекаемых турбулентными пульсациями, и времени Тк их контактирования, а также найдены значения граничных величин для размера растущего агрегата и интенсивности турбулизации потока, при условии Тс>Тк.
Математическое описание процесса кристаллизации в реакторе-смесителе
Вводимые в очищаемый водный раствор одинакового размера затравочные кристаллы равномерно распределены в поперечном сечении реактора (т.е. градиент концентрации дисперсной фазы в поперечном сечении отсутствует) (рис. 3.26). Изменением температуры и размера кристаллов по длине реакционной зоны пренебрегаем.
Таким образом, поставленная задача одномерна и средняя в сечении концентрация растворенных примесей зависит только от координаты вдоль оси z, С - C(Z).
При составлении математического описания используют двухуровневую модель;
1) уровень одиночной шарообразной кристаллизующейся частицы, находящейся в ядре потока;
2) уровень рабочей зоны аппарата.
Одиночная шарообразная частица.
Рассмотрим основное уравнение материального баланса, составленное в дифференциальной форме для элементарного объема:
- Ugrad С + D▼2 = Wr + δC/δt . ( 3.11 )
Вблизи твердой поверхности в пределах гидродинамического пограничного слоя продольная скорость потока убывает до нуля на стенке, а поперечный конвективный перенос отсутствует. Уравнение диффузии для центрально-симметричного профиля концентрации компонента в сферических координатах имеет вид
Dml(d2C/dr2 + 2/r dC/dr) = 0 ( 3.12 )
Граничные условия: r =∞ C = C(z) ( 3.13 )
r = R Dml[dC/dr – kг(C - Ce)]= 0 ( 3.14 )
Решение этого дифференциального уравнения позволяет подучить распределение локальной концентрации С(r) вблизи одиночной твердой частицы. Соотношение (3.13) представляет собой условие на удалении от частицы, находящейся в сечении 2, а соотношение (3.14) - диффузионно-кинетическое условие на поверхности кристаллической частицы.
Решение задачи (3.12)-(3.14) имеет вид:
( 3.15 )
Массовая скорость кристаллизации вещества на одиночной частице
( 3.16 )
где Д - критерий Дамкеллера, характеризующий относительную интенсивность кинетических и внешнедиффузионных процессов.
Рабочая зона аппарата.
Распределение средней C(z) концентрации растворенного кристаллизующегося компонента по длине аппарата может быть подучено из решения задачи конвективной диффузии с учетом кристаллизации вещества на затравочных кристаллах с удельной поверхностью кристаллизации f [м2/м3]
(3.17 )
где Uz - линейная скорость; Dэ - коэффициент продольного перемешивания кристаллизующегося вещества в аппарате; J(z) - Wr(z)f - распределенная функция стока кристаллизующегося вещества в единице реакционного объема аппарата.
Как при теоретическом, так и экспериментальном изучении процессов внешнего массообмена поверхности твердого тела с потоком вязкой жидкости удобным является переход в уравнении (3.17) от размерных к комплексным безразмерным переменным и параметрам. Такой переход может быть осуществлен при помощи введения характерного размера системы L - протяженности канала. В качестве масштаба концентрации выбираем Со. Перейдя к безразмерным концентрации θ = С/Со и координате Z = z/L, уравнение (3.17) с учетом граничных условий 88
Характеристики
Тип файла документ
Документы такого типа открываются такими программами, как Microsoft Office Word на компьютерах Windows, Apple Pages на компьютерах Mac, Open Office - бесплатная альтернатива на различных платформах, в том числе Linux. Наиболее простым и современным решением будут Google документы, так как открываются онлайн без скачивания прямо в браузере на любой платформе. Существуют российские качественные аналоги, например от Яндекса.
Будьте внимательны на мобильных устройствах, так как там используются упрощённый функционал даже в официальном приложении от Microsoft, поэтому для просмотра скачивайте PDF-версию. А если нужно редактировать файл, то используйте оригинальный файл.
Файлы такого типа обычно разбиты на страницы, а текст может быть форматированным (жирный, курсив, выбор шрифта, таблицы и т.п.), а также в него можно добавлять изображения. Формат идеально подходит для рефератов, докладов и РПЗ курсовых проектов, которые необходимо распечатать. Кстати перед печатью также сохраняйте файл в PDF, так как принтер может начудить со шрифтами.
















