Фильтры (1093834)
Текст из файла
С
хема устройства дисковых вакуум-фильтров
1 – диски с секторами; 2 – центральный ячейковый вал; 3 – мешалка вращающегося типа; 4 – мешалка качающегося типа; 5 – секционная ванна; 6 – общая ванна;
7 – шестерня привода; 8 – распределительная головка.
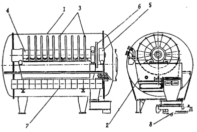
С
хема устройства ленточного вакуум-фильтра (без сходящего полотна)
1 – натяжной барабан; 2 – загрузочный лоток; 3 – вакуум-камера; 4 – лента;
5 – приводной барабан; 6 – нож для съема осадка; 7 – опорные ролики;
8 – фильтрующая перегородка.
С
хема устройства фильтр-прессов: а – плиточно-рамного; б – камерного
1 – фильтровальная плита; 1 – фильтровальная плита; 2,3 – фильтровальная
2 – рама; 3 – упорная плита; ткань;4,6 – каналы для отвода фильтрата;
4 – нажимная плита 5 – коллектор для подачи исходной суспензии
Схема устройства гипербар-фильтра
1 – сосуд под давлением; 2 – ванна фильтра; 3 – диски; 4 – ячейковый вал; 5 – распределительная головка; 6 – привод дисков; 7 – транспортер; 8 – разгрузочное устройство
С
хема устройства ленточного фильтр-пресса
1 – загрузочное устройство; 2 – натяжные ролики; 3,4 – фильтрующие ленты;
5 – устройство для промывки лент; 6 – нож для съема осадка
Характеристики
Тип файла документ
Документы такого типа открываются такими программами, как Microsoft Office Word на компьютерах Windows, Apple Pages на компьютерах Mac, Open Office - бесплатная альтернатива на различных платформах, в том числе Linux. Наиболее простым и современным решением будут Google документы, так как открываются онлайн без скачивания прямо в браузере на любой платформе. Существуют российские качественные аналоги, например от Яндекса.
Будьте внимательны на мобильных устройствах, так как там используются упрощённый функционал даже в официальном приложении от Microsoft, поэтому для просмотра скачивайте PDF-версию. А если нужно редактировать файл, то используйте оригинальный файл.
Файлы такого типа обычно разбиты на страницы, а текст может быть форматированным (жирный, курсив, выбор шрифта, таблицы и т.п.), а также в него можно добавлять изображения. Формат идеально подходит для рефератов, докладов и РПЗ курсовых проектов, которые необходимо распечатать. Кстати перед печатью также сохраняйте файл в PDF, так как принтер может начудить со шрифтами.
















