Проектирование привода конвейера с двухступенчатым редуктором (задание 7, вариант 3) (1093754)
Текст из файла
Московский Государственный Университет Инженерной Экологии
кафедра ОКО. Детали машин
Курсовой проект
Тема: Проектирование привода конвейера с двухступенчатым редуктором.
Студент Овчаров Е. В. Преподаватель
Факультет АИТ Егоров Ю. В.
Группа К-35
Задание 7
Вариант 3
Москва 2002 г.
Дано:
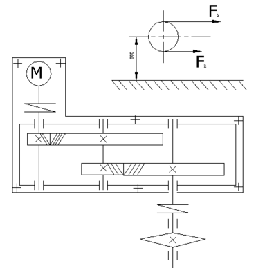
Звёздочка: шаг р=100 мм, число зубцов z=8;
скорость цепи: v = 0,8 м/с;
Максимальное рабочее усилие на звёздочке: Ft = 3,3 кН;
F1 – натяжение ведущей ветви ленты;
F2 – натяжение ведомой ветви ленты;
F2 = 0,25*F1
Ft = F1 * F2;
Высота оси звёздочки над полом цеха: b = 800 мм;
Типовой режим нагрузки N
kсут = 0,4;
kгод = 0,5;
Срок службы: tсл = 5 лет;
Режим работы – IV (лёгкий)
коэффициент динамичности нагрузки привода: k = 1,3
Тном = k*Тmax
Разработать:
1. Общий вид привода;
2. Редуктор;
3. Вал приводной;
4. Рабочие детали привода.
Оглавление Стр.
1. Введение………………………………………………………………………………………………………...4
2. Кинематический расчет привода и выбор электродвигателя……………….…4
3. Расчет валов…………………………………………………………………………………………….........6
3.1 Тихоходный вал………………………………………………………………………………………….6
3.1.1 Проектный расчет………………………………………………………………………………..…6
3.1.2 Проверочный расчет…………………………………………………………………………...….6
3.1.3 Расчет на жесткость……………………………………………………………………………...10
3.2 Быстроходный вал………………………………………………………………………………….....10
3.2.1 Проектный расчет…………………………………………………………………………….…..10
3.2.2 Проверочный расчет………………………………………………………………………….…10
3.3 Промежуточный вал………………………………………………………………………………….14
3.3.1 Проектный расчет………………………………………………………………………………...14
3.3.2 Проверочный расчет………………………………………………………………………….…14
4. Расчет подшипников…………………………………………………………………………………..18
4.1 На тихоходном валу………………………………………………………………………………...…18
4.2 На быстроходном валу…………………………………………………………………………….…19
4.3 На промежуточном валу…………………………………………………………………………….20
4.4 На приводном валу…………………………………………………………………………………….21
5. Выбор шпонок……………………………………………………………………………………………..22
5.1 На тихоходном валу……………………………………………………………………………….…..22
5.2 На хвостовике тихоходного вала……………………………………………………………….22
5.3 На хвостовике быстроходного вала………………………………………………………...…23
5.4 На промежуточном валу…………………………………………………………………………….23
5.5 На хвостовике приводного вала………………………………………………………………....23
5.6 На приводном валу…………………………………………………………………………………….23
6. Выбор муфт…………………………………………………………………………………..……………..24
7. Выбор тяговой звёздочки…………………………………………………………………………..26
8. Определение параметров корпуса редуктора…………………………………………..26
9. Выбор смазки редуктора……………………………………………………………………............27
10. Определение допусков форм и расположения поверхности (на примере вала)………………………………………………………………………………………………………………...…27
11. Расчет приводного вала…………………………………………………………………..………….28
11.1 Проектный расчет…………………………………………………………………………….……….28
11.2 Проверочный расчет…………………………………………………………………………………29
11.3 Расчет на жесткость…………………………………………………………………………………..31
12. Литература……………………………………………………………………………………………..........33
Приложение А…………………………………………………………………………………………………...34
Рисунок №1…………………………………………………………………………………………….………...34
Рисунок №2……………………………………………………………………………………………………....34
Рисунок №3………………………………………………………………………………………………………35
Рисунок №6……………………………………………………………………………………………………....35
Рисунок №4……………………………………………………………………………………………….……...36
Рисунок №5………………………………………………………………………………………………………36
Приложение Б – Текст программы расчёта редуктора…………………..…..………...37
1. Введение
Редуктор (от латинского reductor – отводящий назад, приводящий обратно), зубчатая (в том числе червячная) или гидравлическая передача, предназначенная для изменения угловых скоростей и вращающих моментов.
Цепные конвейеры перемещают подвешенные емкости, содержащие сыпучие и кусковые материалы или штучные однородные грузы непрерывным потоком на большие расстояния. Их широко применяют для механизации сборочных конвейеров заводов, для транспортировки изделий в технологических поточных линиях и т.д.
Тяговым органом цепного конвейера служит гибкая цепь.
2. Кинематический расчет привода и выбор электродвигателя
Определяем частоту вращения звёздочки
n зв = nвых. ред.
nвых = 6*104*v / π*D = 6*104*0,8 / 3,14* = 59,95 об/мин;
Определяем синхронную частоту вращения электродвигателя
По [11, стр. 6, табл. 1.2]
Uприв = 6,25 ÷ 25 (Uцил)
Uзв = 2,5 ÷ 5 (Uцил)
Uприв = (2,5 ÷ 5)*(2,5 ÷ 5) = (6,25 ÷ 25);
Uприв = nдв / nвых ;
nдв = Uприв*nвых = (6,25 ÷ 25)*59,95 = (374,7 ÷ 1499) об/мин;
Асинхронный двигатель выпускают со стандартной частотой вращения:
nдв. ас = (750, 1000, 1500, 3000) об/мин;
Принимаем nдв = 750 об/мин;
Определяем мощность электродвигателя и выбираем электродвигатель
По [1, стр. 4, табл. 1.1]
ηт = ηб = 0,97
ηмуфты = 0,98
ηподшип = 0,99
Определяем мощность на звездочке и её валу
Pзв = Ft*v / 1000 = 3,3*103*0,8 / 1000 = 2,64 кВт;
Определяем мощность на выходном валу
Pвых = Pз / ηподшип*ηмуфты = 2,64 / 0,99*0,98 = 2,72 кВт;
Определяем мощность на промежуточном валу
Pпромеж = Pвых / ηподшип*ηт = 2,72 / 0,99*0,97 = 2,83 кВт;
Определяем мощность на входном валу
Pвх = Pпромеж / ηподшип*ηб = 2,83 / 0,99*0,97 = 2,95 кВт;
Определяем мощность двигателя
Pпривода = Pдв = Pвх / ηмуфты = 2,95 / 0,98 = 3,01 кВт;
По [1, стр. 377, табл. 24.8] выбираем электродвигатель исполнения IM1081 4A112MB8/700: Pдв = 3 кВт(с учётом 10% перегрузки); nдв = 700 об/мин;
Разбивка передаточного числа привода по отдельным ступеням
По [1, стр. 7, табл. 1.3]
Uприв = nдв / nвых = 700 / 59,95 = 11,67
Uб = Uред / Uт
Uприв = Uт*Uб = Uред
Uред = Uприв = 11,67
Uт =
→ Uт = 3,15 (из первого ряда по [32, стр. 137])
Uб = 11,67 / 3,15= 3,7 → Uб = 3,55 (из второго ряда по [3, стр. 137])
Определяем частоты вращения валов редуктора
Вх → nвх = nдв = 700 об/мин;
Пр → nпр = nдв / Uб = 700 / 3,55 = 197,18 об/мин;
Вых → nвых = nпр / Uт = 197,18 / 3,15 = 62,6 об/мин;
Определяем крутящий момент на валах редуктора
Определяем суммарное время работы передачи
L = tсл*365*kгод*kсут*24 = 5*365*0,5*0,4*24 = 8760 часов;
3. Расчет валов
3.1 Тихоходный вал
3.1.1 Проектный расчет
Вычерчиваем с хвостовика.
dср =
мм; принимаем dср = 40,9 мм.
[τ]кр = 30 ÷ 35 МПа (для звёздочных редукторов); принимаем [τ]кр = 30 МПа;
По таблице [1, стр. 432, табл. 24.27] ГОСТ 12081 – 72
dср = 41,27 мм, принимаем dср = 40,9 мм;
d – номинальный диаметр, d = 45 мм;
d1 = M30 × 2;
l1 = 110 мм;
l2 = 82 мм;
По [1, стр. 159] имеем l0 = 0,15*d = 0,15*45 = 6,75 мм;
По таблице [1, стр. 160, табл. 10.1] ГОСТ 10549 – 80 Тип проточки I
Шаг резьбы – p = 3 мм.
b = 5 мм; r = 1,6 мм; r1 = 1 мм.
dп – диаметр под подшипник.
dп = d + (2 ÷ 4) = 50 мм;
По таблице [23, том 2, стр. 170]
dзп – диаметр заплечика под подшипник.
dзп = (60 ÷ 63) мм, принимаем dзп = 60 мм;
dk = dп + (2 ÷ 4) = 50 + 5 = 55 мм;
dk – диаметр вала под колесом.
dзк = dк + (6 ÷ 8) = 55 + 7 = 62 мм;
dв = dзп + (8 ÷ 10) = 60 + 10 = 70 мм;
3.1.2 Проверочный расчет
См. Рисунок №1 в приложении.
Исходные данные:
a =102
b = 55 мм;
c = 106 мм;
dw = 195 мм;
Tт.в. = Твых = ТТ = 421,8 Н*м;
FtT = 4326 H;
FaT = 768 H;
FrT = 1599 H;
Принимаем Сталь 45
По [2, том 1, стр. 114]
Сталь 45 (улучшение (закалка с высоким отпуском)) 192 … 285 HB
Для стали 45: σт = 450 МПа;
σв = 750 МПа;
Определяем величину изгибающего момента от сил, лежащих в вертикальной плоскости.
Для этого находим реакции в опорах.
∑МАВ = 0; RВВ*(a + b) - FrT*b + FaT*
= 0
∑MВВ = 0; - RАВ*(a + b) + FrT*a + FaT*
= 0
∑FВ = 0; RaT - FrТ + RВВ = 0 → 0 = 0
Строим эпюры изгибающего момента в вертикальной плоскости.
Участок 1:
0 ≤ z1 ≤ a
RвВ*z1 = 0;
z1 = 0; MВизг = 0;
z1 = a; RвВ*a = 83,2*0,102 = 8,5 Н*м;
Участок 2:
0 ≤ z2 ≤ b
RАВ* z2 = 0;
z2 = 0;
RAB*b = 1515,8 *0.055 = 83.37 Н*м.
z2 = b;
Определяем величину изгибающего момента от сил, лежащих в горизонтальной плоскости.
Для этого находим реакции в опорах.
∑МвГ = 0; RаГ*(a + b) – FtT*a - FmT*(a + b + c) = 0;
∑МАГ =0; RВГ*(a + b) + FtT*b - FmT*c = 0;
Строим эпюры изгибающего момента в горизонтальной плоскости.
Характеристики
Тип файла документ
Документы такого типа открываются такими программами, как Microsoft Office Word на компьютерах Windows, Apple Pages на компьютерах Mac, Open Office - бесплатная альтернатива на различных платформах, в том числе Linux. Наиболее простым и современным решением будут Google документы, так как открываются онлайн без скачивания прямо в браузере на любой платформе. Существуют российские качественные аналоги, например от Яндекса.
Будьте внимательны на мобильных устройствах, так как там используются упрощённый функционал даже в официальном приложении от Microsoft, поэтому для просмотра скачивайте PDF-версию. А если нужно редактировать файл, то используйте оригинальный файл.
Файлы такого типа обычно разбиты на страницы, а текст может быть форматированным (жирный, курсив, выбор шрифта, таблицы и т.п.), а также в него можно добавлять изображения. Формат идеально подходит для рефератов, докладов и РПЗ курсовых проектов, которые необходимо распечатать. Кстати перед печатью также сохраняйте файл в PDF, так как принтер может начудить со шрифтами.
















