Определение метрологических характеристик бесконтактного кондуктометрического концентратомера типа КНЧ-1М (1093435)
Текст из файла
Определение метрологических характеристик бесконтактного кондуктометрического концентратомера типа КНЧ-1М.
Расчет схемы термокомпенсации.
Цель лабораторной работы - определить основные метрологические характеристики (градировочную характеристику и основную допускаемую приведенную погрешность) бесконтактного низкочастотного кондуктометрического концентратомера типа КНЧ-1М и освоить методику расчета схемы термокомпенсации приборов такого типа.
I. Основные положения
Концентратомеры типа КНЧ-IM являются промышленными, автоматическими, стационарными приборами и предназначены для измерения концентрации поваренной соли, едкого натра, азотной и серной кислот в водном растворе, удельная электрическая проводимость (ЭП) которого имеет однозначную зависимость от концентрации и находится в пределах от I до 100 См/м.
Принцип действия прибора основан на индукционном методе измерения сопротивления жидкостного витка, который образуется при погружении чувствительного элемента датчика в анализируемый раствор. Измерение производится компенсационным методом.
Принципиальная электрическая схема прибора приведена на рис.1-3.
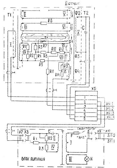
Электрическая схема датчика (рис.1) содержит два торроидалъных трансформатора: питающий TI и дифференциальный Т2, которые размещены в чувствительном элементе датчика.
Обмотка 1 трансформатора TI является питающей, обмотка Х-трансформатора Т2 - измерительной.
Цепь, состоящая из обмоток II и V, имитирует жидкостной виток и используется при испытаниях прибора.
Цепь, состоящая из обмоток III, VI и резистора R6, предназначена для подгонки кривизны температурной зависимости жидкостного витка (Rжв = f(t)) и вводится в схему при настройке основной температурной компенсации в случае, если температурный коэффициент анализируемого раствора намного меньше температурного коэффициента терморезистора R7.
Цепь, состоящая из обмоток VI, VII, VIII, XI резисторов RI,...R4, R8 ... R14, терморезистора R7 датчика, а также вторичной обмотке дифференциально-трансформаторной катушки с шунтирующими ее резисторами RI ... R4 регистрирующего прибора (см. рис.2), является цепью основной и температурной компенсации и предназначена для компенсация концентрационных и температурных изменений сопротивления жидкостного витка и используется при настройке прибора.
Назначение резисторов в указанных цепях:
1) R8, к R10 - служат для изменения кривизны температурной зависимости терморезистора;
2) R1, R2 - для грубой подгонки середины шкалы;
3) R9 - для точной подгонки середины шкалы;
4) R11, R12 - для установки начала и конца шкалы;
5) R13, R14 - для корректировки температурных изменений жидкостного витка при концентрациях, соответствующих концам шкалы прибора.
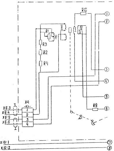
Рис.I. Принципиальная электрическая схема концентратомера (датчик и блок питания).
Рис.2 Принципиальная электрическая схема концентратомера (регистрирующий прибор)
Рис.3. Принципиальная электрическая схема концентратомера (регистрирующий прибор)
Цепь, состоящая из обмотки X, конденсатора С датчика (см. рис.1), конденсатора С7 регистрирующего прибора (рис.2), является цепью выходного напряжения датчика.
Конденсатор С служит для настройки контура, образованного емкостью С и обмоткой X, в режим близкий к резонансу, а также для согласования фазы напряжения разбаланса, поступающего с обмотки X на вход усилителя, с фазой напряжения сети, питающего регистрирующий прибор.
Электрическая схема блока питания (рис.1) обеспечивает понижение напряжения питающей сети с 220 до 20В и подачу напряжения 20В на питающую обмотку I датчика, а также обеспечивает сдвиг фазы питания датчика с помощью фазосдвигающей цепочки, образованной конденсатором С, обмотками II, IV трансформатора питания Т, резисторами R1, R2, R3 блока питания.
Контроль работоспособности прибора осуществляется при установке переключателя ВКЛ - КОНТРОЛЬ, расположенного на лицевой панели блока питания, в положение КОНТРОЛЬ.
Прибор работает следующим образом. При погружении чувствительного элемента датчика в анализируемый раствор с концентрацией, соответствующей значению шкалы прибора, обозначенному знаком " ▼ ", температура которого равна градуировочной, магнитные потоки Ф1, вызванные протеканием тока по жидкостному витку вокруг сердечника дифференциального трансформатора Т2, и Ф2, образованного током, протекающим в обмотке IV, будут компенсированы магнитным потоком Ф3, созданным током разбаланса, протекающим в обмотках VII и VIII цепи основной и температурной компенсации.
В этом случае выходной сигнал с обмотки X равен нулю, плунжер дифференциально- трансформаторной катушки находится в среднем положении, ток в цепи вторичной обмотки катушки также равен нулю и система отработки регистрирующего прибора находится в покое. При этом показания регистрирующего прибора соответствуют значению шкалы, обозначенному знаком " ▼ ".
При изменении ЭП анализируемого раствора изменяется сопротивление жидкостного витка, что приводит к изменению магнитного потока Ф1.
Появившаяся разность магнитных потоков ∆Ф = (Ф1 + Ф2) - ФЗ создает на обмотке X сигнал, который подается на вход усилителя У регистрирующего прибора (см.рис.3). Этот сигнал усиливается по напряжению и мощности.
Система отработки регистрирующего прибора выходит из состояния покоя, плунжер дифференциально-трансформаторной катушки смещается от среднего положения и в цепи основной и температурной компенсации протекает ток, вызывающий магнитный поток, равный по величине и противоположенный по знаку. В результате этого система отработки регистрирующего прибора вновь приобретает состояние равновесия, а стрелка регистрирующего прибора показывает новое значение измеряемой величины.
В случае отклонения температуры анализируемого раствора от градуировочной изменяются как сопротивление жидкостного витка, так и сопротивление терморезистора R 7.
Система температурной компенсации настроена таким образом, что изменение магнитного потока в сердечнике измерительного трансформатора, вызванное изменением тока жидкостного витка за счет изменения температуры, компенсируется дополнительным магнитным потоком, вызванным изменением тока в цепи основной и температурной компенсации при изменении сопротивления терморезистора R7.
Для измерения концентрации анализируемых растворов, температурный коэффициент ЭП которых изменяется по диапазону измерения, в схеме предусмотрена цепь коррекции температурного коэффициента, состоящая из резисторов R13, R14 и обмотки IX. Коррекция осуществляется при настройке прибора путем подбора сопротивления резисторов R13, R14.
Конструкция датчика концентратомера
Общий вид датчика погружного исполнения представлен на рис.4.
Датчик (рис. 4а) состоит из чувствительного элемента I, штанги 2 клеммника 3, кожуха 4, соединительного жгута 5 и переходной коробки 6.
Чувствительные элемент датчика (см. рис. 4б) состоит из корпуса с крышкой 2, питающего 3 и дифференциального 4 торроидальных, трансформаторов. Оба торридальных трансформатора помещены в экраны 5.
Внешняя поверхность корпуса и крышки чувствительного элемента прибора КНЧ-1М, в зависимости от модификаций, покрыта пентапластом или фторопластом.
Штанга 7 (рис. 46) выполнена из нержавеющей стали. К одному концу штанги приварена насадка 8 с резьбой для присоединения чувствительного элемента, здесь же приварен тонкостенный колпачок 9 из нержавеющей стали, в который помещен терморезистор. Другой конец штанги приварен к клеммнику. Герметичность соединения чувствительного элемента и штанги достигается с помощью фторопластовой прокладки 10.
Методика расчета схемы термокомпенсации
Методика предусматривает определение основных параметров термо - компенсирующей цепи бесконтактных низкочастотных кондуктометрических концентратомеров в соответствии с упрощенной измерительной схемой, представленной на рис.5.
Работа схемы основана на уравновешивании магнитного потока, создаваемого в измерительном трансформаторе Т2 жидкостным контуром, магнитным потоком компенсационного контура. В случае неравенства этих магнитных потоков в обмотке n3 измерительного трансформатора Т2 возникает сигнал, который через усилитель ЭУ и реверсивный двигатель РД изменяет значение компенсирующего напряжения Uk компенсационного контура.
Величина магнитного потока в жидкостном контуре зависит от числа витков жидкостного контура nж и Iж , протекающего в жидкости. Ток Iж зависит от напряжения питания Uпит, коэффициента преобразования n1/nж и сопротивления жидкостного контура Rж.
Рис.4. Общий вид датчика
Рис.5. Измерительная схема бесконтактного низкочастотного кондуктометрического концентратомера:
ТI - питающий трансформатор;
Т2 - измерительный трансформатор;
ЭУ - электронный усилитель;
РД - реверсивный двигатель
Таким образом,
где æ- проводимость жидкостного контура. Магнитные поток, создаваемый током Iж в измерительном трансформаторе Т2 и пропорциональный намагничивающей силе Iжnж, будет уравновешиваться магнитным потоком, создаваемым током Iк компенсационного контура и пропорциональным намагничивающей силе Iкn2:
Iжnж = Iкn2
или
где rk - суммарное сопротивление компенсационного контура. При Uпит = const и для заданных n1, n2 и nж значение Uк должно однозначно определяться концентрацией раствора.
Таким образом, уравнение шкалы кондуктометра имеет вид:
(I),
Электропроводность раствора, а соответственно и сопротивление жидкостного контура Rж изменяют свое значение при изменении температуры, что при неизменном напряжении питания приводит к изменению намагничивающей силы Iжnж. Например, с уменьшением температуры увеличивается Rж , ток уменьшается на ΔIж и намагничивающая сила уменьшится на ΔIжnж. Если величина Uк не зависит от изменения Rt (условие выполняется при R1>>Rt и R1 >> (R2 + R3) ,что обеспечивается на практике), то можно подобрать элементы компенсационного контура так, что увеличение Rt вызовет уменьшение Ik на ΔIk и соответственно уменьшит намагничивающую силу ΔIknk = ΔIжnж. При этом следящая система останется неподвижной.
Показания концентратомера, характеризуемые положением движка реохорда R3, а также напряжением Uk , не будут изменяться при изменении температуры раствора в том случае, если для любой температуры раствора в диапазоне от t1 до t2 будет оставаться постоянным отношение Rk/Rж = Rkt/Rжt.
Обозначим исходную температуру раствора t1 и возможный диапазон ее изменения
Δt = t2 - t1 , соответственно исходные значения сопротивлений Rk1 и Rж1 и их изменения ΔRk и ΔRж.
При этом условие компенасции принимает вид
или окончательно
ΔRk/Rk = ΔRж/Rж1
Зависимость сопротивления жидкости от температуры в узком интервале температур может быть описана выражением
Rжt = Rж0/(1 + βt),
откуда
Характеристики
Тип файла документ
Документы такого типа открываются такими программами, как Microsoft Office Word на компьютерах Windows, Apple Pages на компьютерах Mac, Open Office - бесплатная альтернатива на различных платформах, в том числе Linux. Наиболее простым и современным решением будут Google документы, так как открываются онлайн без скачивания прямо в браузере на любой платформе. Существуют российские качественные аналоги, например от Яндекса.
Будьте внимательны на мобильных устройствах, так как там используются упрощённый функционал даже в официальном приложении от Microsoft, поэтому для просмотра скачивайте PDF-версию. А если нужно редактировать файл, то используйте оригинальный файл.
Файлы такого типа обычно разбиты на страницы, а текст может быть форматированным (жирный, курсив, выбор шрифта, таблицы и т.п.), а также в него можно добавлять изображения. Формат идеально подходит для рефератов, докладов и РПЗ курсовых проектов, которые необходимо распечатать. Кстати перед печатью также сохраняйте файл в PDF, так как принтер может начудить со шрифтами.
















