Курсовик по МСиС 15вар. (1093387)
Текст из файла
Министерство Образования Российской Федерации
МОСКОВСКИЙ ГОСУДАРСТВЕННЫЙ УНИВЕРСИТЕТ ИНЖЕНЕРНОЙ ЭКОЛОГИИ
_________________________________________
Кафедра «Технология машиностроения и материаловедение»
Курсовая работа
по дисциплине «Метрология, стандартизация и сертификация»
Вариант - 15
Выполнила:
Группа №
Преподаватель: Колчков В.И.
МОСКВА 2004г.
Задание
Раздел I
Расчёт и выбор точности деталей подшипникового узла.
-
Рассчитать и определить необходимые для нормального функционирования редуктора посадки:
а) внутреннего кольца подшипника на вал – d;
б) наружного кольца подшипника в корпус – D;
в) крышек (глухой и с отверстием) с корпусом – d1;
г) дистанционного кольца (втулки) с валом – d2;
д) червячного колеса с валом – d3; -
Построить схемы расположения полей допусков для принятых посадок по диаметрам: d, D, d1, d2, d3.
-
Рассчитать предельные параметры посадок (зазоры, натяги) и их средние значения.
-
Рассчитать допуски посадок.
-
Начертить эскизы деталей: корпуса, вала, червячного колеса, дистанционного кольца, крышек и проставить обозначения требований к точности.
-
Обозначить посадки на сборочном чертеже.
-
Обозначить требования к качеству поверхностей и допуски формы для деталей сопрягающихся с кольцами подшипников качения (ПК).
Раздел III
Выбор средств контроля размеров деталей редуктора
Выбрать средства для деталей и соединений п.п. 1,2,3
1.Крышка подшипникового узла.
2.Распорная втулка (кольцо).
3.Осевой зазор при сборке.
4.Расчитать исполнительные размеры контрольных калибров (см. Лекции) для контроля размеров деталей посадки "зубчатое колесо - вал" (по d3).
5. Обозначить требования к точности калибров на эскизах калибров пробки и скобы.
Раздел I
Расчёт и выбор точности деталей подшипникового узла.
рис. 1
1. Посадки подшипника качения на вал и в корпус
Исходные данные: подшипник 0-7609 – однорядный конический, 6-го класса точности; радиальная реакция опоры R = 20000 Н; условия работы – удары, вибрация, перегрузка до 300%; dотв/d = 0,5; корпус разъемный; вращается вал, корпус – неподвижен.
Решение. По справочнику находим посадочные размеры подшипника – диаметр наружного кольца – D = 100 мм., внутреннего – d = 45мм., посадочная ширина, т.е. ширина без учёта радиусов закругления – b = 36мм.; нижние предельные отклонения колец определяем по табл.13–eiD=-0.013мм., EId = -0.01мм., верхние отклонения равны 0, тогда D = 100 -0,013 , d = 45 -0,01.
Вид нагружения колец: наружное – местное, внутреннее – циркуляционное.
Основное отклонение корпуса находим по табл.7 с учетом того, что: корпус разъемный, перегрузка 300%, D 100 мм., получим основное отклонение – JS. Поле допуска отверстия корпуса с учетом класса точности подшипника – JS7. Посадка наружного кольца в корпус –
100JS7/l6. Пользуясь табл. 1 и табл. 2 строим схему расположения полей допусков
(рис. 2а).
Основное отклонение валов определятся по интенсивности нагружения R.
PR=R/b*k1*k2*k3 [Н/мм]
Коэффициент k1=1,8, с учетом перегрузки 300%;
k2=1,6, т.к. dотв/d = 0,5;
k3 = 1,0, т.к. подшипник однорядный.
PR = (20000/36)•1,8•1,6•1,0 =1600 Н/мм. По табл.8 находим основное отклонение вала – n; поле допуска вала, с учетом класса точности подшипника – n6. Посадка внутреннего кольца на вал -
45L6/ n6. Пользуясь табл.1 и табл.3 строим схему расположения полей допусков (рис. 2б).
рис. 2
2. Посадка крышки в корпус
Посадка крышки в корпус зависит от:
-
конструкция крышки – глухая, с отверстием для выхода вала;
-
поля допуска отверстия в корпусе, которое выполнено под подшипник;
-
необходимости обеспечить возможность легкой сборки – разборки;
-
требований к точности центрирования манжетного уплотнителя (крышка с отверстием).
Исходные данные соответствуют примеру 1.
Решение. Требуемым условием удовлетворяют поля допусков предпочтительного применения (табл.5) d11 – для глухих крышек и d9 – для крышек с отверстием. Таким образом, получаем комбинированные посадки
100JS7/d11 и
100JS7/d9. Схемы расположения полей допусков представлены на рис. 3а и 3б.
рис. 3
3. Посадка дистанционного кольца (втулки) на вал
Исходные данные: вал выполнен под подшипник, поле допуска- n6; дистанционное кольцо должно достаточно легко собираться с валом, т.е. Smin f >0;
Решение. Возможны, например, предпочтительно поле допуска
45Е9 (рис. 4).
рис. 4
Smin=EI – es = 50 –33 = 17 мкм >0,Smax= ES – ei = 112 + 17= 95 мкм
Sср. = (16+62)/2=39
4. Посадка червячного (зубчатого) колеса на вал
На сборке (рис. 1) изображена червячная передача, крутящий момент может передаваться шпонкой или без нее, поэтому рассмотрим эти два варианта.
Исходные данные: червячная передача 7-ой степени точности, диаметр червячного колеса D3 = 55 мм., диаметр соединения d3 = 45+10=55 мм. Крутящий момент передается посадкой с натягом, расчетные функциональные натяги равны Nmax f = 65 мкм., Nmin f = 10 мкм. Обеспечить легкую сборку – разборку, крутящий момент передается без шпонки.
Решение. Оценим квалитет точности соединения, приняв систему отверстия (СА): TD' = Td'= (Nmax f – Nmin f)/2 = (65 – 10)/2 = 27,5 мкм., полученное значение находится между квалитетами IT6 (IT = 19 мкм) и IT7 (IT = 30мкм), (табл.1).
Возможное отклонение вала: E'b = TD + Nmin; для IT6 E'b = 19 + 10 = 29 мкм, для IT7 E'b = 30+10 = 40 мкм. Штрихами обозначены расчетные значения, без штрихов стандартные. Ближайшее стандартное основное отклонение находим по табл.2 для d3 = 55 мм оно соответствует t и равно 41 мкм. Рассмотрим 2 варианта посадок: а)
55 H7/r7; б)
55 H7/r6;
в)
55 H6/r6.
Условие: Nmax < Nmax f и Smin должна отличатся не более чем на 5 % от Nmin f ),
а) Nmax = 71 – 0=71мкм > Nmax f , Smin = 41 –30 = 11 мкм ;
б) Nmax = 60 – 0 = 60 мкм < Nmax f, Smin = 41 –30 = 11 мкм ;
в) Nmax = 60 – 0 = 60 мкм < Nmax f, Smin = 41 –19 = 22 мкм
Посадка
55 H7/R6 соответствует поставленному условию, относится к числу рекомендуемых (табл.6).
Допуски определяются по рекомендациям:
корпус – IT/4 = 35/4 мкм
8 = 0,008мм;
вал – IT/4 = 16/4 мкм
4= 0,004 мм.
Раздел III
1. Выбор средств контроля размеров деталей редуктора
1.1 Крышка подшипникового узла (вал)
В разделе 1 было выбрано 2 конструкции крышки: глухая и с отверстием для выхода вала. Глухая крышка имеет посадку в корпус
100 Js7/d11, а крышка с отверстием -
100 Js7/d9.
Выберем средство измерения для глухой крышки. Выбор осуществляем по условию: Ц.дел.прибора0,3*ТА
Значение допуска составляет Тd = 220 мкм (при IT11 и
100).
0,3 ∙ 0,22 = 0,066 мм. Для данной детали подходит штангенциркуль с отсчетом по нониусу 0,05 мм (0,05<0,066 – условие выполняется).
Для крышки с отверстием Td = 87 мкм (при IT9 и
100). 0,3 ∙0,087 = 0,0261 мм. Выбираем скобу индикаторную с ценой деления 0,01 мм (0,01< 0,0261 - условие выполняется.)
1.2. Распорная втулка (кольцо).
Посадка дистанционного кольца (втулки) на вал имеет вид
45 E9. При этом значение допуска составляет 62 мкм.
0,3 ∙0,062 = 0,0186 мм. Выбираем нутромер микрометрический с ценой деления 0,01 мм (0,01<0,0186 – условие выполняется).
1.3. Осевой зазор при сборке.
При сборке редуктора необходимо обеспечить осевой зазор Ао=1 ± 0,2мм
Значение допуска при этом составляет 400 мкм. Наиболее удобным средством измерения зазора является плоский щуп – набор пластин различной толщины. Толщина пластин может быть 0,1, 0,2, 0,3 мм.
2. Расчет исполнительных размеров контрольных калибров.
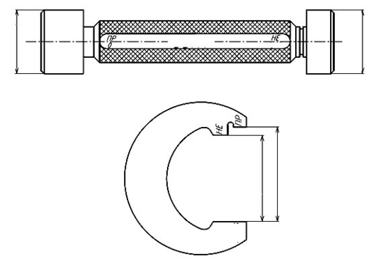
Исполнительные размеры калибр – скобы.
Измеряемый элемент детали имеет наружный номинальный размер
55 мм, поле допуска r6, предельные отклонения: верхнее +60 мкм, нижнее +41 мкм, поле допуска Т=19 мкм.
Определяем величину допускаемой погрешности измерения: по табл.10.1 находим строку интервала номинальных размеров 50 – 80 мм и столбец 6-го квалитета. В их пересечении находим для допуска 19 мкм допускаемую погрешность измерения, равную 5 мкм.
Исполнительные размеры калибр-скобы рассчитываем по следующим уравнениям:
Колибр –скоба
Р – Пр ИР= d0+ esd – z – H1/2= 55+0,06 – 0,0025 – 0,0025 =55,055мм
Р – Не ИР= d0+ eid –H1/2= 55+0,041 – 0,0025=55,0385мм
Исполнительные размеры калибра пробка.
Измеряемый элемент детали имеет наружный номинальный размер
55 мм, поле допуска Н7, предельные отклонения: верхнее +30, нижнее
0 мкм, поле допуска Т=30 мкм.
Определяем величину допускаемой погрешности измерения: по табл.10.1 находим строку интервала номинальных размеров 50 – 80 мм и столбец 7-го квалитета. В их пересечении находим для допуска 30 мкм допускаемую погрешность измерения, равную 120 мкм.
Исполнительные размеры калибра пробка рассчитываем по следующим уравнениям:
Колибр–пробка
Р – Пр ИР= D0+ EID+ z + H/2= 55+0+0,004+0,0025=55,0065мм
z , H, H1 – определяются по таблице
Р – Не ИР= D0+ ESD+ H/2= 55+0,03+0,0025=55,0325мм
Эскизы калибров пробки и скобы.
9
Характеристики
Тип файла документ
Документы такого типа открываются такими программами, как Microsoft Office Word на компьютерах Windows, Apple Pages на компьютерах Mac, Open Office - бесплатная альтернатива на различных платформах, в том числе Linux. Наиболее простым и современным решением будут Google документы, так как открываются онлайн без скачивания прямо в браузере на любой платформе. Существуют российские качественные аналоги, например от Яндекса.
Будьте внимательны на мобильных устройствах, так как там используются упрощённый функционал даже в официальном приложении от Microsoft, поэтому для просмотра скачивайте PDF-версию. А если нужно редактировать файл, то используйте оригинальный файл.
Файлы такого типа обычно разбиты на страницы, а текст может быть форматированным (жирный, курсив, выбор шрифта, таблицы и т.п.), а также в него можно добавлять изображения. Формат идеально подходит для рефератов, докладов и РПЗ курсовых проектов, которые необходимо распечатать. Кстати перед печатью также сохраняйте файл в PDF, так как принтер может начудить со шрифтами.















