Обогащение крупнозернистых шламов (1093371), страница 3
Текст из файла (страница 3)
Россия является разработчиком и производителем трехпродуктовых тяжелосредных гидроциклонов (технические характеристики представлены в таблице 3), которые положительно зарекомендовали себя на обогатительных фабриках ОФ "Нерюнгринская" и ЦОФ "Печорская" на операции обогащения коксующихся углей. При этом выделение трёх продуктов происходит в две стадии в одном аппарате. Крупность обогащаемого материала 0,5-13 (25) мм, а также при обогащении одним машинным классом 0,5-30 (40) мм.
Таблица 3 ‑ Техническая характеристика 3-х продуктового тяжелосредного гидроциклона с кольцевым уступом (ГТУ-900/630)
| Параметры | Значения | |
| Внутренний диаметр, мм: | ||
| разгрузочной камеры 1 ступени | 900 | |
| разделительной камеры 1 ступени | 750 | |
| разделительной камеры 2 ступени | 630 | |
| Угол конусности конической части, град. | 20 | |
| Размеры патрубка, мм | ||
| входного | 190х200 | |
| переходного на выходе из первой ступени | 160х180 | |
| переходного на входе во вторую ступень | 160х160 | |
| Диаметры разгрузочных насадок, мм. | ||
| сливного 1 ступени | 360 | |
| сливного 2 ступени | 240 | |
| нижнего (пескового) | 130 | |
| Габариты, мм | 4820х2000х2850 | |
| Масса, кг | 3073 | |
| Режим работы (возможный) | ||
| Производительность по углю, т/ч | 200 | |
| Крупность обогащаемого машинного класса, мм | 0,5(0,2)-25(50) | |
| Расход суспензии, м3/ч | 600 | |
| Высота подачи питания, м | 8,1 | |
Широко применяемые в мировой практике тяжелосредные гидроциклоны зарубежных фирм: "Inpromin" (типа "Tri-Flo" ‑ цилиндрические, 3‑х продуктовые) – Италия; "Vorsyl" (цилиндрические, 2-х продуктовые); "British Coal" (цилиндрические, 2-х продуктовые и типа "Larcodems" ‑ цилиндрические и цилиндро-конические, 3-х продуктовые) – Великобритания; "Dutch Staats Mine" (DSM) (цилиндро-конические, 2-х продуктовые) – Нидерланды; "McNally" (типа "Cycloid") (цилиндро-конические, 2-х продуктовые) – США; "Altavip Technologies" (типа "DANIELS") – Германия.
Для регенерации магнетитовой суспензии в циклах тяжёлосредного обогащения применяются электромагнитные барабанные сепараторы.
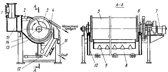
В настоящее время на отечественных углеперерабатывающих предприятиях эксплуатируются главным образом электромагнитные барабанные сепараторы типа ЭБМ (см. рисунок 3).
1 – приемник суспензии; 2 – отжимной скребок; 3 – магнитная катушка;
4 – счищающий скребок; 5 – барабан; 6 – отбойный диск; 7 – привод барабана; 8 – ванна; 9 – листы, создающие сопротивление движению суспензии;
10 – уплотнительный щит; 11 – рама; 12 – хвостовая насадка;
13 – полюса электромагнита; 14 – направляющий лоток; 15 – приёмная камера
Рисунок 3 – Схема устройства электромагнитного сепаратора ЭБМ
Техническая характеристика сепараторов ЭБМ представлена в таблице 4.
Сепаратор ЭБМ работает следующим образом. Магнетитовая суспензия через приемник поступает в приемную камеру и по направляющему лотку подается в ванну по барабан. Частицы магнетита под действием магнитного поля притягиваются к барабану, осаждаясь на его поверхности, и удаляются при помощи скребков. Из верхней части ванны отводится слив (то есть суспензия со сравнительно небольшим содержанием угольного шлама). Из нижней части ванны отводятся отходы (хвосты)
Таблица 4 – Техническая характеристика сепараторов ЭБМ
| Сепаратор | ЭБМ 80/170П | ЭБМ 90/250 |
| Диаметр рабочей части барабана, мм . . . . . . . . . . . . | 800 | 900 |
| Длина барабана, мм . . . . . . . . . . . . . . . . . . . . . . . . . . . | 1680 | 2490 |
| Напряженность магнитного поля в рабочей зоне на поверхности барабана, кА/м . . . . . . . . . . . . . . . . . . . . | 210 | 210 |
| Установленная мощность привода барабана, кВт. . . | 3 | 4 |
| Габариты, мм | ||
| Длина . . . . . . . . . . . . . . . . . . . . . . . . . . . . . . . . . . . . . . | 3090 | 3840 |
| Ширина. . . . . . . . . . . . . . . . . . . . . . . . . . . . . . . . . . . . | 1995 | 1995 |
| Высота. . . . . . . . . . . . . . . . . . . . . . . . . . . . . . . . . . . . . | 2500 | 2500 |
| Масса, кг (не более) . . . . . . . . . . . . . . . . . . . . . . . . . . . | 6600 | 9200 |
| Частота вращения барабана, мин-1. . . . . . . . . . . . . . . . | 9,5 | 9,5 |
| Мощность электромагнитной системы, кВт. . . . . . . . | 15,7 | 23,5 |
| Производительность (м3/ч) при содержании магнетита а твердой фазе питания, % | ||
| 70-90. . . . . . . . . . . . . . . . . . . . . . . . . . . . . . . . . . . . . . . | 270 | 400 |
| 35-50. . . . . . . . . . . . . . . . . . . . . . . . . . . . . . . . . . . . . . . | 240 | 370 |
| Рекомендуемое содержание магнетита в питании (кг/м3) при содержании магнетита в твердой фазе, % | ||
| 70-90. . . . . . . . . . . . . . . . . . . . . . . . . . . . . . . . . . . . . . . | 180 | 180 |
| 35-50. . . . . . . . . . . . . . . . . . . . . . . . . . . . . . . . . . . . . . . | 130 | 130 |
| Содержание магнетита в отходах регенерации, кг/м3 | ||
| До 150. . . . . . . . . . . . . . . . . . . . . . . . . . . . . . . . . . . . . . | До 0,5 | До 0,5 |
| 150-180. . . . . . . . . . . . . . . . . . . . . . . . . . . . . . . . . . . . . | До 1 | До 1 |
| 180-200. . . . . . . . . . . . . . . . . . . . . . . . . . . . . . . . . . . . . | До 1,5 | До 1,5 |
| 200-250. . . . . . . . . . . . . . . . . . . . . . . . . . . . . . . . . . . . . | До 2 | До 2 |
| Плотность магнетитового концентрата, (кг/м3) при содержании шлама в питании до 150 г/л | 2100-2300 | 2100-2300 |
регенерации, содержащие весьма значительное количество угольного шлама, а также частицы магнетита (возможен режим работы без выделения слива). Отходы могут направляться либо в систему регенерации шламовых вод, либо на вторую стадию регенерации магнетитовой суспензии с целью извлечения оставшегося магнетита. Степень извлечения магнетита на сепараторах ЭБМ составляет 99,7–99,97 %.
В настоящее время ряд фирм-производителей осваивают выпуск электромагнитных сепараторов на постоянных магнитах.
Отсадочные машины для обогащения шламов (рисунок 4) получили широкое распространение в практике обогащения углей благодаря следующим преимуществам.
1 Универсальность:
-
возможность эффективного обогащения углей различного фракционного и гранулометрического составов в широком диапазоне их марочной принадлежности, целевого назначения и обогатимости;
-
относительно малая чувствительность к содержанию классов посторонней крупности к колебаниям вещественного состава исходного угля, благодаря универсальности отсадка может применяться для обогащения различных классов крупности в качестве основной и контрольной операции;
2 Простота технологии, заключающаяся в малооперационности технологического комплекса, не требующего специальных операций по приготовлению и регенерации рабочей среды, применения специальных веществ (утяжелителя, реагентов), создания стабильного гидростатического напора на вводе питания;
3 Высокая производительность. Удельная производительность составляет 5-20т/ч на 1м2 рабочей площади отсадочной машины; существуют технические обоснования возможности создания отсадочных машин с абсолютной производительностью до 1000т/ч.
4 Экономичность, являющаяся в определенной мере следствием названных выше преимуществ, а также обусловленная относительно низкими удельными энергоемкостью и металлоемкостью процесса обогащения.
1 – загрузочное устройство; 2 – выгрузка отходов; 3 – воронка для отходов;
















