Общий вид диплома (1089331), страница 4
Текст из файла (страница 4)
Данный тип клапанов бывает различных типов конструкция, исполнений (нормально-закрытый, нормально-открытый), различных диаметров (Ду 10,15,20,25 …..) и питающего напряжения(220~,115~,24~ и 24=).
Конструкции клапанов в основном бывают 2 типов:
-
Прямого действия
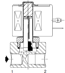
Рис. 3.4 клапан прямого действия
Как показано не рисунке 3.4. для того чтобы клапану открыться, необходимо только подать питающее напряжение для открытия проходного сечения. У данного типа клапана есть преимущества и недостатки в использовании. Преимущества: данный клапан работает без перепада давлении т.е может работать от 0 бар. Недостатки: что данный клапан применим для только маленьких диаметров до 25 мм.
-
Не прямого действия (с плавающей мембраной)
Рис 3.5. Клапан не прямого действия (с плавающей мембраной)
Принцип работы клапана заключается в том что среда сама помогает клапану открыться. Что достигается благодаря припускному отверстию в мембране клапана, и тогда клапан закрыт давление над мембраной и под ней одинаковое. При открытии клапана через плотное отверстие среда над мембраной сбрасывается, вследствие сто пилотное отверстие больше чем припускное в мембране и среда не успевает нормализовать давление над мембраной следовательно среда сама давит на мембрану, вследствие среда сама открывает клапан.
Преимущества: возможность использования для больших диаметров и высоких давлений.
Недостатки: Для работы необходим перепад давления
Для комплектации устройства данный тип оборудования может обеспечивать все заданные критерии работы устройства. Так как в среднем в системе будет минимальное давление больше чем необходимое для открытия клапана. Так же данный тип клапанов модели scg238 могут комплектоваться различными катушками клапанов как 220В~ так и 24В= тока, и в случаи необходимости в случаи изменения технических параметров питания устройства.
3.4.6.Предохранительный клапан
Предохранительный клапан — трубопроводная арматура, предназначенная для защиты от механического разрушения сосудов и трубопроводов с избыточным давлением, путем автоматического выпуска избытка жидкой, паро - и газообразной среды из систем и сосудов с избыточным давлением при чрезмерном повышении давления.
3.4.7.Датчик уровня
Необходим для измерения количества воды в баке, для того чтобы не произошло его переполнение или недозаполнение бака!
3.4.8.Бак с мембраной и воздушной труппкой.
Мембранный бак состоит из металлического корпуса и колбы из пищевой резины. На противоположной стороне металлического корпуса расположен воздушная трубка, через который накачивается воздух. Как видно из схемы, воздух накачивается, как раз, в пространство между корпусом и колбой. Воздух, как вы уже поняли, находится под давлением. Когда в колбе нет воды, она сжата и сплющена давлением воздуха.
На первом этапе создается давления в водопроводе. Мы включаем насос и в колбу начинает поступать вода. При этом колба расправляется и начинает сжимать воздух. По мере накачки воды, сопротивление воздуха становится все больше и больше. В определенный момент давление воздуха на колбу с водой достигает нужной нам величины, и мы прекращаем подачу в колбу воды. Давление в водопроводе создано.
На втором этапе мы открываем водопроводный кран и воздух начинает выталкивать воду из колбы. Колба "сдувается". В процессе этого "сдутия", нужно опять включать насос для подачи в водопровод очередной порции воды. Нам нужно включить насос не тогда, когда колба станет пустой, ведь тогда давление воды станет ноль, а когда давление в водопроводе опустится до определенной величины.
Мембранные баки можно соединять параллельно. Это удобно. Мембранные баки следует устанавливать в доступности. Их регулярно, примерно раз в год, следует подкачивать.
3.4.10.Воздухоотводчик
Необходим для удаления воды и другого конденсата образовывавшийся в процессе работы системы.
3.4.11.Регулятор уровня бака
Необходим для ровного расположения бака.
3.4.12.Шланг высокого давления
Необходим для выдерживания кратковременных нагрузок.
3.4.13. Блок управления
Блок управления является основой управления всем устройством. В него входит контролер через который в систему вводятся и изменяются все параметры системы. В его системе должны быть разработаны два уровня доступа (общего доступа и сервисные). В общем доступе могут быть изменены общее параметры системы, такие как давление, уровень заполнения бака и тд. В сервисных параметрах это изменении различных параметров системы.
Блок управления так же компонуется преобразователем частоты для предотвращения возможных поломок насоса, из-за периодической работы насоса связных с его эксплуатации. Благодаря установке такого оборудования в систему увеличивается срок службы насосов.
4. Система управления
4.1.Выполняемые функции. Требования к конфигурации. Программное обеспечение
В системе автоматизированного управления верхний (диспетчерский) уровень структуры АСУ представлен автоматизированным рабочим местом оператора, на котором функционирует SCADA система Intouch 9.5 фирмы Wonderware.
Выполняемые функции:
-
Взаимодействие с контроллерной подсистемой управления;
-
Отображение диагностической информации о состоянии составных частей системы и линий связи;
-
Возможность управления оператором работой установки в «ручном» режиме;
-
Взаимодействие с производственной вычислительной сетью.
Автоматизированное рабочее место представляет собой IBM PC совместимую рабочую станцию в офисном исполнении, размещенную в отапливаемом помещении с контролируемой температурой и влажностью.
Конфигурация этого компьютера соответствует функциональному назначению (сбор и обработка технологической информации с нижних уровней автоматизации, визуализация технологического процесса). Основные особенности конфигурации:
-
качественные комплектующие и надежная сборка;
-
большой объем оперативной и постоянной памяти, высокое быстродействие процессора и системы в целом;
-
видеоподсистема, обеспечивающая высокое качество изображения (монитор с большим экраном и видеоадаптер с четкой цветопередачей и стабильной картинкой);
-
эргономичные устройства ввода.
Компьютер подключен через переходник (RS-232/485) к производственной сети.
Автоматизированное рабочее место оператора функционирует на базе операционной системы Microsoft Windows 2000 Professional, обеспечивающей удовлетворительную надежность и совместимость с программным пакетом Microsoft Office.
Intouch программное обеспечение позволило в короткие сроки создать удобный интерфейс оператора, а также алгоритмы управления и регистрации событий.
Также в системе реализованы функции протоколирования сообщений о ходе технологического процесса. Регистрируются нарушения и отклонения технологических параметров, двоичных событий (типа вкл./выкл. или открыт/закрыт), действия оператора-технолога, аварийные ситуаций.
Данные протоколы в случае необходимости могут быть распечатаны в форме аналогичной их отображению на экране монитора и в этом случае являются отчетными документами и предназначены для:
-
анализа функционирования технологического объекта;
-
управления в регламентных и нештатных ситуациях;
-
анализа причин нарушений и отклонений от регламента;
-
анализа функционирования программно-технического комплекса.
Рассмотрим подробнее реализацию диспетчерского уровня автоматизации САУ стадией стерилизации в SCADA системы в Intouch.
4.2. Структура интерфейса оператора
Основой для построения иерархической системы визуализации (интерфейса оператора) для системы управления является технологическая структура устройства расположенного в задании.
Визуализация информации о функционировании производства на стадии стерилизации осуществляется с помощью совокупности видеограмм – окон и панелей, отображаемых на экранах цветных мониторов рабочих станций операторов-технологов.
Структура интерфейса оператора:
-
верхний уровень: обзорное меню с реализацией функций прямого вызова видеограмм нижнего уровня;
-
нижний уровень: комплекс соответствующих видеограмм отдельной технологической нитки.
К видеограммам нижнего уровня относятся:
Мнемосхема - технологическое окно отображения работы оборудования, вывода технологических параметров и аварийной сигнализации (показания датчиков и состояние исполнительных механизмов);
4.3. Общие характеристики интерфейса оператора
Все панели и окна интерфейса оператора, принадлежащие одной системе визуализации построены по принципу унификации свойств (тип, цвет, анимация) графических элементов.
Панели и окна интерфейса оператора отображаются на черном фоне экрана монитора рабочей станции.
Статические составляющие интерфейса оператора, такие как изображения технологического оборудование установки отображаются преимущественно серым цветом.
Текстовые обозначения (подписи) индикаторов, полей ввода, аппаратов и материальных потоков, идентификаторы технологических параметров, физические размерности технологических параметров, обозначаются черным или синим цветом.
В оформлении динамических элементов ввода и отображения значений (состояний) технологических параметров, следуя концепции унификации, используются следующие цветовые и анимационные решения:
-
для алфавитно-цифровых индикаторов параметров технологического процесса регламентные значения технологических параметров (активные, рабочие состояния) отображаются зеленым или синим цветами на черном или белом фоне;
-
регламентные значения (неактивные, выключенные состояния) отображается серым, серо-зеленым, красным цветами (например, закрытый клапан);
-
отклонившиеся от нормы значения технологических параметров при нарушении границ L и H (сигнализация) отображаются желтым цветом, при нарушении границ LL HH (блокировка) отображаются ярко красным цветом, с использованием мерцающей смены цветов.
В оформлении динамических элементов ввода и отображения, не связанных напрямую с технологическими параметрами (кнопки, переключатели, индикаторы состояния процесса) используются следующие цветовые и анимационные решения:
-
для обозначения регламентных значений (активных, рабочих состояний) используются синий, зеленый цвета (различной яркости);
-
для обозначений регламентных значений (неактивных, выключенных состояний) используются серый, красный (приостановка процесса) цвета;
-
не регламентные значения обозначаются желтым, красным цветами с добавлением анимационных эффектов (мерцание).
4.4. Обзорное меню
Обзорное меню предназначено для быстрого (путем нажатия соответствующей кнопки) вызова всех типов видеограмм, относящихся к данной технологической линии (стадии стерилизации).
Меню содержит кнопки вызова панелей и окон интерфейса оператора, а также сопроводительные надписи. Во время работы обзорное меню располагается постоянно на переднем плане в правой части экрана, делая удобной быструю навигацию по видеограммам.
При первом нажатии на выбранную кнопку происходит загрузка и запуск соответствующего окна (панели). Повторное нажатие (при загруженной панели) приводит к выводу окна на передний план.
Изображение обзорного меню дано на рис. 4.1.
Рис. 4.1. Обзорное меню
4.4.1. Мнемосхема
Для визуализации состояния технологического оборудования и отображения текущих значений контролируемых параметров используется мнемосхема, индицируемая на экране монитора (рис. 4.2). Блок-диаграмма приведена в приложении 9. Наряду с виртуальной панелью контроля и управления мнемосхема предназначена для использования операторами-технологами в качестве основного средства контроля и управления технологическим процессом.
Рис. 4.2. Мнемосхема стадии стерилизации биореактора















