Optic_lr_metod_1-5 (1087406), страница 3
Текст из файла (страница 3)
Измерение длины волокна или кабеля производится по времени задержки
фронта от оптического импульса относительно фронта электрического импульса от генератора, по формуле:
где с – скорость света, nс =1.455 – коэффициент преломления сердцевины волокна.
Например, при
=1 мкс, длина кабеля составит L1=206м.
Точность измерения длины оптического кабеля определяется точностью определения значения nC и измерения
. В нашем случае она составляет
м при длине кабеля до 1 км и
м при длине кабеля до 5 км.
4. Задание по лабораторной работе
При проведении лабораторной работы выполнить следующее:
-
Ознакомиться с описанием стенда и основными характеристиками светодиода.
-
Осмотреть и определить основные устройства стенда и его контрольно-измерительные приборы.
-
Провести собеседование с преподавателем и ответить на контрольные вопросы.
-
Вывести сопротивление R2 в крайнее левое положение.
-
Включить осциллограф и убедиться в его работоспособности.
-
Включить блоки питания ПОМ и ПРОМ.
-
Вставить штекеры концов кабеля в ПОМ и ПРОМ и затянуть гайки.
-
Зарисовать импульсы, снятые с осциллографа.
-
Измерить задержку переднего фронта оптического импульса относительного переднего фронта электрического импульса.
-
Рассчитать длину оптического кабеля.
5. Представление результатов
Результаты лабораторной работы должны быть представлены в следующем виде:
-
Функциональная схема стенда.
-
Рисунки осциллограмм.
-
Расчет длины кабеля.
-
Оценка точности измерения длины кабеля.
-
Ответы на контрольные вопросы (устно).
6. Контрольные вопросы
-
Как экспериментально измерить длину оптического волокна или кабеля?
-
Как формируются оптические импульсы в оптоволоконной системе?
-
Как регистрируются оптические импульсы?
-
Из каких элементов состоит ПОМ?
-
Из каких элементов состоит ПРОМ?
-
По какой формуле рассчитывается длина оптического кабеля?
-
Как вводится излучение в оптическое волокно?
-
Какими элементами соединяются ПОМ и ПРОМ с оптическим волокном?
-
Как определить длину волокна и дефекты в нем по обратному отражению?
-
Какова точность измерения длины кабеля?
-
Как увеличить точность измерения длины кабеля?
Лабораторная работа №4
ИССЛЕДОВАНИЕ МНОГОПОЛЮСНОГО ОПТИЧЕСКОГО РАЗВЕТВИТЕЛЯ
1. Цель работы
Ознакомление с принципом действия многополюсных оптических разветвителей, приобретение навыков в экспериментальном определении оптических характеристик пассивных компонентов волоконно-оптических систем передачи информации.
2. Принципы построения устройства
Современные волоконно-оптические системы передачи информации (ВОСПИ), как правило, имеют разветвленную структуру. Поэтому для их построения необходимы специальные устройства: оптические разветвители, осуществляющие объединение и распределение оптических сигналов между абонентами системы.
В
общем случае оптический разветвитель представляет собой пассивный оптический многополюсник, имеющий N входных и M выходных оптических полюсов, в котором оптическое излучение, подаваемое на какой-либо входной оптический полюс, распределяется между выходными его полюсами (рис. 1).
В зависимости от назначения, для построения ВОСПИ требуются различные типы разветвителей, отличающиеся числом входных и выходных оптических полюсов, типом используемого оптического волокна, т
Рис. 1. Пассивный оптический многополюсник
ребованиями к условиям эксплуатации.Для построения линий со звездообразной структурой используются многополюсные разветвители типа 1N и NN. При этом промышленные типы многополюсных многомодовых разветвителей обычно имеют число каналов от 13 и 33 до 132 и 3232. а одномодовых разветвителей – от 1 4 до 216.
Важным классом оптических разветвителей являются звездообразные многомодовые разветвители типа NN с одинаковым числом входных и выходных полюсов, предназначенные для работы в составе локальных систем передачи информации.
В настоящее время получили распространение два основных типа конструкции разветвителей:
1) сплавные биконические разветвители;
2) разветвители на основе смесителей.
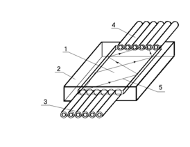
Сплавные биконические разветвители обычно реализуют на одномодовых световодах и здесь не рассматриваются. В разветвителях 2-го типа участок перераспределения излучения формируется в виде отдельного световода (смесительного элемента), к торцам которого пристыкованы пучки оптических волокон, образующих входные и выходные полюса разветвителя. В качестве смесительного элемента могут использоваться, например, световоды с круглым или прямоугольным поперечным сечением. Вносимые потери таких световодных структур зависят от соотношения между площадью поперечного сечения световедущей области смесительного элемента и суммарной площадью соединенных с ним сердцевин оптических волокон. С учетом этого, наименьшие потери имеют разветвители, построенные на основе планарных оптических волноводов. Структура такого разветвителя схематически изображена на рис. 2. Торцевые участки планарного волновода (1), сформированного в пластине из стекла (2), соединены с торцевыми участками уложенных в ряд оптических волокон (3) и (4). Смешение и перераспределение оптического излучения в такой структуре осуществляется за счет многократных отражений лучей (5) от боковых поверхностей световодного смесителя. Поскольку смесительная секция работает с той же самой эффективной апертурой, что и возбуждающие ее ВС, то, в отличие от сплавных биконических разветвителей, она может быть полностью загерметизирована с целью обеспечения стабильности при воздействии внешних факторов.
Д
ля описания оптических характеристик разветвителей используется матрица передачи, элементами которой являются коэффициенты передачи между оптическими полюсами Kij или kij[дБ], определяемые по формулам:
K
Рис. 2. Структура разветвителя типа NN на основе планарного оптического волновода
ij = (Pij/P0), (1)kij [дБ] = - 10lgKij , (2)
где P0 - мощность оптического излучения на входном полюсе; Pij -мощность оптического излучения на j-ом выходном полюсе при возбуждении i-го входного полюса.
На основе значений элементов матрицы передачи для разветвителя типа NM рассчитываются значения неравномерности коэффициентов передачи k[дБ] и величина оптических вносимых потерь A [дБ] по формулам:
k[дБ] = kmax – kmin , (3)
где kmax и kmin - соответственно максимальное и минимальное значения коэффициентов передачи, N – число входных полюсов разветвителя.
В разветвителях, построенных на основе анизотропных оптических волокон степень сохранения состояния поляризации, вводимого излучения характеризуется экстинкционным отношением, определяемым как:
= 10 lg (Px / Py), (5)
где Px и Py - мощности ортогональных поляризационных компонент излучения, выделяемых на выходе одного из каналов разветвителя с помощью поляризатора-анализатора.
3. Описание стенда
ГИ
Г5-63
МВ
Измерительный оптический кабель
ПОМ
ПРОМ
ОР
Входы Выходы
ОС
БП2
БП1
Рис. 3. Функциональная схема стенда для измерения параметров оптических разветвителей
Функциональная схема стенда для измерения оптических характеристик многополюсного разветвителя (ОР) приведена на рис. 3.
Аппаратура стенда состоит из следующих основных частей: передающий оптоэлектронный модуль ПОМ (источник оптического излучения), приёмный оптоэлектронный модуль ПРОМ (фотоприёмник с усилителем), генератор прямоугольных импульсов ГИ, блоки питания источника излучения БП1 и БП2, осциллограф ОС, милливольтметр МВ.
В качестве источника оптического излучения используется передающий оптоэлектронный модуль (ПОМ), в состав которого входит полупроводниковый лазер с длиной волны излучения 0,85 мкм и электронная схема управления лазером. Питание ПОМ осуществляется от двуполярного источника питания напряжением +6В -6В, в качестве которого могут быть использованы блоки питания БП-5, БП-12 и др. Запуск ПОМ производится прямоугольными импульсами амплитудой +5В от генератора импульсов Г5-63, сигнал с выхода которого подается на запускающий вход ПОМ. Для регистрации мощности оптического излучения применяется фотоприемный блок ПРОМ. Частота запускающих импульсов выбирается с учетом частотной характеристики фотоприемного блока стенда и составляет 1 ..10 кГц.
В состав фотоприемного блока входит кремниевый фотодиод типа ФД‑7К, сопротивление нагрузки Rн и блок питания, в качестве которого используется гальваническая батарея с напряжением 9В. Напряжение на сопротивлении нагрузки, пропорциональное мощности падающего на фотоприемник оптического излучения, измеряется милливольтметром В3-56. Форма импульсного сигнала контролируется также осциллографом (С1-81 или другого типа).
Для подачи оптической мощности от источника на фотоприемник или на вход исследуемого оптического разветвителя используется измерительный оптический кабель на основе многомодового оптического волокна, оконцованный наконечниками оптического соединителя. Тип оптического волокна измерительного кабеля должен соответствовать типу волокна контролируемого образца разветвителя. В частности, в настоящей работе используется разветвитель на основе многомодового кварцевого волокна с диаметром сердцевины 100 мкм, диаметром светоотражающей оболочки 140 мкм и числовой апертурой NA = 0,2.
Принцип измерения коэффициента передачи между оптическими полюсами разветвителя на вышеописанном стенде заключается в следующем. Оптическое излучение с некоторым значением эффективной мощности Ро направляется с выхода измерительного кабеля на фотоприемник. При этом регистрируется эффективное значение напряжения импульсного сигнала на сопротивлении нагрузки Uo. Далее, измерительный кабель отсоединяется от фотоприемника и соединяется с одним из входных полюсов с номером i оптического разветвителя. Оптическое излучение с одного из выходных полюсов с номером j оптического разветвителя подается на фотоприемник и регистрируется эффективное значение напряжения импульсного сигнала на сопротивлении нагрузки Uij.
Отношение Uij/Uo будет представлять собой коэффициент передачи Kij между оптическими полюсами разветвителя, поскольку в соответствии с выражением (1)















