ugfs_kursovik_01 (1086804)
Текст из файла
Московский Государственный Институт Радиотехники, Электроники и Автоматики.
(технический университет)
Курсовая работа.
Устройства формирования сигнала.
РС-4-02
Оглавление:
1.Функциональная схема радиопередатчика и ее расчет.
2.Расчет высокочастотных каскадов.
Расчет усилителей
Расчет умножителей
3.Расчет возбудителя.
4.Расчет входной и выходной согласующих электрических цепей
5.Частотная модуляция.
6. Температурный коэффициент.
7.Принципиальная электрическая схема передатчика.
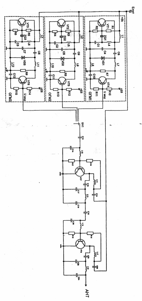
Функциональная схема радиопередатчика и ее расчет.
Кр=Ра*Каф/Рвозб; Кр=10/10-3 Кр =104– коэфф. усиления по мощности
Кр дБ=10lg Кр Кр дБ=40
Кf=f1/fвозб Кf=600/300 Кf =2– коэффициент умножения по частоте
Определяем частоту кварцевых автогенераторов:
-
f1 кв =600/2 =300
Определяем общий коэффициент усиления по мощности:
Кр дБ =10lgРа + 10lg Каф - 10lg Рвозб
Кр дБ =10lg10 + 10lg 1.25 - 10lg 0.01 = 31
Требуемая мощность оконечного каскада передатчика:
Р1 вых = Ра*Каф = 10 * 1.25 = 12.5 Вт
Выбор транзистров:
1.(оконечный): Р1 вых =12.5Вт
КТ916А, имеющий при частоте 1000 мГц максимальную мощность 20 Вт
2: Р1 вых =1.25Вт
КТ913А, имеющий при частоте 1000 мГц мощность 3Вт
3: Р1 вых =0.125Вт
КТ918А, имеющий при частоте 3000мГц мощность 0.25 Вт
Функциональная схема
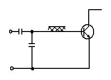
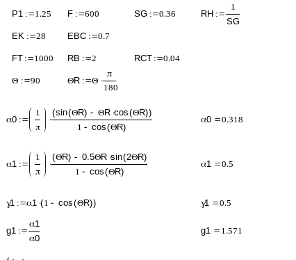
Расчет усилителей
P1 – требуемая выходная мощность ВЧ генератора, Вт
F – частота усиливаемого сигнала, мГц
EK- напряжение питания коллектора, В
EBC – напряжение отсечки, В
SG - крутизна линии граничного режима, А/В
RH=1/SG – сопротивление насыщения транзистора, Ом
RB – сопротивление базы транзистора, Ом
RCT – стабилизирующее сопротивление в цепи эмиттера транзистора, Ом
оконечный каскад
Коллектор
База
Второй каскад
Коллектор
база
Третий каскад
коллектор
База
Расчет умножителя частоты:
Коллектор
база
Расчет возбудителя.
Расчет входной и выходной согласующих электрических цепей.
Поскольку устройство спроектировано в СВЧ диапазоне, то согласование входной и выходной согласующий цепей должно быть выполнено на несимметричных микрополосковых линиях передачи.
1 – центральный проводник
2 – проводящая заземляющая поверхность
3 – диэлектрическая подложка с проницаемостью материала εr
Входная согласующая электрическая цепь.
Необходимо узнать размеры микрополосковой линии
Эти размеры можно проследить из графика, приведенного ниже:
W/h = x – так соотносятся размеры микрополосковой линии
Соответственно:
R1 = 50
R2 = 2
ρ = √R1*R2
ρ = 10
Значит, размеры линии должны соотноситься как W/h = 17
т.о. при W = 1мм h = 17мм
Выходная согласующая электрическая цепь.
Также необходимо узнать размеры микрополосковой линии
Смотреть график выше
Соответственно:
R1 = 50
R2 = 6
ρ = √R1*R2
ρ = 17
Значит, размеры линии должны соотноситься как W/h = 11
т.о. при W = 1мм h = 11мм
Частотная модуляция. (ЧМ-ЧМ)
девиация частоты несущей 25 кГц
девиация частоты поднесущей – 1кГц
Двух ступенчатая модуляция, при которой модулируется сначала поднесущая довольно низкой частоты, а за тем этой поднесущей модулируют частоту несущей радиопередатчика.
В первой ступени модуляции сигнал, поступающий от источника информации, с помощью кодирующего устройства преобразуется в последовательность двоичных символов. В первом модуляторе логической 1 присваивается некоторая частота F1, а 0 – F2. Долее синусоидальный сигнал с частотой F1 и F2 во второй ступени модулирует с девиацией Δfдев частоту несущей радиопередатчика.
При выборе частот F1 и F2 необходимо обеспечить плавный переход (т.е. без скачка фазы) от сигнала с частотой F1 к сигналу с частотой F2. Это связано с тем, что при скачке фазы происходит ″размытие″ мгновенного спектра сигнала, что снижает помехоустойчивость приема и создает помехи другим система радиосвязи. К тому же, значения этих частот, а точнее соотношение между ними, должно быть таково, чтобы энергетический спектр промодулированного сигнала был сконцентрирован в возможной узкой полосе. Сигналы F1 и F2 должны быть ортогональны. Ортогональными называют сигналы, не перекрывающиеся во времени и с несовпадающими спектральными составляющими в частотном спектре.
Введем следующие понятия:
среднее значение частоты поднесущей - F0 = 0.5 * (F1 + F2)
разность или дискрет частоты – ΔF = F1 - F2
Тогда для частот определяющих 1 и 0 запишем соответственно:
F1 = F0 + 0.5* ΔF = KFτ
F2 = F0 - 0.5* ΔF = NFτ
Где Fτ = 1/τ – частота следования элементарных посылок;
K, N – числа показывающие , сколько периодов частоты поднесущей укладывается внутри элементарной посылки (причем K > N).
Температурный коэффициент.
Δf/f =ТКЧ * Δt
Δf/f –нестабильность частоты
Δf/f=10-5
ТКЧ кварц=10-6
Δt=10
Устройство должно работать при температуре от -10 до +40
Таким образом необходим термостат, который поддерживает температуру
-30 ÷+30
Характеристики
Тип файла документ
Документы такого типа открываются такими программами, как Microsoft Office Word на компьютерах Windows, Apple Pages на компьютерах Mac, Open Office - бесплатная альтернатива на различных платформах, в том числе Linux. Наиболее простым и современным решением будут Google документы, так как открываются онлайн без скачивания прямо в браузере на любой платформе. Существуют российские качественные аналоги, например от Яндекса.
Будьте внимательны на мобильных устройствах, так как там используются упрощённый функционал даже в официальном приложении от Microsoft, поэтому для просмотра скачивайте PDF-версию. А если нужно редактировать файл, то используйте оригинальный файл.
Файлы такого типа обычно разбиты на страницы, а текст может быть форматированным (жирный, курсив, выбор шрифта, таблицы и т.п.), а также в него можно добавлять изображения. Формат идеально подходит для рефератов, докладов и РПЗ курсовых проектов, которые необходимо распечатать. Кстати перед печатью также сохраняйте файл в PDF, так как принтер может начудить со шрифтами.
















