Лабораторная работа №6 (1086052)
Текст из файла
МОСКОВСКИЙ ГОСУДАРСТВЕННЫЙ ТЕХНИЧЕСКИЙ УНИВЕРСИТЕТ РАДИОТЕХНИКИ, ЭЛЕКТРОНИКИ И АВТОМАТИКИ
КАФЕДРА
РАДИОПРИЕМНЫХ УСТРОЙСТВ
УСТРОЙСТВА ПРИЕМА И ОБРАБОТКИ
РАДИОТЕХНИЧЕСКИХ СИГНАЛОВ
Лабораторная работа №6
«Исследование автоматической регулировки усиления »
Москва 2012
1. Цель работы
Целью работы является исследование инерционной автоматической регулировки усиления (АРУ) транзисторного приемника.
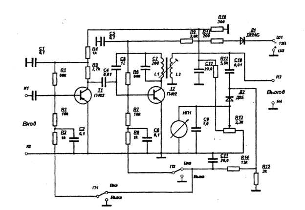
2. Описание лабораторного стенда
Схема лабораторного макета (рис. 1) представляет собой типовой усилитель промежуточной частоты (УПЧ) транзисторного приемника на двух биполярных транзисторах, охваченный системой АРУ. Первый каскад на транзисторе T1 представляет собой апериодический усилитель, а второй – на транзисторе Т2 – резонансный УПЧ.
Рис. 1.
Сигнал промежуточной частоты от генератора стандартных сигналов подаётся непосредственно на вход апериодического каскада. Регулировка усиления УПЧ осуществляется изменением режима работы транзисторов T1 и T2.
В качестве нагрузки транзистора Т2 используется резонансный контур в коллекторной цепи (L1, С7).
Выходное напряжение промежуточной частоты снимается с катушки связи L2 и подается на детектор АРУ.
Детектор АРУ собран по параллельной схеме. Схема детектора включает полупроводниковый диод Д2 и нагрузку (C10, R15). Потенциометр R13 служит для подачи регулируемого напряжения задержки. Величина его контролируется измерительным прибором. Цепь R14, С11 является фильтром АРУ. Переключатели П1 и П2 служат для подачи регулирующего напряжения в базовые цепи транзисторов. Диод Д1 предохраняет транзисторы от пробоя при неправильном включении источника питания. Резисторы R10, R11 образуют делитель, позволяющий получить на его выходе напряжение -9В, необходимое для питания типовой схемы УПЧ.
3. Содержание экспериментальной работы
3.1. Амплитудная характеристика двухкаскадного УПЧ.
Таблица 1
| Uвх | 100 мкВ | 10 мВ | 20 мВ | 30 мВ | 40 мВ | ||||||
| Uвых без АРУ | , В | 0,35 | 4,7 | 4,8 | 4,1 | 3,2 | |||||
| Uвых АРУ | , В | 0,16 | 3,0 | 3,3 | 3,4 | 3,2 | |||||
| Uвых при Eз=0,5 В | , В | 0,34 | 3,3 | 3,5 | 3,5 | 3,2 | |||||
| Uвых при Eз=1,5 В | , В | 0,4 | 3,6 | 3,8 | 3,8 | 3,2 | |||||
Рис. 1. Амплитудные характеристики.
3.2. Резонансная характеристика двухкаскадного УПЧ.
АРУ отсутствует. Таблица 2
|
| 211 | 211,5 | 212 | 216 | 246 | 282 | 350 |
|
| 5 | 4,5 | 4 | 0 | 30 | 66 | 134 |
| Uвых | 1,26 | 2,1 | 2,94 | 4,2 | 2,94 | 2,1 | 1,26 |
Рис. 2. Резонансная характеристика при отсутствии АРУ.
АРУ включена. Таблица 3
|
| 107 | 134 | 184 | 220 | 252 | 681 | 958 |
|
| 113 | 86 | 36 | 0 | 32 | 461 | 738 |
| Uвых | 0,63 | 1,05 | 1,47 | 2,1 | 1,47 | 1,05 | 0,63 |
Рис. 3. Резонансная характеристика при наличии АРУ.
Характеристики
Тип файла документ
Документы такого типа открываются такими программами, как Microsoft Office Word на компьютерах Windows, Apple Pages на компьютерах Mac, Open Office - бесплатная альтернатива на различных платформах, в том числе Linux. Наиболее простым и современным решением будут Google документы, так как открываются онлайн без скачивания прямо в браузере на любой платформе. Существуют российские качественные аналоги, например от Яндекса.
Будьте внимательны на мобильных устройствах, так как там используются упрощённый функционал даже в официальном приложении от Microsoft, поэтому для просмотра скачивайте PDF-версию. А если нужно редактировать файл, то используйте оригинальный файл.
Файлы такого типа обычно разбиты на страницы, а текст может быть форматированным (жирный, курсив, выбор шрифта, таблицы и т.п.), а также в него можно добавлять изображения. Формат идеально подходит для рефератов, докладов и РПЗ курсовых проектов, которые необходимо распечатать. Кстати перед печатью также сохраняйте файл в PDF, так как принтер может начудить со шрифтами.
, кГц
, кГц














