Лекция 13 (1084993), страница 2
Текст из файла (страница 2)
Напряжение смещения может подаваться от отдельного источника: химического элемента (батареи, аккумулятора) или выпрямителя, а также за счёт собственных токов электродов лампы (автоматическое смещение). При всех способах подачи напряжения смещения важно, чтобы величина его поддерживалась в нужных пределах.
При использовании отдельного источника смещения необходимо, чтобы его внутреннее сопротивление по постоянному току было малым. С этой целью параллельно выходу источника включают резистор R (рис.13.2,а). Полная величина напряжения смещения в такой схеме определяется падением напряжения на части резистора R:
где - ток источника напряжения смещения
через резистор R .
Точная формула для напряжения смещения в рассматриваемой схеме:
где - внутреннее сопротивление источника смещения по постоянному току.
Чтобы напряжение смещения практически не зависело от режима сетки, необходимо выполнить условие . На практике обычно выбирают
. Чем больше ток
, тем меньше величина R и больше требуемая мощность источника смещения. Данная схема подачи напряжения смещения применяется:
-
когда важно, чтобы напряжение смещения не зависело от режима;
-
в мощных генераторах, так как при такой схеме смещения при отсутствии напряжения возбуждения
лампа оказывается закрытой (или почти закрытой) и на электродах лампы практически не рассеивается мощность;
-
в генераторах на тетродах и пентодах, у которых
(в этом случае при выборе
приходится учитывать величину термотока сетки).
При катодном автосмещении (рис.13.2,б) величина напряжения смещения
где постоянная составляющая тока катода
- постоянная составляющая тока второй (экранной) сетки;
- сопротивление катодного автосмещения.
Такой способ смещения широко применяется в маломощных генераторах на триодах и в генераторах на тетродах и пентодах, где ток управляющей сетки практически отсутствует. В мощных генераторах катодное автосмещение находит ограниченное применение, так как на сопротивлении выделяется значительная мощность, что ухудшает температурный режим работы генератора. Кроме того, при реализации такой схемы часто требуется изоляция источника питания накала от земли (корпуса), поскольку этот источник находится под потенциалом
по отношению к земле (корпусу). При этом требуется более высоковольтный источник анодного напряжения
, так как часть напряжения этого источника теряется на сопротивлении
. Но катодное автосмещение хорошо тем, что ограничивает величину мощности, рассеиваемой на аноде в аварийном режиме, когда не подаётся возбуждение
.
Схема подачи смещения за счёт тока управляющей сетки (сеточное автосмещение) показана на рис.13.2,в. Величина напряжения смещения
В мощных генераторах нельзя применять сеточное автосмещение, так как при исчезновении возбуждения (обрыв цепи и др.) смещение становится равным нулю. При этом в анодной цепи протекает большой ток, и вся потребляемая от источника анодного питания мощность рассеивается на аноде. В то же время, сеточное автосмещение способствует стабилизации режима АЭ и генератора, так как увеличение сеточного тока приводит к увеличению отрицательного напряжения смещения, которое, в свою очередь, уменьшает сеточный ток. Поэтому в мощных генераторах часто применяют комбинированное смещение, когда часть напряжения смещения подаётся от отдельного источника, как в схеме (рис.13.2,а), или за счёт катодного автосмещения (рис.13.2,б), а остальная часть за счёт сеточного автосмещения.
В схемах (рис.13.2) под индуктивностью L следует понимать индуктивность катушки высокочастотного трансформатора Тр в случае последовательного питания сетки и индуктивность блокировочного дросселя при параллельном питании сетки.
В генераторах на биполярных транзисторах схемы подачи напряжения смещения реализуются аналогично ламповым, показанным на рис.13.2. При этом использование отдельного источника для подачи запирающего напряжения смещения практически не применяется. Аналогом катодного автосмещения в транзисторном генераторе является эмиттерное автосмещение, а аналогом сеточного автосмещения является базовое автосмещение. При эмиттерном и базовом автосмещении напряжение смещения является запирающим, что обеспечивает режимы работы транзистора с нижним углом отсечки коллекторного тока 90°. Подобные режимы работы нехарактерны для транзисторных генераторов.
У биполярных транзисторов есть ряд особенностей, которые существенно упрощают схемы смещения и схемы транзисторных генераторов в целом.
Так как статические вольт-амперные характеристики биполярных транзисторов, в отличие от электронных ламп, «правые», то напряжение смещения может подаваться с помощью делителя напряжения за счёт источника коллекторного питания , как показано на рис.13.3.
Напряжение смещения в такой схеме
Рис.13.3










































где - ток делителя напряжения источника коллекторного питания
;
- внутреннее сопротивление источника
по постоянному току.
Схема применяется в маломощных генераторах, как правило, для обеспечения недонапряжённого режима с углом отсечки коллекторного тока θ = 180° (класс А). В мощных генераторах велико, поэтому потребуется большое значение тока делителя
и, соответственно, увеличение мощности источника коллекторного питания. Поэтому в мощных генераторах, когда мощность, потребляемая по цепи коллекторного питания, и мощность, потребляемая резисторным делителем напряжения,
оказываются соизмеримы, применяют для подачи смещения отдельный источник напряжения. Обратим внимание, что в рассмотренной схеме (рис.13.3) обеспечивается отпирающее напряжение смещения.
В маломощных транзисторных генераторах важным является вопрос температурной стабилизации рабочей точки. Для этих целей часто используется схема рис.13.4. Температурная стабилизация осуществляется за счёт сопротивления в эмиттере
. Существуют транзисторы, у которых сопротивление температурной стабилизации изготовлено вместе с полупроводниковой структурой в одной упаковке-корпусе. Это сопротивление учитывается в эквивалентной схеме транзистора.
Напряжение смещения в схеме (рис.13.4) определяется выражением (13.2), к которому надо добавить слагаемое
В мощных транзисторных генераторах чаще всего применяют нулевое смещение ( ),2 то есть вообще обходятся без какого-либо источника для подачи смещения, что существенно упрощает схему генератора. При этом нижний угол отсечки коллекторного тока оказывается несколько меньше 90°.3
В генераторах на полевых транзисторах напряжение смещения подаётся от отдельного источника, либо за счёт постоянной составляющей тока истока (аналог катодного автосмещения, рис.13.2,б).
Схемы питания накала ламп
Питание накала ламп обычно осуществляется переменным током промышленной частоты 50 Гц.
Генераторные лампы существуют двух типов: прямонакальные и с подогревным катодом. Лампы с подогревным катодом – это обычно относительно маломощные и импульсные лампы. В таких лампах катод либо соединён с одним концом нити накала, либо полностью изолирован от него.
В озможная схема цепи питания накала лампы с подогревным катодом переменным током показана на рис.13.5,а. Напряжение накала
подаётся с обмотки накального трансформатора Тр. В прямонакальных лампах подобная схема (рис.13.5,б) не может быть использована, так как потенциал сетки оказывается разным относительно разных частей катода (нити накала), причём он будет изменяться с частотой переменного тока, питающего накал.
Действительно, результирующее напряжение между сеткой и левым выводом накала (катода)
а между сеткой и правым выводом накала (катода)
где - напряжение возбуждения;
- напряжение накала, изменяющееся с частотой 50 Гц.
Наличие между сеткой и катодом (накалом) переменного напряжения с частотой
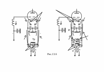
50 Гц вызывает нежелательную (паразитную) амплитудную модуляцию анодного тока, называемую фоном.4 Чтобы избавиться от этого, в прямонакальных лампах используют схемы питания накала, показанные на рис.13.6.
В схеме (рис.13.6,а) заземлена средняя точка у вторичной обмотки трансформатора накала, а в схеме (рис.13.6,б) создана «искусственная» средняя точка с помощью потенциометра R. В этих схемах потенциал сетки по отношению к левой и правой половинам нити накала (катода) изменяется на одну и ту же величину, но с разным знаком: