Шпора Сети (1084722), страница 3
Текст из файла (страница 3)
В данном примере сеть internet является очень простой. Реальные сети могут быть гораздо сложнее, так как могут содержать несколько шлюзов и несколько типов физических сред передачи. В приведенном примере несколько сетей Ethernet объединяются шлюзом для того, чтобы локализовать широковещательный трафик в каждой сети.
Правила маршрутизации в модуле IP
Выше мы показали, что происходит при передаче сообщений, а теперь рассмотрим правила или алгоритм маршрутизации.
Для отправляемых IP-пакетов, поступающих от модулей верхнего уровня, модуль IP должен определить способ доставки - прямой или косвенный - и выбрать сетевой интерфейс. Этот выбор делается на основании результатов поиска в таблице маршрутов.
Для принимаемых IP-пакетов, поступающих от сетевых драйверов, модуль IP должен решить, нужно ли ретранслировать IP-пакет по другой сети или передать его на верхний уровень. Если модуль IP решит, что IP-пакет должен быть ретранслирован, то дальнейшая работа с ним осуществляется также, как с отправляемыми IP-пакетами.
Входящий IP-пакет никогда не ретранслируется через тот же сетевой интерфейс, через который он был принят.
Решение о маршрутизации принимается до того, как IP-пакет передается сетевому драйверу, и до того, как происходит обращение к ARP-таблице.
Дистанционно-векторный протокол RIP
Построение таблицы маршрутизации
Протокол RIP (Routing Information Protocol) является внутренним протоколом маршрутизации дистанционно-векторного типа, он представляет собой один из наиболее ранних протоколов обмена маршрутной информацией и до сих пор чрезвычайно распространен в вычислительных сетях ввиду простоты реализации. Кроме версии RIP для сетей TCP/IP существует также версия RIP для сетей IPX/SPX компании Novell.
Для IP имеются две версии протокола RIP: первая и вторая. Протокол RIPvl не поддерживает масок, то есть он распространяет между маршрутизаторами только информацию о номерах сетей и расстояниях до них, а информацию о масках этих сетей не распространяет, считая, что все адреса принадлежат к стандартными классам А, В или С. Протокол RIPv2 передает информацию о масках сетей, поэтому он в большей степени соответствует требованиям сегодняшнего дня. Так как при построении таблиц маршрутизации работа версии 2 принципиально не отличается от версии 1, то в дальнейшем для упрощения записей будет описываться работа первой версии.
В качестве расстояния до сети стандарты протокола RIP допускают различные виды метрик: хопы, метрики, учитывающие пропускную способность, вносимые задержки и надежность сетей (то есть соответствующие признакам D, Т и R в поле «Качество сервиса» IP-пакета), а также любые комбинации этих метрик. Метрика должна обладать свойством аддитивности - метрика составного пути должна быть равна сумме метрик составляющих этого пути. В большинстве реализации RIP используется простейшая метрика - количество хопов, то есть количество промежуточных маршрутизаторов, которые нужно преодолеть пакету до сети назначения.
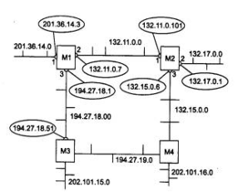
Рассмотрим процесс построения таблицы маршрутизации с помощью протокола RIP на примере составной сети, изображенной на рис. 5.26.
Рис. 5.26. Сеть, объединенная RIP-маршрутизаторами
Этап 1 - создание минимальных таблиц
В этой сети имеется восемь IP-сетей, связанных четырьмя маршрутизаторами с идентификаторами: Ml, М2, МЗ и М4. Маршрутизаторы, работающие по протоколу RIP, могут иметь идентификаторы, однако для работы протокола они не являются необходимыми. В RIP-сообщениях эти идентификаторы не передаются.
В исходном состоянии в каждом маршрутизаторе программным обеспечением стека TCP/IP автоматически создается минимальная таблица маршрутизации, в которой учитываются только непосредственно подсоединенные сети. На рисунке адреса портов маршрутизаторов в отличие от адресов сетей помещены в овалы.
Таблица 5.14 позволяет оценить примерный вид минимальной таблицы маршрутизации маршрутизатора Ml.
Таблица 5.14. Минимальная таблица маршрутизации маршрутизатора Ml
Минимальные таблицы маршрутизации в других маршрутизаторах будут выглядеть соответственно, например, таблица маршрутизатора М2 будет состоять из трех записей (табл. 5.15).
Таблица 5.15. Минимальная таблица маршрутизации маршрутизатора М2
Этап 2 - рассылка минимальных таблиц соседям
После инициализации каждого маршрутизатора он начинает посылать своим соседям сообщения протокола RIP, в которых содержится его минимальная таблица.
RIP-сообщения передаются в пакетах протокола UDP и включают два параметра для каждой сети: ее IP-адрес и расстояние до нее от передающего сообщение маршрутизатора.
Соседями являются те маршрутизаторы, которым данный маршрутизатор непосредственно может передать IP-пакет по какой-либо своей сети, не пользуясь услугами промежуточных маршрутизаторов. Например, для маршрутизатора Ml соседями являются маршрутизаторы М2 и МЗ, а для маршрутизатора М4 - маршрутизаторы М2 и МЗ.
Таким образом, маршрутизатор Ml передает маршрутизатору М2 и МЗ следующее сообщение:
сеть 201.36.14.0, расстояние 1;
сеть 132.11.0.0, расстояние 1;
сеть 194.27.18.0, расстояние 1.
Этап 3 - получение RIP-сообщений от соседей и обработка полученной информации
После получения аналогичных сообщений от маршрутизаторов М2 и МЗ маршрутизатор Ml наращивает каждое полученное поле метрики на единицу и запоминает, через какой порт и от какого маршрутизатора получена новая информация (адрес этого маршрутизатора будет адресом следующего маршрутизатора, если эта запись будет внесена в таблицу маршрутизации). Затем маршрутизатор начинает сравнивать новую информацию с той, которая хранится в его таблице маршрутизации (табл. 5.16).
Таблица 5.16. Таблица маршрутизации маршрутизатора M1
Записи с четвертой по девятую получены от соседних маршрутизаторов, и они претендуют на помещение в таблицу. Однако только записи с четвертой по седьмую попадают в таблицу, а записи восьмая и девятая - нет. Это происходит потому, что они содержат данные об уже имеющихся в таблице Ml сетях, а расстояние до них хуже, чем в существующих записях.
Протокол RIP замещает запись о какой-либо сети только в том случае, если новая информация имеет лучшую метрику (расстояние в хопах меньше), чем имеющаяся. В результате в таблице маршрутизации о каждой сети остаётся только одна запись; если же имеется несколько равнозначных в отношении расстояния путей к одной и той же сети, то все равно в таблице остается одна запись, которая пришла в маршрутизатор первая по времени. Для этого правила существует исключение - если худшая информация о какой-либо сети пришла от того же маршрутизатора, на основании сообщения которого была создана данная запись, то худшая информация замещает лучшую.
Аналогичные операции с новой информацией выполняют и остальные маршрутизаторы сети.
Этап 4 - рассылка новой, уже не минимальной, таблицы соседям
Каждый маршрутизатор отсылает новое RIP-сообщение всем своим соседям. В этом сообщении он помещает данные о всех известных ему сетях - как непосредственно подключенных, так и удаленных, о которых маршрутизатор узнал из RIP-сообщений.
Этап 5 - получение RIP-сообщений от соседей и обработка полученной информации
Этап 5 повторяет этап 3 - маршрутизаторы принимают RIP-сообщения, обрабатывают содержащуюся в них информацию и на ее основании корректируют свои таблицы маршрутизации.
Протокол IP решает задачу доставки сообщений между узлами составной сети. Протокол IP относится к протоколам без установления соединений, поэтому он не дает никаких гарантий надежной доставки сообщений. Все вопросы обеспечения надежности доставки данных в составной сети в стеке TCP/IP решает протокол TCP, основанный на установлении логических соединений между взаимодействующими процессами.
IP-пакет состоит из заголовка и поля данных. Максимальная длина пакета 65 535 байт, Заголовок обычно имеет длину 20 байт и содержит информацию о сетевых адресах отправителя и получателя, о параметрах фрагментации, о времени жизни пакета, о контрольной сумме и некоторых других. В поле данных IP-пакета находятся сообщения более высокого уровня, например TCP или UDP.
Вид таблицы IP-маршрутизации зависит от конкретной реализации маршрутизатора, но, несмотря на достаточно сильные внешние различия, в таблицах всех типов маршрутизаторов есть все ключевые поля, необходимые для выполнения маршрутизации.
Существует несколько источников, поставляющих записи в таблицу маршрутизации. Во-первых, при инициализации программное обеспечение стека TCP/ IP заносит в таблицу записи о непосредственно подключенных сетях и маршрутизаторах по умолчанию, а также записи об особых адресах типа 127.0.0.0. Во-вторых, администратор вручную заносит статические записи о специфичных маршрутах или о маршрутизаторе по умолчанию. В-третьих, протоколы маршрутизации автоматически заносят в таблицу динамические записи о имеющихся маршрутах.
Эффективным средством структуризации IP-сетей являются маски. Маски позволяют разделить одну сеть на несколько подсетей. Маски одинаковой длины используются для деления сети на подсети равного размера, а маски переменной длины - для деления сети на подсети разного размера. Использование масок модифицирует алгоритм маршрутизации, поэтому в этом случае предъявляются особые требования к протоколам маршрутизации в сети, к техническим характеристикам маршрутизаторов и процедурам их конфигурирования.
Значительная роль в будущем IP-сетей отводится технологии бесклассовой междоменной маршрутизации (CIDR), которая решает две основные задачи. Первая состоит в более экономном расходование адресного пространства - благодаря CIDR поставщики услуг получают возможность «нарезать» блоки разных размеров из выделенного им адресного пространства в точном соответствии с требованиями каждого клиента. Вторая задача заключается в уменьшении числа записей в таблицах маршрутизации за счет объединения маршрутов - одна запись в таблице маршрутизации может представлять большое количество сетей с общим префиксом.
Важной особенностью протокола IP, отличающей его от других сетевых протоколов, является его способность выполнять динамическую фрагментацию пакетов при передаче их между сетями с различными MTU. Это свойство во многом способствовало тому, что протокол IP смог занять доминирующие позиции в сложных составных сетях.
Билет №7
Логическая структуризация простой ЛВС. Мосты и коммутаторы. Логика работы. Ограничения, проблемы широковещательного шторма. Конструктивное исполнение.
Распространение трафика, предназначенного для компьютеров некоторого сегмента сети, только в пределах этого сегмента, называется локализацией трафика. Логическая структуризация сети - это процесс разбиения сети на сегменты с локализованным трафиком.
Для логической структуризации сети используются такие коммуникационные устройства, как мосты, коммутаторы, маршрутизаторы и шлюзы. Мост (bridge) делит разделяемую среду передачи сети на части (часто называемые логическими сегментами), передавая информацию из одного сегмента в другой только в том случае, если такая передача действительно необходима, то есть если адрес компьютера назначения принадлежит другой подсети. Тем самым мост изолирует трафик одной подсети от трафика другой, повышая общую производительность передачи данных в сети. Локализация трафика не только экономит пропускную способность, но и уменьшает возможность несанкционированного доступа к данным, так как кадры не выходят за пределы своего сегмента и их сложнее перехватить злоумышленнику.
На рис. 1.18 показана сеть, которая была получена из сети с центральным концентратором (см. рис. 1.17) путем его замены на мост. Сети 1-го и 2-го отделов состоят из отдельных логических сегментов, а сеть отдела 3 - из двух логических сегментов. Каждый логический сегмент построен на базе концентратора и имеет простейшую физическую структуру, образованную отрезками кабеля, связывающими компьютеры с портами концентратора.















