Щепотов А.Г., Строганов Д.А. Основы проектирования приборов и систем (1084500), страница 2
Текст из файла (страница 2)
а)
б)
в)
Рис. 2 Функциональные схемы объектов проектирования:
а - индуктивного измерительного прибора прямого преобразования (ИНДИП-ПП);б - индуктивного измерительного прибора уравновешивающего компенсационного преобразования (ИНДИП-КП);в - индуктивного измерительного прибора уравновешивающего следящего преобразования (ИНДИП-СП).
Параметры цепи подбираются так, чтобы общая статическая характеристика прибора совпадала с его желаемой статической характеристикой
, где
- показание прибора, или была достаточно близка к ней (в пределах допустимой погрешности). Для достижения высокой точности измерений все звенья прибора должны иметь малые погрешности, так как суммарная погрешность ИНДИП-ПП равна сумме погрешностей его звеньев.
ИНДИП-КП (рис. 2,б) содержат реверсивный двигатель
и цепь отрицательной обратной связи, куда входят редуктор
и дифференциальный компенсационный потенциометр
. Напряжение
с выхода индуктивного датчика после преобразования в цепи промежуточных преобразователей поступает в управляющую обмотку реверсивного двигателя
, что приводит к повороту вала двигателя на угол
, от величины которого зависит показание прибора
. Вал двигателя связан с подвижным контактом (щеткой) дифференциального компенсационного реохорда. При вращении вала она перемещается на величину
, от которой зависят сопротивления двух половин реохорда
и
, также включенных в схему моста. Направление перемещения щетки (и вала двигателя) таково, что с течением времени степень разбаланса моста уменьшается и в установившемся режиме становится равной нулю. Соответствующее установившееся показание прибора
зависит от измеряемой величины
. Зависимость
от
определяет статическую характеристику прибора . Такие приборы имеют более сложную конструкцию чем ИНДИП-ПП и меньшее быстродействие. Однако они могут обладать высокой точностью. Это связано с тем, что погрешности звеньев, охваченных отрицательной обратной связью, в меньшей степени сказываются на погрешности ИНДИП-КП, чем ИНДИП-ПП.
В ИНДИП-СП отрицательная обратная связь «заводится» непосредственно на вход прибора (рис.2,в). В этом случае перемещение якоря
, приводящее к разбалансу мостовой схемы, вызывает перемещение сердечника (корпуса
) в том же направлении и на ту же величину. В таком приборе увеличивается число звеньев, охватываемых отрицательной обратной связью, что ведет к дальнейшему повышению точности измерений. Однако приборы следящего преобразования (как и ИНДИП-КП) подвержены опасности потери устойчивости, что проявляется в возможности возникновения в них автоколебаний.
В зависимости от варианта задания в разрабатываемом приборе могут использоваться ДИП с переменной величиной воздушного зазора (ДЗИП), с переменной площадью воздушного зазора (ДПИП), или преобразователи соленоидного типа (ДСИП). На рис. 3 показаны принципиальные схемы этих устройств. Все они состоят из двух идентичных одинарных индуктивных преобразователей, имеющих общий якорь. При перемещении якоря сопротивление одного преобразователя (
) увеличивается, а другого (
) – уменьшается (см. рис. 10).
В зависимости от варианта задания, схема включения катушек может быть последовательно-симметричной или параллельно-симметричной (рис. 4). Последовательно-симметричная схема допускает использование низкоомных преобразователей, которые в случае их включения в ПОСМ шунтируют источник питания. Кроме того, эти схемы отличаются разной зависимостью напряжения в измерительной диагонали моста от сопротивлений катушек ДИП
и
(см. (2), (3)).
Рис. 3. Принципиальные схемы дифференциальных индуктивных преобразователей перемещения
а) б)
а) б)
Рис. 5. Компенсационные схемы включения катушек
:
а) последовательно-симметричная; б) параллельно – симметричная.
Если объектом проектирования является ИНДИП-КП, то схемы, показанные на рис. 4, дополняются дифференциальным (со средней точкой) компенсационным потенциометром
(рис. 5).
Принципиальная схема и конструкция конкретного варианта прибора разрабатываются самостоятельно путем сочетания базовых элементов прибора, указанных в индивидуальном варианте задания. Из них нужно «собрать» прибор заданного типа, предназначенный для измерения заданной физической величины.
На рис. 6, а показана схема датчика индуктивного акселерометра. В нем используется дифференциальный индуктивный преобразователь с переменной величиной воздушного зазора
. Его катушки 5 включаются в мостовую схему с помощью подводящих проводов 1, а роль инерционной массы выполняет якорь 4, закрепленный в центрах двух плоских пружин (мембран) 3, выполняющих роль упругого подвеса. Необходимое демпфирование обеспечивается вязкой жидкостью, заполняющей внутреннюю полость корпуса 1.
а) б)
Рис. 6. Пример конструкции индуктивных датчиков
а - ускорения; б – силы
На рис. 6,б показана схема датчика индуктивного динамометра. В нем измеряемое усилие воздействует на упругий элемент, выполненный в виде двух тарельчатых мембран 1, а в качестве основного измерительного преобразователя используется дифференциальный индуктивный преобразователь соленоидного типа (ДСИП) 2.
На рис. 7 показаны два варианта конструкции индуктивных датчиков давления. В датчике на рис. 7, а при изменении давления контролируемой среды
изменяется зазор между мембраной М и сердечником 3 полудифференциального индуктивного преобразователя. В результате изменяется индуктивность рабочей катушки преобразователя 1. Катушка 2 служит для компенсации влияющих факторов. Соединение датчика с последующими преобразователями осуществляется через электрический разъем 4. В таком датчике чувствительным элементом прибора является мембрана М, а предварительным преобразователем – трубопровод, соединяющий датчик с объектом измерений (на рис. 6, а не показан). Если трубопровод отсутствует (датчик ввертной), то предварительный преобразователь также отсутствует.
а б
Рис. 7. Варианты конструкции индуктивных преобразователей давления
В датчике на рис. 7, б чувствительным элементом является трубка Бурдона 3, с помощью которой давление контролируемой среды преобразуется в перемещение якоря 1 дифференциального соленоидного индуктивного преобразователя 2. Использование такого преобразователя способствует снижению погрешностей прибора
На рис. 8 показана схема индуктивного измерительного прибора следящего преобразования.
Рис. 8. Пример схемы ИНДИП – СП
При перемещении якоря 1 дифференциального индуктивного преобразователя с переменной площадью воздушных зазоров изменяются сопротивления катушек
и
. В результате нарушается равновесное состояние мостовой схемы включения СВ и в ее измерительной диагонали
появляется напряжение, зависящее от перемещения якоря
. ДПИП и СВ образуют дифференциальный индуктивный датчик. С помощью усилителя – преобразователя УП выходное напряжение датчика
преобразуется в напряжение
, поступающее в управляющую обмотку двигателя Д. С помощью кинематической передачи КП вал двигателя связан с корпусом ДИП, а с помощью редуктора Р - с отсчетным устройством ОУ. При вращении вала корпус ДИП перемещается в направлении, совпадающим с направлением измеряемого перемещения. По завершение переходного процесса устанавливается равенство перемещений
и восстанавливается равновесное состояние моста. Соответствующее показание прибора
является результатом измерений.
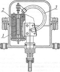
На рис. 9 показана схема индуктивного динамометра компенсационного преобразования. Измеряемое усилие
с помощью упругого элемента 1 преобразуется в перемещение
якоря дифференциального соленоидного индуктивного преобразователя (
) 2. Его катушки включены в параллельно - симметричную мостовую схему переменного тока (
). Пружина 3 обеспечивает необходимое измерительное усилие
(см. (11)). Цепь отрицательной обратной связи образована лентопротяжным механизмом
, а цепь
- редуктором, выходная ось которого связана со стрелочным отсчетным устройством
.
Рис. 4. Схемы включения 














