TOE_EXP (1082814), страница 2
Текст из файла (страница 2)
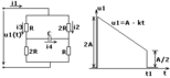
| t=0- iL(0-) = iL(0+) = iL(0) = i1(0) = E / (R1 + R3 + R4) = 252/151 = 1,67A uc(0-) = uc(0+) = Uc(0) = i1(0)R1 = 50,1В t=0+ i2(0) = i3(0) – i1(0) i3(0) = [E – uc(0) – R2i2(0)]/R3 i2(0) – (R2i2(0) / R3) = (E – uc(0) – i1R3)/R3 i2(0)(R2 + R3) = E – uc(0) – i1R3 i2(0) = [E – uc(0) – i1R3] / (R2 + R3) = 58,28 / 137 = 0,43A При t=0: di1/dt = [i2R2 – i1R1 + uc]/L = 21,93/0,097 = 226,08 i1(0) = A1 + A2 = 1,67A di1/dt = p1A1 + p2A2 = 226,08 - 43312,24 A1 - 87255,96 A2 = 0 A1 = 1,67 – A2 - 72331,44 = 43943,72 A2 A2 = - 0,6 A1 = 1,07 i1св = 1,07e – 87255,96* t - 0,6e – 43312,24* t A i1(t) = 2,17 + 1,07e – 87255,96* t - 0,6e – 43312,24* t A 2) Определить ток операторным методом (задача 1): Составим схему замещения для послекоммутационной цепи: E(p) .=` E/p J1(p) = J3(p) - J2(p) Li1(0) + uc(0)/p= J1(p)(R1 + pL) - J2(p)(R2 + 1/cp) E/p - uc(0)/p = J3(p)R3 + J2(R2 + 1/cp) Решая систему уравнений, получим: J3(p) = [E/p – uc(0)/p – J2(R2 + 1/cp)] / R3 J2(p) = [J1(R1 + pL) – Li1(0) – uc(0)/p] / (R2 + 1/cp) uc(0) = 50,1В i1(0) = 1,67A Решая систему уравнений, получаем J1(p) = 1,07/(p + 87255,96) - 0,6/(p+43312,24 ) + 2,17/p 1/(p + α) = e-αt => i1(t) = (2,17 + 1,07e – 87255,96* t - 0,6e – 43312,24* t)A 4) Рассчитать ток i4 с помощью интеграла Дюамеля (задача 2): Разность потенциалов u1 между зажимами заменяем веткой с противоположно-направленной ЭДС. i4уст = 0, т.к. конденсатор не пропускает постоянный ток i4(t) = Aept Комплексное сопротивление цепи Z(p) = 1/cp + 2*[R*2R/(R + 2R)] = 1/cp + 4R/3 = 0 p = - 3/4RC Через ветку с конденсатором проложена разность потенциалов: uc = E[R/(R+2R) - 2R/(2R+R)] = - E/3 По закону коммутации uc скачком не меняется: uc(0-) = uc(0+) = uc = - E/3 i4(0) = - uc(0)/(R + 2R) = E/4R = Ae0 = A При E=1, i4(t) = g4(t) = (e(-3/4RC)*t)/4R g4(t - τ) = (e(-3/4RC)*(t - τ))/4R Рассмотрим момент времени 0 ≤ t ≤ t1 u1 = A – kt u1' = - k i4(t) = u1(0) g4(t) + ∫u1'(τ) g(t – τ)dτ = [2A(e(-3/4RC)*t )/4R] + ∫-k*(e(-3/4RC)*(t - τ))/4Rdτ = = [A(e(-3/4RC)* t )/2R] – (ke-3t/4RC/4R)*∫e3τ/4RCdτ = = [A(e(-3/4RC)* t )/2R] – (ke-3t/4RC/4R)*[4RCe3t/4RC/3 – 4RC/3] = = [A(e(-3/4RC)* t )/2R] – [kC + ke-3t/4RCC]/3 Рассмотрим момент времени t ≥ t1 u2 = 0; u2' = 0 i4(t) = u1(0) g4(t) + ∫u1'(τ) g(t – τ)dτ + (u(t1) - 0) g4(t – t1) + ∫u2'(τ) g4(t – τ)dτ = = [A(e(-3/4RC)* t )/2R] – [Cke-3t/4RC(e3 t1/4RC – 1)/3] + (A/2)*(e(-3/4RC)*(t – t1))/4R + 0 = = [A(e(-3/4RC)* t )/2R] – [Cke-3t/4RC(e3 t1/4RC – 1)/3] + A e(-3/4RC)*(t – t1) / 8R |
















