МТ11-21010062 - Программа ФОЭП (1076395), страница 2
Текст из файла (страница 2)
Модуль 1 «Физические процессы в электровакуумных приборах» трудоемкостью 1,0 зачётной единицы, включает следующие виды аудиторных занятий: лекций – 21. В состав модуля также входит самостоятельная работа студентов для выполнения домашнего задания и подготовки к тестированию - 13.
В модуль 1 входят следующие разделы дисциплины.
Основные функции вакуума в электровакуумных приборах (ЭВП). Закономерности сорбционных процессов. Растворимость газов в твердом теле, стационарная и нестационарная диффузия газов в ЭВП. Законы Фика. Расчет распределения концентрации растворенного газа в твердом теле. Газопроницаемость оболочек ЭВП. Распыляемые и нераспыляемые геттеры в ЭВП.
Принципы формирования и управления потоками заряженных частиц. Электронная эмиссия, работа выхода. Электровакуумные системы с неоднородным объемным зарядом. Закон «степени 3/2». Первеанс электронного пучка. Модуляция и фокусировка электронных пучков. Движение электронов в аксиально-симметричных электрических полях. Электростатические электронные линзы: диафрагма, одиночная линза, иммерсионные линзы и объективы. Закон Лагранжа-Гельмгольца для электронной линзы. Магнитные электронные линзы. Электростатические и магнитные отклоняющие системы. Взаимодействие потоков частиц с поверхностью в ЭВП. Экраны. Параметры экрана: потенциал, яркость свечения, светоотдача, длительность послесвечения. Закон Ленарда.
Газовый разряд, основные явления. ВАХ, анализ. Виды электронных приборов на основе газового разряда. Использование газоразрядной плазмы для формирования ионных потоков.
В результате освоения содержания модуля «Физические процессы в электровакуумных приборах» обучающийся приобретет необходимые знания, умения и навыки, предусмотренные следующими компетенциями ИК-2, ИК-5, ЛК-2, ОП-1, ОП-2, ОП-3, ОП-4, ПТ-1, ПТ-5, НИ-1, ПСК-1, ПСК-2.
Модуль 2 «Электровакуумные приборы» трудоемкостью 0,7 зачётной единицы, включает следующие виды аудиторных занятий: лекций - 10. В состав модуля также входит самостоятельная работа студентов для выполнения домашнего задания и подготовки к тестированию - 7.
В модуль 2 входят следующие разделы дисциплины.
Электронно-лучевые трубки (ЭЛТ) различного назначения. Рентгеновские трубки. Электронно-оптические преобразователи (ЭОП).
Виды газоразрядных приборов. Газоразрядные экраны (плазменные панели).
Типы электронных пушек и электронных прожекторов для ЭВП. Конфигурации электронных пучков. Формирование пучков: ленточного, клиновидного, цилиндрического, конического.
Вакуумные сверхвысокочастотные (СВЧ) приборы. Лампы бегущей волны. Лампы обратной волны. Магнетроны. Клистроны. Гиротроны.
В результате освоения содержания модуля «Электровакуумные приборы» обучающийся приобретет необходимые знания, умения и навыки, предусмотренные следующими компетенциями ИК-2, ИК-5, ЛК-2, ОП-1, ОП-2, ОП-3, ОП-4, ПТ-1, ПТ-5, НИ-1, ПСК-1, ПСК-2.
Модуль 3 «Физические процессы в полупроводниковых структурах» трудоемкостью 0,7 зачётной единицы, включает следующие виды аудиторных занятий: лекций - 10. В состав модуля также входит самостоятельная работа студентов для выполнения домашнего задания и подготовки к тестированию - 7.
В модуль 3 входят следующие разделы дисциплины.
Формирование носителей заряда в полупроводниках. Зонная теория твердого тела. Основные полупроводниковые материалы. Зонные диаграммы полупроводников. Собственные и примесные полупроводники.
Статистика подвижных носителей заряда. Функции распределения Ферми-Дирака и Максвелла-Больцмана. Концентрация подвижных носителей заряда в собственных и примесных полупроводниках.
Управление проводимостью полупроводниковых структур. Основные физические величины идеального p-n-перехода. Смещение зонных диаграмм при прямом и обратном включении р-n-перехода. Физические процессы в диоде. Реальные ВАХ.
В результате освоения содержания модуля «Физические процессы в полупроводниковых структурах» обучающийся приобретет необходимые знания, умения и навыки, предусмотренные следующими компетенциями ИК-2, ИК-5, ЛК-2, ОП-1, ОП-2, ОП-3, ОП-4, ПТ-1, ПТ-5, НИ-1, ПСК-1, ПСК-2.
Модуль 4 «Полупроводниковые приборы» трудоемкостью 0,6 зачётной единицы, включает следующие виды аудиторных занятий: лекций - 10. В состав модуля также входит самостоятельная работа студентов для выполнения домашнего задания и подготовки к тестированию - 7.
В модуль 4 входят следующие разделы дисциплины.
Биполярный транзистор. Уравнение для токов в биполярном транзисторе. Зонные диаграммы. Усиление по току. Коэффициенты передачи тока эмиттера и тока базы. Режимы работы транзистора. Температурная стабильность биполярных транзисторов. Уравнение Эберса-Молла.
Полевой (униполярный) транзистор. Зонные диаграммы МОП - транзистора с индуцированным каналом. МДП - транзисторы со встроенным каналом. Полевые транзисторы с управляющим р-n – переходом. Статические характеристики полевых транзисторов. Температурная стабильность полевых транзисторов. Особенности технологии изготовления МОП-микросхем.
В результате освоения содержания модуля «Полупроводниковые приборы» обучающийся приобретет необходимые знания, умения и навыки, предусмотренные следующими компетенциями ИК-2, ИК-5, ЛК-2, ОП-1, ОП-2, ОП-3, ОП-4, ПТ-1, ПТ-5, НИ-1, ПСК-1, ПСК-2.
4.2. Практические занятия – семинары.
Практических занятий на семинарах не предусмотрено.
4.3. Лабораторные работы.
Лабораторных работ не предусмотрено.
4.4. Самостоятельная работа
Входной контроль готовности студента к освоению дисциплины в соответствии с п. 1.3 программы проводится по мере возникновения потребности в знания предшествующих дисциплин по результатам письменного контрольного тестирования на первых неделях занятий. Целью тестирования является установление уровня знаний, имеющегося у студента после изучения дисциплины Физика (модули «Физические основы термодинамики», «Электричество и магнетизм», «Электромагнитные волны и оптика», «Основы квантовой теории», «Физика твердого тела»).
Задание, как правило, содержит 2 задачи, на решение которых отводится 35-40 минут.
Типовое задание для оценки готовности студента к освоению дисциплины «Физические основы электронных приборов»:
Задача 1
Исходные данные:
-
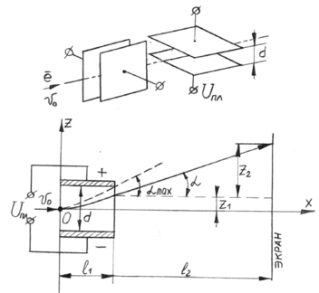
Отклоняющая система электронного пучка состоит из двух пар плоских параллельных пластин (рис.1);
-
Анодное напряжение для предварительного ускорения электронного пучка (UА);
-
Напряжение на пластинах (Uпл);
-
Геометрические параметры отклоняющей системы: d, l1,l2.
Определить:
-
Суммарное отклонение электронного пучка для одной пары пластин.
Рис.1. Схема отклоняющей системы
Решение:
1. Если пренебречь краевым эффектом, то E=Uпл/d. Рассмотрим движение электрона. Начальная скорость
, где UA - напряжение на аноде.
2. Уравнение движения электронов между пластинами:
;
Решая систему уравнений, получаем:
Электрон, двигаясь по параболе, к моменту выхода из пластин отклоняется на величину z1 и далее движется по касательной к экрану, отклоняясь на величину z2.
3. Суммарное отклонение равно:z=z1+z2.
Подставляя выражения для Е и v0, получим:
Подставляя выражения для E и v0, получим
и
Таким образом:
, где L-расстояние от середины пластины до экрана.
Задача 2
Исходные данные:
-
Материал p-n-перехода - германий, легированный бором B (
) и фосфором P (
). -
Концентрация собственных носителей заряда Ge
(для T=300 К).
Определить:
-
Зонные диаграммы p-n-перехода (рис. 2);
-
Высоту потенциального барьера
p-n-перехода без внешнего напряжения и при включении обратного внешнего напряжения (рис. 2).
Решение:
-
Концентрация собственных носителей заряда Ge
(для T=300 К). Если учесть, что все примесные атомы ионизированы, то
. Концентрации неосновных носителей
и
. Таким образом, высота потенциального барьера p-n-перехода без внешнего напряжения равна
. При включении обратного внешнего напряжения высота потенциального барьера p-n-перехода равна e (k + U) = e (0,36+ U). -
Строим зонные диаграммы и график концентрации неосновных носителей p-n-перехода (рис. 2).
Рис.2. Зонная диаграмма и концентрации неосновных носителей заряда p-n-перехода
По результатам входного контроля формируются задания для индивидуальной проработки студентами ранее пройденного материала, а также приложения к лекционному курсу, содержащие в краткой и адаптированной форме наиболее необходимы разделы предшествующих дисциплин.
4.4.1. Домашнее задание
| Модуль | Тема самостоятельной работы (виды заданий) | Трудо- емкость в час. | Срок выдачи задания | Срок сдачи зада ния | Форма контро ля | Рейти нговая оценка | Лите ратура |
| 4 семестр | |||||||
| М2 | Домашнее задание «Расчет электронных пушек» | 12 | 4 | 10 | Защита | 5 | [1] |
4.5. Подготовка к контрольным мероприятиям и их проведение
| Модуль | Контрольные мероприятия | Трудо-емкость, cам/ауд. (час.) | Контроль выполнения работы |
| 1 | Рубежный контроль по материалу модуля | 2/1 | Тест |
| 2 | Рубежный контроль по материалу модуля | 2/1 | Тест |
| 3 | Рубежный контроль по материалу модуля | 2/1 | Тест |
| 4 | Рубежный контроль по материалу модуля | 2/1 | Тест |
-
Научно-исследовательская работа
Научно-исследовательская работа не предусмотрена, поскольку проводится в рамках конструкторско-технологического практикума.
-
Рейтинговая система контроля освоения дисциплины
| Неделя проведения контроля модуля | Оценка за модуль в баллах | ||
| Минимальная | Максимальная | ||
| Семестр 4 | |||
| Модуль 1 | 4 | 20 | 34 |
| Модуль 2 | 8 | 14 | 22 |
| Модуль 3 | 13 | 13 | 22 |
| Модуль 4 | 16 | 13 | 22 |
Контрольные мероприятия в каждом модуле проводятся в виде письменных тестов, в рейтинговые баллы по модулю входит оценка по результатам теста, оценка за качество реферата или домашнего задания, оценка за инициативность, учитывается также своевременность выполнения всех разделов модуля.
Для получения положительной оценки знаний за модуль необходимо получить по крайней мере минимальное значение баллов за каждый его раздел. При выставлении итоговой оценки по дисциплине в семестре проводится пересчет баллов в оценки за контрольные мероприятия по рекомендациям Положения о модульно-рейтинговой системе Университета.
















