Полевой транзистор (1075600)
Текст из файла
Московский государственный технический университет
им. Н.Э.Баумана
Лабораторная работа №2
Исследование характеристик полевого транзистора.
Студентка группы БМТ1-51:
Магай Т. А.
Преподаватель:
Созинов Б. Л.
Москва 2007 год.
Цель - работы является освоение методов экспериментального исследования работы полевого транзистора с управляющим переходом в статическом и ключевом режимах работы.
Задачи работы - получить статические вольтамперные характеристики транзистора, на базе которых определяются его малосигнальные усилительные параметры, и в исследовании временных параметров выходного сигнала в зависимости от элементов схемы при работе транзистора в ключевом режиме.
Часть 1. Статические вольтамперные характеристики полевого транзистора.
1. Паспортные данные полевого транзистора КП302АМ:
1) Uзи отс=1...5 В - напряжение отсечки, обратное напряжение на затворе, при котором токопроводящий канал окажется перекрытым;
2) Iс=24 мА - ток стока;
3) Uси max=20В - максимально допустимое напряжение сток-исток;
4) S=5...12 (7В) мА/В - крутизна характеристики;
2
. Собираем схему для измерения статических вольтамперных характеристик полевого транзистора КП302АМ.
Рис.1 Принципиальная схема стенда для измерения семейства выходных характеристик полевого транзистора.
3. Проводим измерения семейства выходных характеристик полевого транзистора КП302АМ, включенного по схеме с общим истоком (ОИ):
Статическая выходная характеристика полевого транзистора в схеме ОИ представляет зависимость тока стока Iс от напряжения между стоком и истоком UСИ при постоянном напряжении между затвором и истоком UЗИ.
Полученные данные:
| Uси, В | Ic1, А | Ic2, А | Ic3, А | Ic4, А |
| 0 | 0 | 0 | 0 | 0 |
| 0,1 | 1,2•10־³ | 0,7•10־³ | 0,4•10־³ | 0,01•10־³ |
| 0,2 | 2,1•10־³ | 1,4•10־³ | 0,7•10־³ | 0,01•10־³ |
| 0,3 | 3•10־³ | 1,9•10־³ | 0,9•10־³ | 0,01•10־³ |
| 0,5 | 4,7•10־³ | 2,8•10־³ | 1•10־³ | 0,02•10־³ |
| 0,7 | 5,9•10־³ | 3,4•10־³ | 1,1•10־³ | 0,02•10־³ |
| 0,9 | 7•10־³ | 3,8•10־³ | 1,2•10־³ | 0,02•10־³ |
| 1 | 7,5•10־³ | 4•10־³ | 1,3•10־³ | 0,02•10־³ |
| 1,5 | 8,9•10־³ | 4,4•10־³ | 1,4•10־³ | 0,02•10־³ |
| 2 | 9,6•10־³ | 4,6•10־³ | 1,4•10־³ | 0,02•10־³ |
| 3 | 10,1•10־³ | 4,8•10־³ | 1,5•10־³ | 0,03•10־³ |
| 5 | 10,6•10־³ | 5•10־³ | 1,6•10־³ | 0,03•10־³ |
| 9 | 10,9•10־³ | 5,4•10־³ | 1,8•10־³ | 0,04•10־³ |
| 14 | 11•10־³ | 5,5•10־³ | 1,9•10־³ | 0,05•10־³ |
4. Проводим измерения статической передаточной (стоко-затворной) характеристики полевого транзистора КП302АМ в области полового изменения тока стока:
Полученные данные:
| Ic0, А | Uзи, В |
| 10,5•10־³ | 0 |
| 8•10־³ | -0,2 |
| 6,2•10־³ | -0,4 |
| 4,4•10־³ | -0,6 |
| 2,8•10־³ | -0,8 |
| 1,6•10־³ | -1 |
| 0,7•10־³ | -1,2 |
| 0,13•10־³ | -1,4 |
| 0,01•10־³ | -1,555 |
| 0 |
5. По измеренным статическим ВАХ полевого транзистора вычисляем мало сигнальные параметры в области полого изменения стока:
∆Uси
а) Выходное сопротивление r, Ом: r = ───
∆Ic
Г
рафик выходного сопротивления будем строить, исходя из тех участков выходной характеристики, где наклон кривой можно считать постоянным. Для расчета возьмем точки 11 и 13.
| Icк, А | r, Ом |
| 2,53•10־³ | 4 1,31•10 |
| 1,04•10־³ | 4 1,64•10 |
| -4 3,45•10 | 4 2,97•10 |
| -5 1,75•10 | 5 4,4•10 |
б) Крутизна транзистора КП302АМ:
| ∆Ic0, А | ∆Uзи, В | S1, см |
| 2,43•10־³ | 0,2 | 0,012 |
| 1,88•10־³ | 0,2 | 9,4•10־³ |
| 1,81•10־³ | 0,2 | 9,05•10־³ |
| 1,52•10־³ | 0,2 | 7,6•10־³ |
| 1,22•10־³ | 0,2 | 6,1•10־³ |
| -4 9,4•10 | 0,2 | 4,7•10־³ |
| -4 5,36•10 | 0,2 | 2,68•10־³ |
| -4 1,24•10 | 0,155 | -4 8•10 |
3) Коэффициент усиления:
| Ic ус к, А | Uзи ус к, В | r ус к1, Ом | Sk1, см | μ k1 | Ic k1, А | |
| 10־³ | -0,2 | 30000 | 4,54•10־³ | 136,36 | 2,53•10־³ | |
| 2•10־³ | -0,42 | 13000 | 8,69•10־³ | 113,04 | 1,4•10־³ | |
| 4•10־³ | -0,65 | 12000 | 7,4•10־³ | 88,89 | -4 3,45•10 | |
| 6•10־³ | -0,92 | 7000 | 0,011 | 77,78 | -5 1,75•10 | |
| 8•10־³ | -1,1 | |||||
Часть 2. Работа полевого транзистора в ключевом режиме.
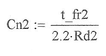
1. Собираем экспериментальный стенд для исследования работы полевого транзистора в ключевом режиме.
Р
ис. 2. Блок-схема лабораторной установки для исследования работы полевого транзистора в ключевом режиме.
Eп=15 В
Rd1=620 Ом
Rd=3000 Ом
x=1...15
2. На графике выходной характеристики при Uзи=0В наносим нагрузочные прямые:
Выходные напряжения и стоковые токи:
Uси Rd1=8В; Uси Rd2=0,55В; Ic Rd1=0.005А; Ic Rd2=0.024А;
3. Измеряем параметры выходного импульса ключевой схемы при Rd1=620 Ом:
В итоге получаем:
Осциллограммы входного (сверху) и выходного (снизу) импульсов ключевой схемы Rd1=620Ом.
Осциллограмма выходного импульса. Показаны уровни максимального и минимального сигналов: Umax=15В и Umin=8.2В при Rd1=620 Ом.
Осциллограмма выходного импульса при Rd1=620 Ом. Здесь обозначены уровни 0,1 и 0,9 максимального сигнала. По ним оценивается tфр и tсп.
-6 -6
В данном случае мы получили значения tфр0,14•10с и tсп=0,4•10с
Данные снимались при временной развертке осциллографа tразв=0,5мкс для первых двух графиков при сопротивлении Rd1, и при временной развертке tразв=0,2мкс для последнего графика.
4.Измерим параметры выходного импульса ключевой схемы Rd=3кОм.
Осциллограммы входного (сверху) и выходного (снизу) импульсов ключевой схемы при Rd2=3кОм.
Осциллограмма выходного импульса. Показаны уровни максимального и минимального сигналов: Umax=15В и Umin=0,5В при Rd2=3кОм.
Осциллограммы выходного импульса при Rd2=3кОм. На рисунке обозначены уровни 0,1 и 0,9 максимального сигнала.
-6 -6
В данном случае мы получили tфр=0,92•10 и tсп=0,36•10
Данные снимались при временной развертке осциллографа tразв=0,5 мкс для первых двух графиков при сопротивлении Rd2 и при временной развертке tразв=0,2 мкс для последнего графика.
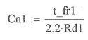
5. Вычисляем Сн для каждого случая:
12
Сн1•10 = 102,64 пФ
12
Сн2•10 = 139,39 пФ
Характеристики
Тип файла документ
Документы такого типа открываются такими программами, как Microsoft Office Word на компьютерах Windows, Apple Pages на компьютерах Mac, Open Office - бесплатная альтернатива на различных платформах, в том числе Linux. Наиболее простым и современным решением будут Google документы, так как открываются онлайн без скачивания прямо в браузере на любой платформе. Существуют российские качественные аналоги, например от Яндекса.
Будьте внимательны на мобильных устройствах, так как там используются упрощённый функционал даже в официальном приложении от Microsoft, поэтому для просмотра скачивайте PDF-версию. А если нужно редактировать файл, то используйте оригинальный файл.
Файлы такого типа обычно разбиты на страницы, а текст может быть форматированным (жирный, курсив, выбор шрифта, таблицы и т.п.), а также в него можно добавлять изображения. Формат идеально подходит для рефератов, докладов и РПЗ курсовых проектов, которые необходимо распечатать. Кстати перед печатью также сохраняйте файл в PDF, так как принтер может начудить со шрифтами.















