Полевой (1075513)
Текст из файла
10
Министерство образования Российской Федерации
Московский государственный технический университет
им. Н.Э.Баумана
__________________________________________________________________________
ЛАБОРАТОРНЫЙ ПРАКТИКУМ ПО КУРСУ
”Электроника и микропроцессорная техника”
(часть 1)
для студентов - факультета БМТ
ИССЛЕДОВАНИЕ ХАРАКТЕРИСТИК полевого ТРАНЗИСТОРА.
Созинов Б.Л.
Кафедра РАДИОЭЛЕКТРОННЫЕ СИСТЕМЫ И УСТРОЙСТВА
__________________________________________________________________________
Москва 2005 год
Целью работы является освоение методов экспериментального исследования работы полевого транзистора с управляющим переходом в статическом и ключевом режимах работы. Задачами работы состоят в получении статических вольтамперных характеристик транзистора, на базе которых определяются его малосигнальные усилительные параметры, и в исследовании временных параметров выходного сигнала в зависимости от элементов схемы при работе транзистора в ключевом режиме.
Часть 1. Статические вольтамперные характеристики полевого транзистора.
-
Ознакомиться с паспортными данными полевого транзистора, тип которого указан на лабораторном макете «Полупроводниковые приборы». Приготовить график-заготовку для нанесения экспериментальных точек семейства выходных характеристик полевого транзистора.
Справочные данные на ряд типов полевых транзисторов приведен в приложении. Из них следует выбрать и перенести в рабочую тетрадь параметры заданного транзистора. На базе паспортных данных, как и для биполярного транзистора, строится график-заготовка для нанесения экспериментального семейства выходных характеристик полевого транзистора. При его приготовлении учитывайте, что максимальные токи стока IС.МАКС полевых транзисторов, используемых в лабораторных макетах, не превышают 20 мА, а максимальное напряжение на стоке ограничено возможностью лабораторного источника питания 15 В (максимальное напряжение источника напряжения типа «Марс»).
-
Собрать схему для измерения статических вольтамперных характеристик полевого транзистора.
Используя лабораторный макет с полупроводниковыми приборами, стандартные измерительные приборы с цифровой индикацией и источники постоянного напряжения типа «Марс», собрать схему для измерения статических вольтамперных характеристик полевого транзистора, показанную на рис. 1. Подсоединение измерительных приборов, источников питания и соединение узлов на лабораторном макете проводится с помощью проводников и перемычек. При составлении схемы обращайте внимание на правильное включение полярности источников питания. До начала проведения экспериментальных работ собранная схема должна быть проверена преподавателем или техническим сотрудником лабораторного зала.
Р
ис. 1. Схема для измерения статических ВАХ полевого транзистора.
-
Провести измерения семейства выходных характеристик полевого транзистора, включенного по схеме с общим истоком (ОИ).
Статическая выходная характеристика полевого транзистора в схеме ОИ представляет зависимость тока стока IС от напряжения между стоком и истоком UСИ при постоянном напряжении между затвором и истоком UЗИ. Первую характеристику из семейства следует получить для напряжения на затворе UЗИ =0 В. Для этого надо непосредственно соединить затвор перемычкой с общим проводом макета (перемычку оторвать от клеммы 13 и соединить с общим проводом макета). Далее постепенно повышать от нуля напряжение источника питания выходной цепи (правый источник на схеме) и при этом измерять ток стока IС. Рекомендуется на первом этапе (в области крутого изменения стокового тока) брать шаг изменения напряжения на стоке UСИ менее 1 В. После достижения напряжения насыщения UСИ.НАС. и измерении соответствующему ему начального тока стока IС.НАЧ. шаг приращения напряженияUСИ может быть увеличен. Все результаты измерений непосредственно отражать на графике-заготовке и одновременно в рабочей тетради в виде таблицы. Максимальное напряжение на стоке ограничивается либо допустимой рассеиваемой мощностью (гипербола на графике-заготовке), либо возможностями источника питания выходной цепи.
После измерения выходной характеристики для UЗИ =0 В необходимо восстановить схему: между выводом затвора и клеммой 13 поставить перемычку.
Аналогично провести измерения выходных характеристик для напряжения на затворе UЗИ= -0.5 В, -1 В, -1.5 В, которые устанавливаются регулировкой напряжения источника питания входной цепи (левый источник на схеме).
-
Провести измерения статической передаточной (стоко-затворной) характеристики полевого транзистора в области пологого изменения тока стока.
Статическая стоко-затворная характеристика полевого транзистора представляет зависимость тока стока IC от напряжения на затворе UЗИ при постоянном напряжении на стоке UСИ. Для измерения ее в области пологого изменения тока стока установите напряжение на стоке UСИ= 5В регулировкой напряжения источника питания выходной цепи (левый источник на схеме). Подайте напряжение на затвор порядка -5 В., чтобы ток стока IC был бы равен нулю. Медленно уменьшайте напряжение на затворе UЗИ до появления тока стока IC (на уровне 10 –100 мкА). Примите это напряжение за напряжение отсечки UЗ.ОТС. и запишите его величину в своей рабочей тетради. Далее уменьшайте напряжение на затворе UЗИ с шагом 0.2 – 0.4 В. и измеряйте соответствующие им токи стока IC. Результаты измерений записывайте в рабочую тетрадь в виде таблицы, по которым по окончанию измерений постройте график и представьте его преподавателю..
-
По измеренным статическим ВАХ полевого транзистора вычислить мало сигнальные параметры в области полого изменения тока стока.
К числу основных мало сигнальных параметров полевого транзистора относятся выходное сопротивление r ( r= UСИ/IС при постоянном напряжении на затворе UЗИ), крутизна S ( S=IС/UЗИ при постоянном напряжении на стоке) и коэффициент усиления (=UСИ/UЗИ при постоянном токе стока). Выходное сопротивление r определяется по семейству выходных характеристик, крутизну S – по стоко-затворной характеристике, а коэффициент усиления вычисляется как =S*r. Построить зависимости изменения выходного сопротивления r и крутизны S в зависимости от тока стока при напряжении Uси>Uси.нас.
Часть 2. Работа полевого транзистора в ключевом режиме.
-
Соберите экспериментальный стенд для исследования работы полевого транзистора в ключевом режиме.
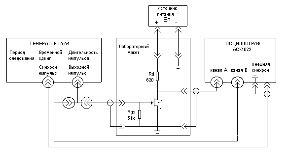
Блок-схема экспериментальной установки для исследования работы полевого транзистора в ключевом режиме приведена на рис. 2.
Р
ис. 2. Блок-схема лабораторной установки для исследования работы полевого транзистора в ключевом режиме.
На лабораторном макете «Полупроводниковые приборы» необходимо собрать схему электронного ключа на полевом транзисторе, который в исходном положении должен находится в замкнутом состоянии. Для этого затвор полевого транзистора соедините через резистор Rgs=51 кОм (на макете R5) с общим проводом, к которому также следует подсоединить исток транзистора. Первоначально установите в стоковой цепи резистор Rd=620 Ом (на макете R1) и подведите к схеме от лабораторного источника питания напряжение Еп=15 В. При подсоединении источника питания соблюдайте правильную подачу полюсов напряжений (+ к сопротивлению Rd, - к общему проводу макета).
Управляющее напряжение электронным ключом является выходное импульсное напряжение от измерительного генератора Г5-54. Установите период следования его выходных импульсов равный Тсл=100 мкс (частота следования Fсл=10 кГц), временной сдвиг выходного импульса относительно синхроимпульса tзд=0.5 мкс, а длительность импульса tимп=2.5 мкс. Выходной импульс должен быть отрицательной полярности и иметь амплитуду Um.вх.=5 В. Используя коаксиальный «тройник» на выходе генератора, подведите его выходной импульс с помощью коаксиальных кабелей на вход электронного ключа и на один из Y-входов двухканального осциллографа типа АСК1022. При использовании коаксиальных кабелей, один из концов которых оканчивается двумя проводниками со штырями, то более длинный конец соединен с внешним проводом коаксиала. Этот провод должен быть соединен с общим проводом макета («земля») и осциллографа.
По Y-входам осциллографа используйте «открытые» входы, позволяющие измерять как переменные, так и постоянные напряжения. Синхронизацию развертки осциллографа установите внешним сигналом, которым является синхроимпульс генератора Г5-54. Длительность развертки выберете приблизительно равной 4 – 6 мкс. Настройте режим работы осциллографа так, чтоб на экране было бы устойчивое изображение импульсного сигнала от генератора Г5-54. Замерьте по осциллографу его параметры (длительность и амплитуду), сравните их с показаниями по лимбам генератора Г5-54.
На второй Y-вход осциллографа подайте выходное напряжение ключевой схемы (напряжение между стоком и истоком). Так как коаксиальный кабель не согласован с входным сопротивлением осциллографа, то его распределенная емкость выступает в дальнейших экспериментах в роли нагрузочного конденсатора. Величина этого конденсатора определяется по результатам эксперимента.
-
Определите стационарные выходные напряжения ключа в замкнутом состоянии для двух значений резистора Rd в стоковой цепи.
Для определения выходного напряжения «ключа» в исходном положении следует на выходной характеристике транзистора, полученной в первой части работы, построить нагрузочные прямые для Rd1=620 Ом и Rd2=3 кОм и напряжении питания Еп=15 В. Точки пересечения нагрузочных прямых с выходной характеристикой, снятой при напряжении между затвором и истоком Uзи=0 В, определяют выходные напряжения Uси.о(Rd1) и Uси.о(Rd2) и соответствующие им стоковые токи Ic(Rd1) и Ic(Rd2) транзистора. С приходом управляющего импульсного сигнала транзистор запирается и напряжение на выходе ключевой схемы по окончанию переходного процесса становится равным напряжению питания Еп. Поэтому амплитуда Um выходного импульса определяется как
Um=Еп-Uси.о
На этом этапе длительность переходного процесса определяется временем перезаряда конденсатора нагрузки Сн от Uси.о до Еп через резистор Rd. Если оценивать длительность tфр переднего фронта выходного импульса как время, в течении которого напряжение на выходе возрастает от уровня (Uси.о+0.1*Um) до уровня (Uси.о+0.9*Um), то оно определяется как
tфр=2.2*Rd*Cн (1)
Данное соотношение является основой для определения емкости Сн по результатам последующих экспериментов.
-
Измерить параметры выходного импульса ключевой схемы при Rd=620 Ом.
Для работы ключевой схемы включить источник питания и установить напряжение Еп=15 В. На экране осциллографа получить одновременно осциллограммы входного и выходного напряжений ключевой схемы, как показано на рис. 3.
Рис. 3. Осциллограммы выходного и входного импульсов ключевой схемы.
Зарисовать осциллограммы в рабочую тетрадь. Для измерения параметров выходного импульса оставить на экране осциллографа только его изображение и подобрать усиление по соответствующему Y-входу осциллографа так, чтоб его максимальный уровень был бы не менее 4-х клеток. При измерении уровней напряжений плавная регулировка усиления по Y- входам осциллографа должны стоять в крайнем положении по часовой стрелке.
Рис. 4. К измерению максимального и минимального импульсного выходного напряжения ключевой схемы.
Для измерения временных параметров, меняя усиление («дискретно» и «плавно») по Y- входу, добейтесь, чтоб амплитуда выходного импульса составляла условную «1», изображенную на экране осциллографа АСК ( при использовании осциллографов типа С1- получите амплитуду величиной в 5 клеток). Разместите осциллограмму так, чтобы нижний уровень амплитуды располагался на условном «0», верхний уровень на условной «1», начало импульса соответствовало одному из пересечений вертикальных и горизонтальных линий экрана. Используя обозначенные уровни «0.1» и «0.9» на экране осциллограф АСК, замерьте длительности переднего фронта tфр и спада заднего фронта tсп, как показано на рис. 5.
Рис. 5. К измерению временных параметров выходного импульса ключевой схемы.
По измеренной длительности переднего фронта tфр и используя соотношение (1), вычислите емкость Сн.
-
Измерить параметры выходного импульса ключевой схемы при Rd=3 кОм.
Замените в стоковой цепи ключевой схемы резистор с 620 Ом на 3 кОм. Восстановите ручки регулировки плавного усиления по Y-входам осциллографа в крайнее положение по часовой стрелке. Получите на экране осциллографа одновременно изображения входного и выходного импульсов. Убедитесь, что при длительности импульса tимп =2.5 мкс максимальное напряжение выходного импульса становиться практически равным напряжению питания Еп=15 В, т.е. переходной процесс на переднем фронте оказывается законченным. В противном случаи увеличите длительность выходного импульса генератора Г5-54. Обратите внимание на качественное изменение поведения заднего фронта выходного импульса ключевой схемы. Зарисуйте осциллограммы входного и выходного импульсов в рабочую тетрадь.
Для измерения параметров выходного импульса повторите операции, как и в предыдущем опыте. По измеренной длительности переднего фронта tфр и используя соотношение (), вычислите емкость Сн.
-
Обсудите полученные результаты по измерению параметров выходного импульса при изменении величины резистора Rd.
По проделанной работе индивидуально каждым студентом оформляется отчет, в котором следует привести:
-
Цель и задачи работы.
-
паспортные данные исследуемого транзистора.
-
Схемы и методику по измерению статических ВАХ транзистора.
-
Результаты экспериментальных измерений.
-
Способы определения мало сигнальных параметров полевого транзистора и их зависимости от тока стока в области его полого изменения.
-
Схемы и методику по измерению параметров выходного импульса ключевой схемы на полевом транзисторе.
-
Результаты измерений параметров выходного импульса ключевой схемы с объяснением видов переходных процессов.
Характеристики
Тип файла документ
Документы такого типа открываются такими программами, как Microsoft Office Word на компьютерах Windows, Apple Pages на компьютерах Mac, Open Office - бесплатная альтернатива на различных платформах, в том числе Linux. Наиболее простым и современным решением будут Google документы, так как открываются онлайн без скачивания прямо в браузере на любой платформе. Существуют российские качественные аналоги, например от Яндекса.
Будьте внимательны на мобильных устройствах, так как там используются упрощённый функционал даже в официальном приложении от Microsoft, поэтому для просмотра скачивайте PDF-версию. А если нужно редактировать файл, то используйте оригинальный файл.
Файлы такого типа обычно разбиты на страницы, а текст может быть форматированным (жирный, курсив, выбор шрифта, таблицы и т.п.), а также в него можно добавлять изображения. Формат идеально подходит для рефератов, докладов и РПЗ курсовых проектов, которые необходимо распечатать. Кстати перед печатью также сохраняйте файл в PDF, так как принтер может начудить со шрифтами.















