Исследование вольтамперных характеристик полевого транзистора (1075449), страница 2
Текст из файла (страница 2)
Рисунок2.Зависимость крутизны транзистора от тока стока.
Далее построим зависимость коэффициента усиления от тока стока:
Рисунок3.Зависимость коэффициента усиления от тока стока.
Анализ данных результатов проведем в разделе «обсуждение полученных результатов».
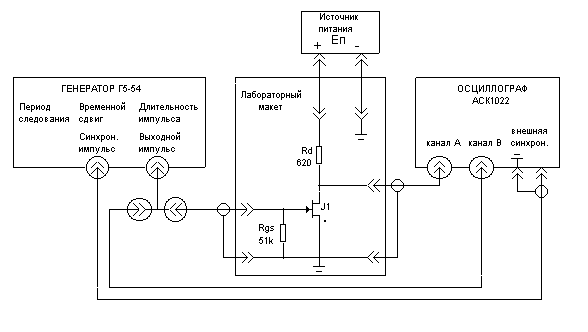
Исследование ключевого режима работы транзистора.
Блок-схема экспериментальной установки для исследования работы полевого транзистора в ключевом режиме приведена на рисунке 4.
Рисунок 4. Блок-схема лабораторной установки для исследования работы полевого транзистора в ключевом режиме.
Определим стационарные выходные напряжения ключа в замкнутом состоянии для двух значений резистора Rd в стоковой цепи (для Rd1=620 Ом и Rd2=3кОм). Для этого строим нагрузочные кривые, соответствующие сопротивлениям Rd1 и Rd2, на графике выходных характеристик транзистора (см. рисунок 5).
Рисунок 5. Определение стационарных выходных напряжений ключа в замкнутом состоянии для двух значений резистора Rd в стоковой цепи (для Rd1=620 Ом и Rd2=3кОм).
Из рисунка 5 видно, что U2си=0.8 В, а U1си=10.5 В. С приходом управляющего импульсного сигнала транзистор запирается и напряжение на выходе ключевой схемы по окончанию переходного процесса становится равным напряжению питания Еп (Eп=15 В). Поэтому амплитуда Um выходного импульса определяется как
Umi=Еп-Uси(Rdi);
Таким образом Um1=4.5 В, а Um2=14.2 В.
На этом этапе длительность переходного процесса определяется временем перезаряда конденсатора нагрузки Сн от Uси.о до Еп через резистор Rd. Если оценивать длительность tфр переднего фронта выходного импульса как время, в течении которого напряжение на выходе возрастает от уровня (Uси(Rdi)+0.1*Umi) до уровня (Uси(Rdi)+0.9*Umi), то оно определяется как
tфрi=2.2*Rdi*Cн (*)
Методика измерения параметров выходного импульса ключевой схемы при Rd1=620 Ом и Rd2=3 кОм.
Для работы ключевой схемы включить источник питания и установить напряжение Еп=15 В. На экране осциллографа получить одновременно осциллограммы входного и выходного напряжений ключевой схемы, как показано на рисунке 6.
Рисунок 6. Осциллограммы выходного и входного импульсов ключевой схемы.
Для измерения параметров выходного импульса оставить на экране осциллографа только его изображение и подобрать усиление по соответствующему Y-входу осциллографа так, чтоб его максимальный уровень был бы не менее 4-х клеток. При измерении уровней напряжений плавная регулировка усиления по Y- входам осциллографа должны стоять в крайнем положении по часовой стрелке.
Рискнок 7. Измерение величин максимальной и минимальной амплитуд выходного сигнала.
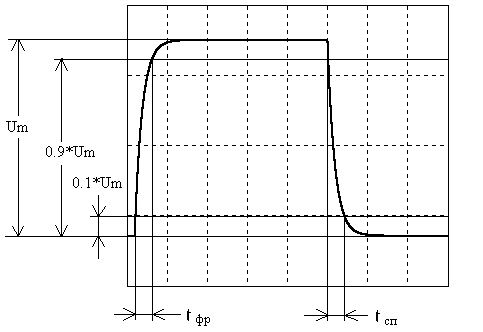
Для измерения временных параметров, меняя усиление («дискретно» и «плавно») по Y- входу, добейться, чтоб амплитуда выходного импульса составляла условную «1», изображенную на экране осциллографа АСК ( при использовании осциллографов типа С1- получить амплитуду величиной в 5 клеток). Разместить осциллограмму так, чтобы нижний уровень амплитуды располагался на условном «0», верхний уровень на условной «1», начало импульса соответствовало одному из пересечений вертикальных и горизонтальных линий экрана. Используя обозначенные уровни «0.1» и «0.9» на экране осциллограф АСК, замерить длительности переднего фронта tфр и спада заднего фронта tсп, как показано на рисунке 8.
Рисунок 8. Измерение временных параметров выходного сигнала.
Результаты измерений:
Пусть Nmax и Nmin - количечтво делений для максимальной и минимальной амплитуд соответственно, Z-цена деления, тогда (Uзи=5 В>Uотс.зи):
А)Rd1=620 Ом;
Nmax=7,5 ; Nmin=5,2; Z=2 В/дел; →
Umin=10,4 В Umax=15 В.
Б) Rd2=3000 Ом;
Nmax=15 ; Nmin=0,8; Z=1 В/дел; →
Umin=0,8 В Umax=15 В.
Пусть Kфр и Kсп - количечтво делений по оси времени для преднего и заднего фронтов соответственно, Z-цена деления, N-кратность растяжения по оси времени, тогда:
А)Rd1=620 Ом; Б) Rd2=3000 Ом;
Кфр=4,4 ; Ксп=4,4; Кфр=5, N=1 ; Ксп=8,7 , N=10;
Z=0.5мкс/дел; N=10 → Z=0.2мкс/дел; →
ti=(Кi*Z)/N; → ti=(Кi*Z)/N; →
tфр=0,22 мкс tсп=0,22 мкс. tфр=1,00 мкс tсп=0,17 мкс.
По полученным значениям длительности передних фронтов и выражению (*) определим Cн1 и Сн2:
Сн1=tфр1/(2.2*Rd1)=161 пФ; Сн2=tфр2/(2.2*Rd2)=151 пФ;
Таким образом, Сн1≈Сн2=155 пФ;
«Обсуждение полученных результатов»
В целом, полученные опытные данные достаточно хорошо согласуются с теорией, что подтверждается серией выходных характеристик транзистора, представленных на графике1, где очевидным является уменьшение тока стока Ic насыщения с увеличением напряжения затвор-исток Uзи, а при превышении Uзи значения напряжения отсечки Uотс.зи (1.35 В) происходит переход транзистора из активного режима в режим отсечки.
Передаточная характеристика близка к идеальной, что видно из графика2, т.е. с уменьшением модуля напряжения Uзи при постоянном напряжении сток-исток Uси происходит увеличение тока стока Ic.
Поведение полученых в результате обработки опытных данных малосигнальных параметров транзистора в области пологого изменения тока стока (Uси>Uнас.си) также отражает реальные процессы, происходящие в транзисторе в данном режиме работы, т.е. с увеличением тока стока Ic происходит падение выходного сопротивления Rвых и увеличение крутизны S (снимаемых при постоянном напряжении Uзи и Uси соответственно), как это видно из рисунков 1 и 2.
Оптимальное значение коэффициента усиления m лежит в пределах Ic<1мА и Ic≈Ic.нас=7мА.
Работа транзистора в ключевом режиме была проанализирована на примере двух значений сопротивления нагрузки Rd1=620 Ом и Rd2=3кОм. Согласно полученным значениям минимальных амплитуд выходного сигнала с увеличением сопротивления нагрузки происходит уменьшение напряжения рабочей точки Uси(Rdi), что также видно из рисунка 5. Увеличение длительности переднего фронта приблизительно в 5 раз с увеличением соответственно сопротивления нагрузки от 620 Ом до 3 кОм обусловлено увеличением времени переходного процесса, определяемого формулой t=Cн*Rd. Таким образом, переходной процесс в случае большей нагрузки едва успевает окончиться, в то время как в случае с меньшей нагрузкой значение напряжения питания Eп достигается значительно быстрее из-за непродолжительности переходного процесса, что и видно из результатов опыта.
Длительность заднего фронта уменьшается, т.к. c увеличением нагрузки уменьшается значение постоянной (Eп-Ic*Rd) , к которой будет стремиться экспоненциальное падение напряжения на выходе в результате разрядки конденсатора Cн.
















