пояснительная записка (1074509), страница 9
Текст из файла (страница 9)
АЛУ № 1:
АЛУ № 2:
Регистр С:
Мультиплексор С:
Мультиплексор А2:
Мультиплексор ЗнС:
Буферный элемент:
При У12=0 данные на вход АЛУ будут идти от старшей части слова А. При У12=1 данные на вход АЛУ будут идти от младшей части слова А.
Микросхемы АЛУ соединены по схеме простого пульсирующего переноса, так как от АЛУ не требуется максимального быстродействия.
При У12=0 и У25=0 на знаковый (самый старший) разряд регистра С будет подаваться запомненный ЗнА, а на остальные разряды – информация с остальных выходов самого регистра С.
При У12=1 и У25=0 на знаковый (самый старший) разряд регистра С будет подаваться
, а на остальные разряды – информация с остальных выходов самого регистра С.
Сигнал
формируется на элементе ИСКЛЮЧАЮЩЕЕ ИЛИ из сигналов ЗнА и ЗнВ.
При У25=1 на регистр С будет подаваться информация с выходов АЛУ.
Новая информация будет занесена в регистр С при У26=1 по положительному перепаду сигнала У28.
При У26=0 независимо от сигнала У28 информация будет хранится в регистре.
Сигнал У19 всегда инвертируется и подается на вход управления третьим состоянием у буферных элементов. Только при У19=1 разрешается запись из регистра С в выходную шину.
Схема операционного элемента № 10 представлена на рисунках №14.1 и №14.2 (это две части одного большого рисунка, не поместившегося на одну страницу).
Синтез операционного элемента № 11
Операционный элемент № 11 состоит из:
-
АЛУ, состоящего их двух одинаковых микросхем АЛУ, и предназначенного для выполнения всех арифметических и логических микроопераций, использующийся в обобщенной микропрограмме (кроме операций со счетчиком)
-
регистра D, предназначенного для временного хранения результатов арифметических и логических операций на словами А и В
-
мультиплексора A2, состоящего из двух одинаковых мультиплексоров, и позволяющего подавать на вход АЛУ и старшую и младшую часть слова А
Ниже приведена таблица, которая показывает, какие значения появляются на входах микросхем АЛУ, регистра D и мультиплексора А2 при подаче управляющих сигналов.
После таблицы приведены функциональные зависимости значений входов микросхем АЛУ, регистра D и мультиплексоров А2 от управляющих сигналов.
| Управляющие сигналы | Микрооперация | АЛУ № 1 | АЛУ № 2 | Регистр D | Мультиплексор А2 | ||||||||||||||||
| S3 | S2 | S1 | S0 | M | S3 | S2 | S1 | S0 | M | S0 | S1 | DSR | DSL | C | S | ||||||
| У26, У29 | D:=A(11:6) | 1 | 0 | 0 | 0 | 0 | 0 | * | 0 | 0 | 0 | 0 | 0 | 1 | 1 | * | * | 1 | 1 | 0 | 0 |
| У26, У29, У20, У22, У24 | D:=B | 1 | 1 | 0 | 1 | 0 | 1 | * | 1 | 0 | 1 | 0 | 1 | 1 | 1 | * | * | 1 | 1 | 0 | 0 |
АЛУ № 1:
АЛУ № 2:
Регистр D:
Мультиплексор А2:
При У12=0 данные на вход АЛУ будут идти от старшей части слова А. При У12=1 данные на вход АЛУ будут идти от младшей части слова А.
Микросхемы АЛУ соединены по схеме простого пульсирующего переноса, так как от АЛУ не требуется максимального быстродействия.
Новая информация будет занесена в регистр D при У26=1 по положительному перепаду сигнала У29.
При У26=0 независимо от сигнала У29 информация будет хранится в регистре.
Схема операционного элемента № 11 представлена на рисунках №15.1 и №15.2 (это две части одного большого рисунка, не поместившегося на одну страницу).
Таблица истинности операционного элемента № 12
Операционный элемент № 12 состоит из:
-
счетчика, который считает количество сдвигов при выполнении операции "деление"
-
инвертора одного из управляющих сигналов счетчика, так как счетчик срабатывает по заднему фронту поступившего синроимпульса
Ниже приведена таблица, которая показывает, какие значения появляются на входах счетчика при подаче управляющих сигналов.
После таблицы приведены функциональные зависимости значений входов счетчика от управляющих сигналов.
R1:=У30
Выбранная микросхема счетчика представляет собой счетчик-делитель частоты на 2, на 6 и на 12. Если соединить выход счетчика Q0 и его второй синхровход C1, то получится счетчик-делитель частоты на 12. Причем после окончания действия на синровходе C0 шестого синхроимпульма на выходе Q3 установится и будет держаться высокий логический уровень. Такое свойство счетчика очень удобно – сигнал с выхода Q3 счетчика формирует осведомительный сигнал Сч=6, который нужен обобщенной микропрограмме для определения конца операции "деление".
При подаче на данный операционный элемент сигнала У30 и при условии, что B1=1 (то есть выполняется операция "деление"), счетчик сбрасывается в начальное состояния.
Схема операционного элемента № 12 представлена на рисунке № 16.
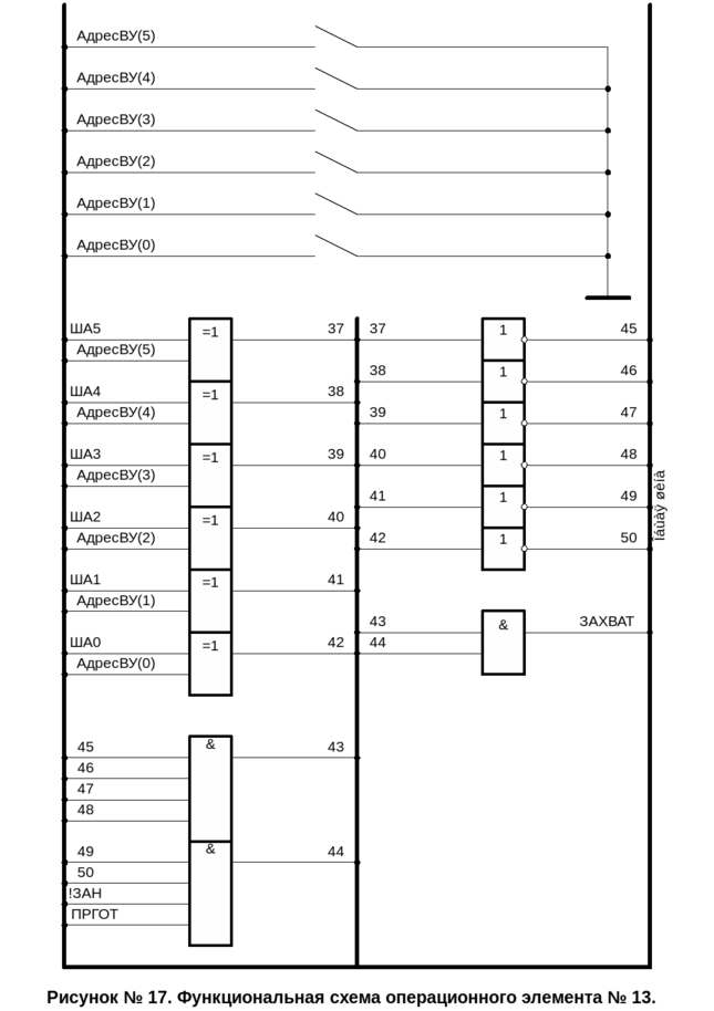
Синтез операционного элемента № 13
Операционный элемент № 13 состоит из:
-
шести переключателей, которыми устанавливается адрес данного вычислительного устройства (Т)
-
схемы сравнение адреса на шести элементах ИСКЛЮЧАЮЩЕ ИЛИ
-
схемы вычисления логического условия
и формирования осведомительного сигнала ЗАХВАТ
В схеме сравнения адреса используются ТТЛ-элементы, у которых по умолчанию на входе находится логическая единица, поэтому все переключатели включены так, что во включенном состоянии заземлять соответсвующий вывод элемента ИСКЛЮЧАЮЩЕЕ ИЛИ и тем самым подавать на него уровень логического нуля.
Таким образом, если переключатель находится в разомкнутом состоянии, то в соответсвующем разряде адреса ВУ находится логическая единица; если переключатель находится в замкнутом состоянии, то в соответсвующем разряде адреса ВУ находится логический ноль.
Схема операционного элемента № 13 представлена на рисунке № 17
8. Разработка структурной схемы операционного автомата
Структурная схема операционной автомата разрабатывается на основе обобщенной микропрограммы (лист 1), списка микроопераций, списка логических условий (пункт №5 данного документа).
При разработке структурной схемы учитываются возможности конкретных микросхем, которые в дальнейшем будут использованы при разработке функциональной схемы операционной части вычислительного устройства. Также учитывается необходимость выполнения некоторых служебных функций (выдача логических условий на входы устройства управления, проверка совпадения адреса устройства и адреса на адресной шине, выработка сигнала "захват") Кроме того, предусмотрена выдача на шину выхода служебных флагов (ГОТ, ЗАН, РЕЗ, ЗАПР)). Триггеры установки этих флагов обозначены на структурной схеме как Т1 – Т4 соответственно.
К каждому регистру на данной схеме подводится набор, управляющих сигналов, которые определяют режим его работы: хранение, запись, сдвиг вправо, сдвиг влево – необязательно все эти режимы.
Нам понадобятся следующие регистры А(11:6), А(5:0), В, С, D, Е.
Регистры А(11:6) и А(5:0) применяются для хранения и сдвига влево соответсвенно старшей и младшей частей двойного слова А (первого операнда).
















