Литье. исправлено (1073595), страница 9
Текст из файла (страница 9)
Толщина стенок. Для поверхностей, которые подвергаются механической обработке, назначают припуски до 0,3 до 0,5 мм.
Значения минимально допустимых толщин стенок отливки в зависимости от размеров их поверхности приведены в таблице.
Таблица 1. Минимальная толщина стенок отливок, получаемых литьем под давлением.
| Поверхно-сти отливок в см2 | Минимально допустимая толщина стенок для цинкового сплава | Минимально допустимая толщина стенок для магниевого сплава | Минимально допустимая толщина стенок для алюминиевого сплава | Минимально допустимая толщина стенок для медного сплава |
| менее 25 | 0,8 | 10,3 | 1,0 | 1,5 |
| до 150 | 1,0 | 1,8 | 1,5 | 2,0 |
| до 250 | 1,5 | 2,5 | 2,0 | 3,0 |
| свыше 250 | 2,0 | 3,0 | 2,5 | 3,5 |
Механические свойства отливок, полученных под давлением, значительно отличаются от свойств отливок, изготовленных другими способами литья. При быстром охлаждении у отливок образуется литейная корочка с очень мелкозернистой структурой, толщина которой составляет около 0,5-1,0 мм. Поэтому тонкостенные отливки имеют мелкозернистую структуру, повышенную прочность и твердость на 20-30 % при одновременном снижении пластических свойств на 30-50% по сравнением с литьем в землю.
Пористость, вскрывающаяся при механической обработке, становится причиной брака большого числа отливок. Источниками пористости являются усадка сплава, воздух, который захватывается потоком жидкого металла в полости формы, и газы выделяющиеся из жидкого металла. Переход на литье под давлением снижает трудоемкость изготовления отливок в 10-12 раз в литейных и 5-8 раз в механических цехах.
Развитие массового производства в оптико-механической промышленности в некоторой степени способствовало широкому внедрению литья под давлением. Корпуса фотоаппаратов и биноклей, детали биноклей, микроскопов, геодезических приборов, спецдеталей – вот далеко не полный перечень применения литья под давлением в этой промышленности.
Отливки составляют почти половину всех деталей оптико-механических приборов.
Рис. Диаграмма процесса заполнения формы
Особенности способа. Процесс литья под давлением осуществляется в три фазы: 1 – медленное движение плунжера до момента поступления сплава в литниковую систему, воздух из камеры через полость формы выгоняется в атмосферу; II – заполнение сплавом с большой скоростью полости формы; III – затвердевание отливки (см. рис. 4.3).
Рис 4.3.
Соответственно, с каждой фазой изменяется давление в рабочей полости цилиндра прессования, а значит и давление на жидкий сплав. Обычно цикл литья описывается диаграммой давление-время, которая представлена на рис.4.3. Штриховой линией показана диаграмма идеального цикла. В течение 1 фазы действует низкое давление р1, всего несколько атмосфер, хотя энергетическая установка машины обычно развивает давление до 120 кгс/см 2.
а)
б)
Рис. 4.4. Виды заполнения.
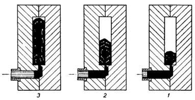
Величина р1 зависит от сопротивления сплава, оказываемого плунжеру при его движении. В момент, когда плунжер достигнет точки 1 сплав входит в литниковую систему, сечение которой значительно меньше сечения камеры. В этот же момент значительно увеличивается скорость плунжера. Так как через литниковую систему сплав проходит с большим сопротивлением, то и давление возрастает до величины р2 (около 10 кгс/cм 2) и удерживается на таком уровне до точки 2, когда закончится заполнение формы. В течение второй фазы сплав заполняет форму в доли секунды (0,01-0,06) при скорости впуска металла от 2 до120 м/с. В зависимости от скорости впуска различают три вида заполнения: ламинарным сплошным потоком рис.4.4.а, турбулентным потоком рис.4.4,б и дисперсным потоком. Из-за большой скорости впуска только часть газа (10-30%) удаляется из полости формы, которая заполнена воздухом и парами смазки. Оставшийся газ смешивается со сплавом, образуется воздушно-металлическая смесь, которая затем и затвердевает. Поэтому отливки, полученные под давлением, имеют специфический, присущий только этому способу дефект – обширную газовую пористость. Отливки имеющие такую пористость, нельзя закаливать, потому что при нагревании под закалку прочность металла падает, давление газа в порах увеличивается до величины, при которой происходит осповидное вздутие поверхности отливки.
В момент окончания заполнения полости формы (точка 2) движущая система – жидкий сплав, прессующий плунжер, мгновенно останавливается. Энергия движения преобразуется в энергию давления, происходит гидравлический удар, величина которого ргу обычно в два раза больше, чем давление в аккумуляторе. Гидравлический удар полезен и в тоже время вреден.
Полезное его действие заключается в том, что быстро повышенное давление прижимает жидкий сплав к рабочей поверхности формы и способствует четкому оформлению конфигурации отливки, как говорят «чеканит» ее поверхности.
Вредное действие гидроудара заключается в том, что процесс колебания давления при гидроударе способствует коагуляции мелких газовых раковин в крупные, что значительно снижает качество отливок. Кроме того, под действием гидроудара подвижная полуформа может отойти от неподвижной. Между полуформами образуется зазор через который происходит разбрызгивание металла. На отливках образуется облой по разъему формы, и снижается точность отливок в направлении, перпендикулярном разъему формы. Обычно для получения высоких скоростей впуска применяют тонкие щелевые питатели, которые затвердевают раньше, чем затухнет гидроудар. Отливка отделяется от жидкого прессостатка. Питание из прессостатка в камере прессования, который мог бы служить прибылью прекращается. Затвердевание происходит без компенсации усадки жидким сплавом, в стенках, кроме газовых, появляются усадочные поры.
Таким образом, в отливке, полученной литьем под давлением наблюдается как газовая, так и усадочная пористость. Это главный недостаток способа литья под давлением.
Совершенствование этого исключительно прогрессивного по точности и производительности способа литья направлено на предупреждение газовой и усадочной пористости. Известны следующие направления: 1) вакуумирование полости формы, а также сплава, поскольку воздушная пористость является главным дефектом отливок, 2) Осуществление передачи статического давления через толстые питатели из камеры прессования на сплав в форме (процесс передачи статического давления в полость формы назвали подпрессовкой). Высокое давление должно компенсировать усадочную пористость, то есть отливка формируется при направленном затвердевании, и сжимать газовую пористость до микроскопических размеров. Микропоры при нагреве отливки под закалку не вздуваются. 3) Совместное использование первого и второго направлений. 4) Заполнение полости формы кислородом перед началом заливки. Кислород используется на окисление сплава с образованием очень малого количества окислов.
В настоящее время первое и четвертое направления не нашли широкого применения по двум причинам. Во-первых из- за технической сложности их реализации в производственных условиях, во- вторых названные способы устраняют газовую пористость и не позволяют компенсировать усадочную пористость.
В мире получил развитие второй способ, для реализации которого создавалось большое разнообразие механизмов прессования.
При литье под давлением на машине с холодной вертикальной камерой устройство пресс- формы аналогично устройству формы, показанной на рис. 28. В смазанную вертикальную камеру прессования 1 (рис. 29 а) заливают дозу сплава 2. При движении вниз плунжер 3 давит на сплав, перемещает вниз поршень 6, а в результате чего открывается отверстие 5, соединяющее камеру с пресс-формой, после заполнения которой плунжер поднимается, а специальный механизм поднимает поршень 6, при этом отрезаются литник и прессостаток поднимается наверх.
Рис. 29. Схема литья под давлением с вертикальной камерой прессования.
В настоящее время, хотя в цехах и много еще машин с вертикальной камерой, но они вытесняются машинами с горизонтальной камерой, так как последние производительнее, проще в обслуживании и легче механизируются.
Литье под давлением начиналось с машин с горячей камерой прессования, когда в 1838 году они были применены для изготовления литер с изображением букв для газетопечатных машин.
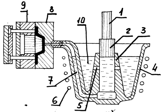
Машина с горячей камерой (рис.30) имеет тигель 4, обогреваемый нагревателями 6, в который расплав 10 заливается из раздаточной печи. Прессующий плунжер 2 через шток 1 соединяется с поршнем пневмоцилиндра, при работе которого плунжер опускается вниз, перекрывает отверстия 5, через которые расплав поступает в камеру прессования 3. Под давлением плунжера металл поднимается по каналу 7 и заливает полость формы, состоящей из неподвижной части 8 и подвижной 9. Конструкция формы аналогична рассмотренной на рис. 28.
На машинах с горячей камерой изготовляют отливки из цинковых сплавов, температура которых около 430С. Применение горячекамерных машин для переработки алюминиевых сплавов сдерживалось из-за низкой стойкости камеры и плунжера, так как алюминиевые сплавы имеют большую температуру (около 700С) и склонны к разъеданию поверхности камеры и плунжера.
Рис. 30. Схема литья под давлением с горячекамерной машиной.
Основное преимущество горячекамерной машины – это простота процесса и легкость автоматизации. Поэтому в последние годы велись поиски материала для камеры и плунжера, который противостоял бы воздействию горячего алюминиевого сплава. Создано несколько конструкций машин, работающих на алюминиевых и магниевых сплавах.
6.Центробежное литье
При центробежном литье осуществляют заливку сплава во вращающуюся форму. Форма может быть металлическая или разовая. Можно изготавливать детали типа труб или колец, а также и фасонные отливки. В приборостроении центробежное литье применяют для изготовления фасонных отливок в формах, полученных по выплавляемым моделям. При этом используется центробежная установка с вертикальной осью вращения, как это показано на рис. 32. Формы 2 устанавливаются на стол 1, после чего он приводится во вращение и расплав заливается в заливочную чашу 3 откуда под действием центробежной силы поступает в полость формы. Вращение стола продолжается до полного затвердевания отливок.
Рис. 32. Схема центробежного литья.
















