Задание 14, вариант 4 (1072788)
Текст из файла
Московский Государственный Технический Университет им. Н.Э.Баумана
| Выполнила: | Принял: |
| Студентка группы ИУ5-54 | |
| Салихов Р.М. ____________ | Билибин К.И. ____________ |
| "__"__________2008г. (подпись) | "__"__________ 2008г. (подпись) |
Домашнее задание
по курсу
"Технология проектирования электронной аппаратуры"
Москва, 2008 г.
Оглавление:
Условие задания 3
Расчетная часть 5
Условие собираемости 5
Линейные смещения 5
Угловые отклонения 6
Выбор схемы базирования и определение фактических погрешностей базирования 6
1-ая схема базирования: 6
2-ая схема базирования 7
Проверка пригодности схемы базирования: 8
Точность сборочного приспособления: 9
Силовой расчет 9
Конструирование сборочного приспособления 10
Эскиз сборочного приспособления 10
Описание работы приспособления: 12
Условие задания
Задание 14
Вариант 4
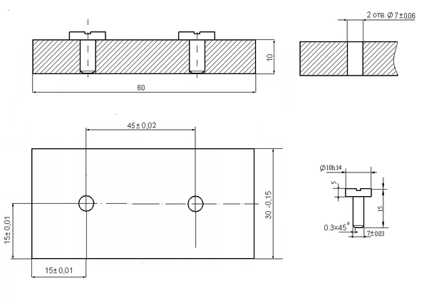
Для сборочной единицы (a) , состоящей из 2-х деталей (b) и (c) определить:
1.Условие собираемости (найти допустимую погрешность базирования)
2.Предложить две схемы базирования деталей и найти фактическую погрешность базирования
3.Определить точность сборочного приспособления , которая обеспечит собираемость деталей
4.Предложить конструктивный вариант сборочного приспособления (эскиз)
5.Сделать силовой расчет
Расчетная часть
Условие собираемости
Линейные смещения
εzдоп не влияет на условия собираемости
ε0 доп = Δxy = √((Δx)2 + (Δy)2) = √(0.345 2 + 0.345 2) = 0.49 мм
Угловое смещение
Рассчитаем угол отклонения α одного из штырей:
Для оси ОХ
Для оси ОY
Допустимый угол поворота оси вала относительно оси отверстия равен
по направлению осей OX и OY
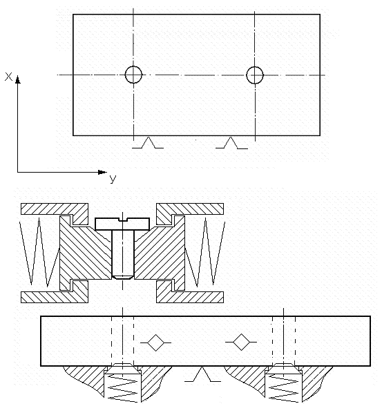
Выбор схемы базирования и определение фактических погрешностей базирования
1-ая схема базирования:
Базирование по различным поверхностям:
Фактические погрешности:
– Для левого отверстия
– Для правого отверстия
Наибольшее взаимное смещение осей детали для данной схемы базирования:
2-ая схема базирования
Базирование на утапливаемые конические поверхности
.
Фактические погрешности:
– Для левого отверстия
– Для правого отверстия
Наибольшее взаимное смещение осей детали для данной схемы базирования:
Проверка пригодности схемы базирования:
Схема будет выбрана верно если будут выполнены условия:
Для базирования по различным поверхностям:
0.48 > 0.03 – верно => выбранная схема обеспечит сборку деталей
Для базирования на конические утапливаемые поверхности :
0.48 > 0,02 – верно => выбранная схема также обеспечит сборку деталей
Для разработки нашего приспособления будем использовать базирование на конические утапливаемые поверхности , т.к. суммарная фактическая погрешность базирования для этой схемы меньше, чем схемы базирования по различным поверхностям.
Точность сборочного приспособления:
Определим суммарный допуск на размеры деталей, входящих в приспособление:
По оси ОХ:
По оси ОУ:
Силовой расчёт
Q = Fтр k , k – коэффициент запаса ( 1.5 )
Fтр – сила трения от сборочной единицы
Fтр = Gf , G – сила веса сборочной единицы и шибера ( 20 кг)
f – коэффициент трения между сборочной единицей и столом
приспособления (0.3)
Q = Sq -
, q – давление в пневмосети (5 кг / см*2 )
S – площадь поршня
Подставляя в формулу для расчета Q, получим:
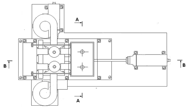
Конструирование сборочного приспособления
Эскиз сборочного приспособления
Вид сверху
Фронтальный разрез B-B
Вибробункер
Разрез A-A
Характеристики
Тип файла документ
Документы такого типа открываются такими программами, как Microsoft Office Word на компьютерах Windows, Apple Pages на компьютерах Mac, Open Office - бесплатная альтернатива на различных платформах, в том числе Linux. Наиболее простым и современным решением будут Google документы, так как открываются онлайн без скачивания прямо в браузере на любой платформе. Существуют российские качественные аналоги, например от Яндекса.
Будьте внимательны на мобильных устройствах, так как там используются упрощённый функционал даже в официальном приложении от Microsoft, поэтому для просмотра скачивайте PDF-версию. А если нужно редактировать файл, то используйте оригинальный файл.
Файлы такого типа обычно разбиты на страницы, а текст может быть форматированным (жирный, курсив, выбор шрифта, таблицы и т.п.), а также в него можно добавлять изображения. Формат идеально подходит для рефератов, докладов и РПЗ курсовых проектов, которые необходимо распечатать. Кстати перед печатью также сохраняйте файл в PDF, так как принтер может начудить со шрифтами.
















